在不改变原有录放性能的前提下,对L601型磁带录音机稍加改装,就能成为一个录放—扩音两用机,在一些场合下使用非常方便。
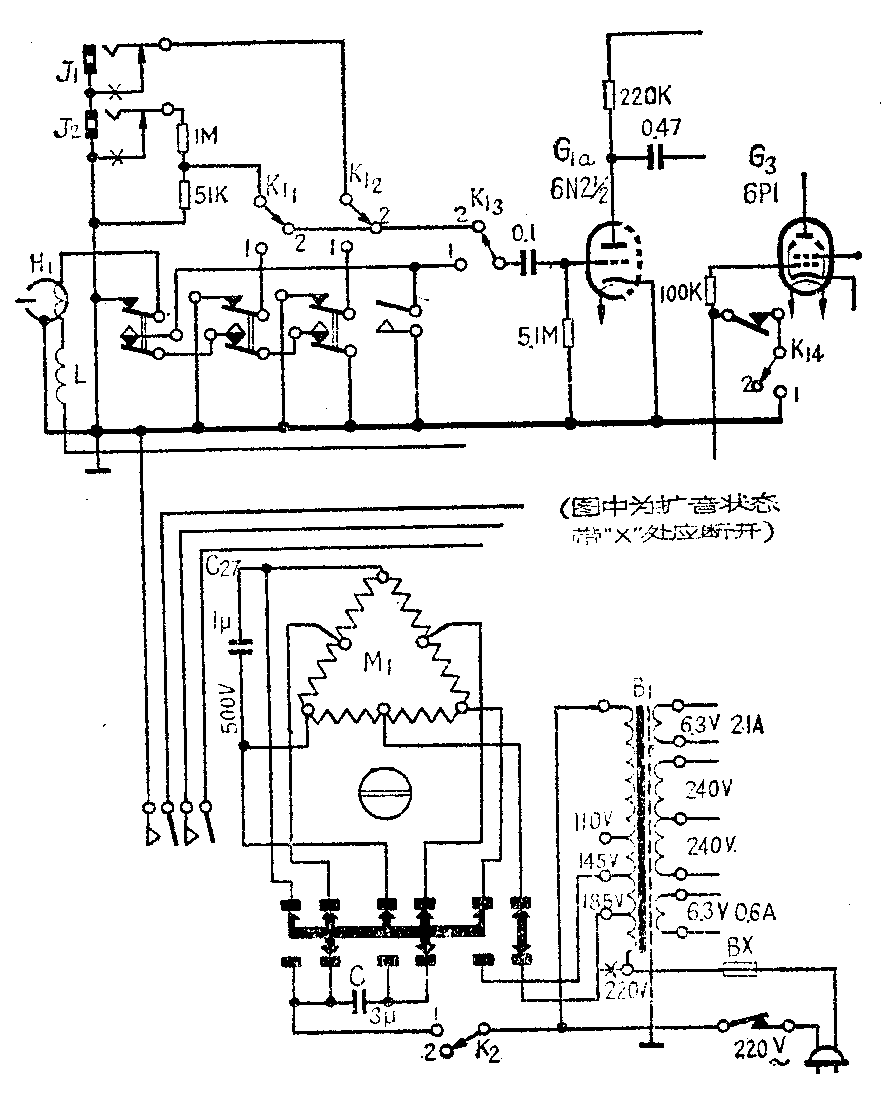
改装后的有关线路如右图。四刀双掷开关K\(_{1}\)和小型开关K2是新增加的元件,K\(_{1}\)控制录放—扩音转换,K2在扩音时断开,让电动机停止转动,以节省用电和防止磨损。

将K\(_{1}\)和K2拨到“1”处为录放状态,拨到“2”处为扩音状态。录放的,使用方法同来改装前一样;作为扩音使用时,K\(_{1}\)、K2应拨到“2”处,将话筒插头插入录音机话筒输入插口J\(_{1}\)即可进行语言扩音,其它所有按键不必按下。输入插口J2作为唱片、收音转播用。改装后J\(_{1}\)和J2可同时输入两种信号。如果外接高音喇叭,可供二、三百人小型会场使用,声音比较响,音质也不错。
改装时接K\(_{1}\)开关的接线要用金属隔离线,同时K1也要很好地屏蔽,否则会引起交流声。 (北京师范学院外语系电教室)