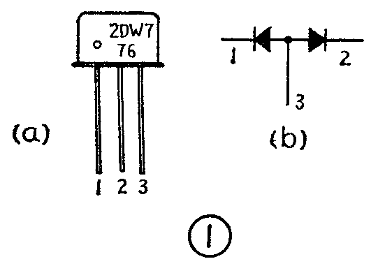
2DW7稳压管是一种具有良好的温度稳定性的硅稳压二极管,它用于电子设备的精密稳压源中。2DW7管的外形见图1(a),符号见图1(b)。下面介绍它的结构、特性及使用方法。

一、结构
普通稳压管是由一个PN结构成的半导体器件,而2DW7稳压管是由二个PN结背靠背串联构成的半导体器件(见图1(b))。它的管芯是利用平面扩散工艺在同一块硅单晶小片上制成二个相同的PN结(见图2)。在使用时,一个PN结作稳压管使用,另一个PN结作二极管正向使用,它是一只复合管,稳定电压值等于稳压管的稳定电压U\(_{B}\)加上正向二极管的正向压降UF(见图3(a))。用公式表示:U\(_{Z}\)=UB+U\(_{F}\),一个PN结的击穿电压UB在5.2V~5.6V左右,而另一个PN结的正向压降(I\(_{F}\)=10mA时)UF在0.75~0.8V左右,因此2DW7稳定电压值在5.8~6.6伏左右。


二、温度补偿原理
我们知道普通稳压管的稳定电压数值大小是受温度变化影响的,用电压温度系数这个参数来衡量稳压管的温度稳定性。电压温度系数用符号C\(_{TV}\)表示,它的定义是稳压管的稳定电压在环境温度变化的范围内(例如25℃~75℃)平均环境温度每变化一度,稳定电压的相对变化量。用公式表示。
TV=ZU\(_{Z}\)/(T2-T\(_{1}\))×100%
其中Z=UZ\(_{2}\)-UZ\(_{1}\),UZ\(_{2}\)是T2℃时的稳定电压值,U\(_{Z}\)1是T\(_{1}\)℃时稳定电压值。T1℃是初始温度,T\(_{2}\)℃是变化后的温度。稳压管的电压温度系数有正也有负,绝对值有大有小。例如普通锗稳压二极管2CW19、它的温度系数是+9.5×10\(^{-4}\)/℃,如果已知该管在25℃时稳定电压UZ等于14V,则75℃时稳定电压值就可以计算出来:
U\(_{Z}\)=14V+9.5×10\(^{-}\)4/℃×(75℃-25℃)×14V=14.665V
上面例子可看出普通稳压管在温度变化后稳定电压值变化较大。
稳压管的电压温度系数是随击穿电压不同而变化,它的变化规律见图④,从曲线上可以看出,击穿电压V\(_{B}\)在4.5V~5.6V的稳压管温度系数有正的,也有负的,是混合型的,并且从中可以找出零温度系数的稳压管,击穿电压VB小于4.5V以下的稳压管温度系数C\(_{TV}\)是负值,从曲线看出VB在5.2V~5.6V之间稳压管一般是正的温度系数,而二极管在正向使用时,正向压降U\(_{F}\)具有负的温度系数。2DW7稳压管就是把一只正温度系数的稳压管(UB在5.2V~5.6V)和一只负温度系数的二极管(正向压降U\(_{F}\)等于0.75—0.8V左右)彼此串连起来使用,这样可以得到温度补偿,使2DW7具有良好的温度稳定性。

在生产2DW7稳压管中,其管心上的二个PN结电压有时难以控制得很准确,造成某些2DW7管的电压温度系数不理想,有时会出现U\(_{F}\)对UB过补偿或欠补偿。过补偿就是指温度变化后U\(_{F}\)减少的电压值大于UB增加的电压值,与此相反称欠补偿。怎样解决这个问题呢?我们发现二极管的正向温度系数与正向电流I\(_{F}\)大小有关,即正向压降的电压温度系数随着正向电流IF的增大绝对值减小。因此2DW7管的电压温度系数还可以通过改变管子的工作电流来调节,这样就可解决稳压管的过补偿或欠补偿的问题。在2DW7中C档的管子就是用了五种不同测试电流使其电压温度系数<|5|×10\(^{-}\)6/℃
三、使用
2DW7稳压管按动态电阻不同分为A、B、C三档,它们的参数见表一。其中C档的管子电压温度系数最小(见表一),也就是说2DW7C的管子温度稳定性最好。2DW7C稳压管的管帽上除了打印型号外还打印测试C\(_{TV}\)时所用电流数值(见图5),这也就是说要使2DW7C管子的温度系数小于|5|×10\(^{-6}\)/℃,工作电流必须按管帽上标记的电流数值。


我们在使用2DW7管时要分清正、负极。2DW7稳压管有三个管脚(见图5(a))。1、2管脚为正、负极,其中靠近管帽上白点的那个管脚接电源“+”极;另一个管脚接“-”极。管脚3为备用脚,通常不用,当脚“1”或“2”损坏后,才把“3”与管脚“1”或“2”做单个普通稳压管用。
2DW7稳压管的优点是电压温度系数小,即温度稳定性能好,但是这种管子功率很小,只有200毫瓦,而且稳定电压范围太窄,只有5.8~6.6伏,使用中有一定局限性。
四、2DW8稳压管
2DW8稳压管是从2DW7系列管子中筛选下来的,它没有温度补偿的特性,这种管子的电压温度系数C\(_{TV}\)≤|8|×10\(^{-4}\)/℃比2DW7管约大100倍。2DW8稳压管只能作为普通的稳压管用。2DW8管子的引出脚中,“3”脚为公共引线。使用时,用1、3脚或者2、3脚(见图5(b)),3脚接电源“-”极,1或2脚接电源“+”极。2DW8按动态电阻不同分为A、B、C、三档,表二列出了它们的参数供读者参考。(北京东城区半导体器件一厂技术组)
