采用PNP和NPN两种不同导电类型的晶体管互相配合,可以组成多种脉冲单元电路,它与单一导电类型的晶体管构成的电路相比较,具有使用元件少、耗电省、脉冲波形好以及带负载能力强等优点。本文介绍互补管自激多谐振荡器的原理和应用举例。
基本电路和工作原理

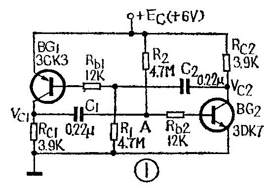
大家知道,自激多谐振荡器是一种能够产生矩形波的脉冲电路。图1是典型的互补管自激多谐振荡器的电原理图,这个电路仍然是一个由两级集—基耦合的晶体管反相器构成的正反馈闭合环路,为了便于分析,我们把它改画成图2的形式。由图2可以看到,BG\(_{1}\)的集电极通过电容C1和电阻R\(_{b2}\)耦合到BG2的基极,而BG\(_{2}\)的集电极通过电容C2和电阻R\(_{b1}\)耦合回BG1的基极。由于集电极的输出信号与基极输入信号是反相的,但两管导电类型相反,故这两级交叉耦合的结果,使电路在任一瞬间具有下述两种可能的状态。要么是BG\(_{1}\)、BG2均饱和导通,要么是BG\(_{1}\)、BG2均截止,并且这两个状态都是不能持久的,它们遵循一定的规律而交替翻转着。

接通电源瞬间,两晶体管尚未导通,电源E\(_{c}\)对电容C1、C\(_{2}\)进行充电,电容两端的电压按指数规律上升,其极性如图2所标。电容C1、C\(_{2}\)上的电压分别加在两晶体管的基—射结,成为正向偏置,当这个电压上升到管子的导通阈电压(硅管约0.6V左右)时,BG1、BG\(_{2}\)开始导通,Ib1、I\(_{c1}\)、Ib2、I\(_{c2}\)上升,Ic1·R\(_{c1}\)的增大,使Vc1上升,通过电容C1的耦合,使V\(_{b2}\)进一步上升,而Ic2·R\(_{c2}\)的增大,使Vc2下降(V\(_{c2}\)=Ec-I\(_{c2}\)·R2),电路产生如下的正反馈连锁反应:

这一强烈正反馈过程进行得十分迅速,几乎在瞬时就使两管饱和。当BG\(_{1}\)、BG2饱和时,C通过R\(_{b}\)和rbe(r\(_{be}\)为晶体管输入电阻)放电,并维持两管饱和,这就是电路的第一个暂稳状态,其持续时间即脉冲宽度t1主要取决于BG\(_{1}\)、BG2 的饱和时间,可用下列公式计算:
t\(_{1}\)=C(Rb+r\(_{be}\))lnEcV\(_{bes}\)+Ec;R\(_{c}\)Rb
式中V\(_{bes}\)是晶体管导通时的前向压降,硅管约为0.7V。随着放电电流的减小,基极电流也将减小。基极电流的减小,势必使BG2的集电极电压Vc\(_{2}\)升高,BG1的集电极电压V\(_{c1}\)降低。集电极电压的变化又将通过电容C的动态耦合,作用在两个管子的基极,形成如下正反馈连锁反应:

几乎在瞬时,使BG\(_{1}\)、BG2变为截止。于是电源E\(_{c}\)又通过R1、R\(_{2}\)对C2、C\(_{1}\)充电,充电电流在R1、R\(_{2}\) 上的电压降将维持BG1、BG\(_{2}\)截止,电路进入第二个暂稳状态,其持续时间即脉冲间歇时间t2可由下式算出:
t\(_{2}\)≈0.7RC
两管截止的过程,到电容两端电压上升到管子的导通阈电压时即告结束。此后两管又迅速饱和导通……如此周而复始,在两管集电极上可以同时获得连续的短形脉冲。从BG\(_{2}\)集电极Vc2输出的脉冲波形如图3(b)所示。

管子参数和元件的选择,应保证使BG\(_{1}\)、BG2均能进入饱和区,即
Rb\(_{1}\)<β1R\(_{c1}\)Rb2<β\(_{2}\)Rc2
由图3(b)可以看出,脉冲持续时间t\(_{1}\)远小于脉冲间歇时间t2,按图1给出的元件参数实测的结果t\(_{1}\)=10毫秒,t2=750毫秒,脉冲空度比\(\frac{t}{_{2}}\)t1=75。如果采用一般形式的多谐振荡器,是很难由这么小的定时电容来获得这么长的间歇时间,也很难获得这么大的脉冲空度比的。一般形式的多谐振荡器,在任一瞬间总是有一只管子导通、另一只管子截止的,而互补管多谐振荡器则在t\(_{1}\)期间内是两管均导通,t2期间内两管均截止,由于t\(_{2}\)》t1,所以晶体管截止时间远远大于导通时间,不仅减小了晶体管的平均功耗,允许管子输出更大的瞬时电流,也节省了电源的消耗。另一方面,这种电路可以利用比较小的电容产生非常低的振荡频率,可以在工业自动控制线路中应用。
一种简单的互补管多谐振荡器
上面介绍的典型的互补管多谐振荡器,可以从两管集电极同时得到相反极性的矩形脉冲,但在很多场合只需要输出一种脉冲波形,线路可以更为简化,图4就是一种简单的多谐振荡器,它只用了一个电容和三个电阻。为了直观起见,我们把它做成闪光灯,小电珠R\(_{L}\)也可以用一个固定电阻来代替。

我们从两管刚转入饱和导通的瞬间开始讨论。此时,电源E\(_{c}\)对电容C迅速充电,充电路径是Ec→BG\(_{1}\)发射结→Rb1→C→BG\(_{2}\)集射极→地,这个大的充电电流维持着两管的饱和,这就是电路的第一个暂稳态。但随着时间的推移电容C上逐渐积累了电荷,电容两端的电压(其极性见电容上方所示)逐渐增大,充电电流逐渐减小,这使BG1开始退出饱和而进入放大区,于是因正反馈作用发生了如下的连锁反应:

结果电路迅速地翻转到BG\(_{1}\)、BG2 均截止的状态,即第二个暂稳态。电容C上所充电压的极性使BG\(_{1}\)的发射结受到一个反向偏压而维持截止,从而BG2也因得不到基流而被迫截止。
随后,电容C通过R和R\(_{L}\)慢慢向电源放电,在它放完电(即C上无电荷)之后,又要受到电源对C的反向充电(电压极性见电容下方的括号内所记)。当这一反向充电电压达到BG1管的导通阈电压(对锗管约为0.2伏)时,BG\(_{1}\)又开始导电,在放大区发生如下的正反馈连锁反应:

这使电路迅速地翻转回BG\(_{1}\)、BG2均饱和导通的状态,即第一个暂稳态,以后过程即循此交替地重复进行,结果在BG\(_{2}\)的集电极上输出一列负向矩形脉冲,而接在BG2集电极上的灯泡则交替地闪亮与熄灭。当按照图4所示元件数值组成电路时,由实测可得t\(_{1}\)(灯亮)=0.2秒,t2(灯暗)=25秒。
应用举例—双闪讯号灯
在生产和科学实验中,除了要使用单闪式讯号灯外,往往还要用到双闪式讯号灯,以表示不同意义的讯号。图5即为双闪讯号灯的一种电路,它由一个互补管多谐振荡器、一个无偏压单稳态电路及两个微分电路所组成。

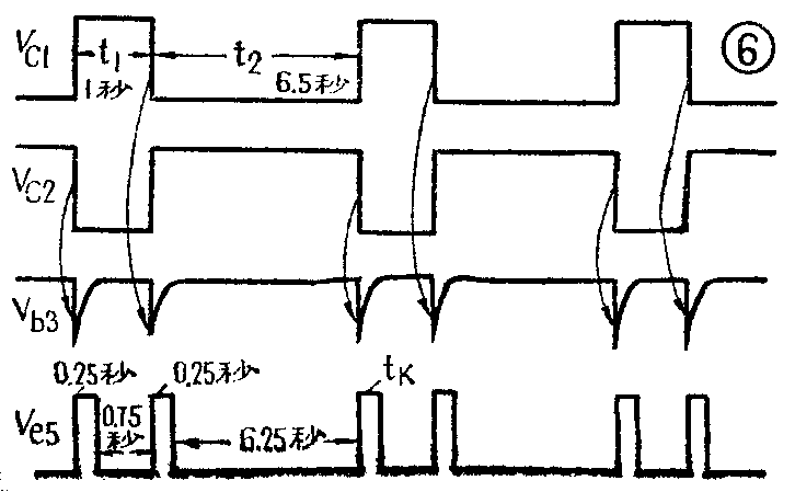
电路的工作过程可用图6来说明,图中画出了电路各主要点的波形。由BG\(_{1}\)、BG2组成的多谐振荡器产生一系列t\(_{1}\)=1秒、t2=6.5秒的矩形脉冲,分别由两管的集电极输出,经微分电路C\(_{t1}\)、Rt1和C\(_{t2}\)、Rt2微分成正负尖脉冲,并由D\(_{1}\)、D2隔除正尖脉冲后,去触发由BG\(_{3}\)、BG4及BG\(_{5}\)组成的无偏压单稳态电路。平时BG3由电源经R\(_{b3}\)提供足够大的偏流而达到饱和导通,BG4 因基极处于接近地电位而截止,BG\(_{5}\)亦因得不到偏流而被迫截止,灯不亮。但当BG1或BG\(_{2}\)的集电极电位发生一次负跳变时,即有一个负向触发脉冲送给BG3的基极,使单稳态电路翻转到BG\(_{3}\)截止、BG4及BG\(_{5}\)饱和导通的暂稳态,此时指示灯便被接通而点亮。单稳态电路在暂稳态的时间为tk=0.7R\(_{b3}\)C2≈0.25秒,这便是指示灯每次闪亮的时间。经过这段时间之后,单稳态电路又自动地翻转回BG\(_{3}\)饱和、BG4及BG\(_{5}\)截止的常态(灯熄灭)。我们就是利用图6中的t1期间由BG\(_{2}\)和BG1集电极电位产生的两次负跳变(见图中箭头所示)来触发单稳态电路而实现双闪的。

电路中二极管D\(_{3}\)的作用是保护BG3的发射结,使其不致因暂稳态期间被C\(_{2}\)所加的反向偏压而击穿。BG4、BG\(_{5}\)构成了一个互补型复合管,这里主要是想说明这样做既可以利用3AX31来带灯,又可使复合管仍为NPN型。否则也可用一只3DG12来直接带灯而无须采用复合管。
图5中二极管D\(_{1}\)、D2、D\(_{3}\)可用2AP1~2AP5,或三极管3AX31的任何一个PN结来代替。(许国殷)