本机为硅锗混合七管超外差式收音机,其电路比较新颖,具有灵敏度高、噪声小、输出功率大等优点。电源采用一节一号大电池,使用经济方便。
一、主要性能
频率范围:不窄于535~1605千赫。
中频频率:465±4千赫。
灵敏度:不劣于1毫伏/米,实际不劣于0.5毫伏/米。
选择性:不劣于14分贝,实际为20分贝。
不失真功率:大于50毫瓦,实际约为100毫瓦。
最大输出功率:约250毫瓦。
无信号电流:不大于20毫安。
最大信号电流:约250毫安。
二、电路原理和特点
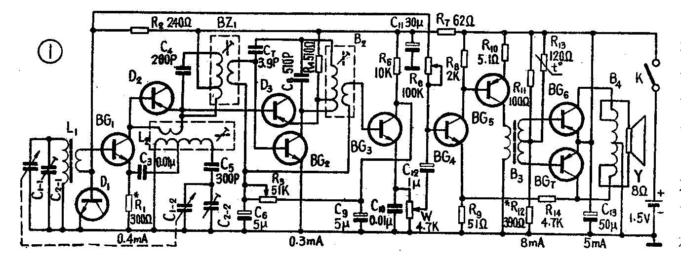
整机电路见图1。印刷电路见图2。由变频管到第一低放管BG\(_{1}\)~BG4 用硅管3DGS\(_{2}\)(3DG6),具有温度特性好、截止频率高、工作稳定的特点。低放管BG5和功放管BG\(_{6}\)、BG7用锗管3AX31S。


变频管的偏置直接取自稳压管D\(_{1}\)(采用一只有一个完好的PN结的废硅三极管或一只废硅三极管加一只废锗三极管),以提高整机的降压灵敏度并省却偏置电阻而使电路简化。 D1的稳压范围为0.7~0.9伏,动态电阻小于33欧。为了适应大批量生产的需要,将D\(_{1}\)的稳压范围以0.05伏分档,再根据D1稳压值的大小来配置R\(_{1}\)的电阻值,以便使BG1的集电极静态电流控制在0.4~0.6毫安范围内。R\(_{1}\)的阻值可用下式决定:R1=(U\(_{D1}\)—UBE1)/I\(_{c1}\)(式中UD1——稳压管D\(_{1}\)的稳压值;UBE1——变频管BG\(_{1}\)的发射结直流工作电压;Ic1——BG\(_{1}\)的集电极电流)。由于不同厂家生产的晶体管,其UBE略有不同,当U\(_{D1}\)为0.7~0.75、0.75~0.8、0.8~0.85、0.85~0.9伏各档时,各档级稳压管适用的R1值分别为270Ω、360Ω、560Ω、750Ω。
L\(_{2}\)为本机振荡线圈。D2用于本振电压的限幅。D\(_{2}\)并联在本振线圈L2的次级,处于正向偏置状态,其内阻的大小随其上所加偏置电压大小而改变,从而使本振回路的Q值改变,本振回路的谐振阻抗Z\(_{0}\)(=2πfLQ)也随之改变,使本振电压幅度产生变化。例如,当本振电压增大时, D2的正向偏置电压增大,内阻减小,振荡回路的Q值下降,使本振电压的幅度减小下来,反之则提高本振电压,从而使本振电压幅度限制在一定幅度。
为了克服1.5伏低电压收音机容易停振的缺点,设计L\(_{2}\)使不加D2时振荡电压为180毫伏,加了D\(_{2}\)后,约为80毫伏。这样本振便不易停振,并使波段高、低端振荡电压比较均匀,变频增益较高。D2可采用废锗高频三极管的EB结。
本机采用一级中放。因为考虑到采用三极管检波,其增益约为0分贝,输入阻抗比较高(约20千欧左右),而且它进入线性检波的输入信号功率可以小得多,比二极管检波约小20分贝,所以采用一级中放就可以满足要求了。设计中放时适当考虑了增益及选择性。本机第一只中周的选择性大于9分贝,第二只中周的选择性大于8分贝,通带均大于5千赫,中放级增益约为35分贝。由于只有一级中放,并加了中和,尽管中放增益较高仍不致引起不稳定,整机选择性在正常情况下都可以大于20分贝。
本机采用三极管检波电路。有如下特点:
1.与二极管检波器相比,失真系数差不多,其效率却大大提高。功率增益接近0分贝,而二极管检波器的功率增益约为-20分贝。
2.输入阻抗高。由二极管检波器的1~2千欧提高至20千欧左右,可使B\(_{2}\)次级匝数增大,有利于改善自动增益控制。
3.输出阻抗小,约500欧左右,为二极管检波器的1/2~1/3,这就便于接低放,受负载影响而引起的失真也较小。
4.传输系数高。比二极管检波器约大2~3倍,故在同样的输出时末级中放的电压幅度也较低,不易发生阻塞。
5.主要参数(如失真系数、输入阻抗、输出阻抗等)受工作点电流影响甚小,故发射极电流易于调整。因为该三极管检波器是一个射极输出器,它具有深度的负反馈,稳定性好。而且工作点电流只有几十微安,在这个范围内的h\(_{FE}\)变化不大,所以三极管检波器的主要参数受工作点电流影响甚小,这一点可以从实验及大批生产中得到证实。
6.若选取三极管检波器的静态电流为较小值时(如20微安左右),则随着信号增大,其发射极电流也增大,增益也跟着增大。因此,对小的干扰与噪声的增益很小,信噪比可提高(如图3所示)。其中曲线①为采用共集电极三极管检波器的自动增益控制曲线;②为典型检波(二极管检波)的自动增益控制特性曲线。

R\(_{4}\)、D3为二次自动增益控制电路。在无信号或小信号时,D\(_{3}\)处于反向偏置,内阻很大,对B1的中频回路的影响很小,因而对中频信号也几乎没有衰减。随着信号的增强,D\(_{3}\)的反向偏压降低,内阻减小,于是使B1的中频回路的Q值降低,因而对信号的衰减作用增强,中频增益下降,起到二次自动增益控制作用。D\(_{3}\)采用废锗高频三极管的一个PN结,要求反向电阻大于500千欧。
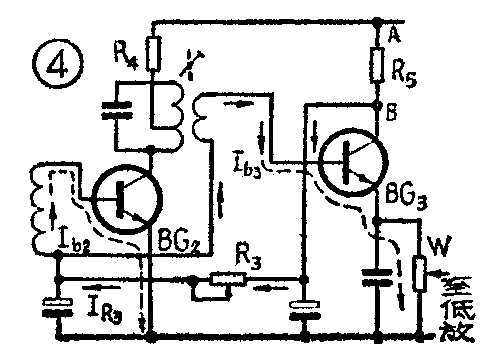
BG\(_{2}\)为中放管,其静态工作电流可通过可变电阻R3(51千欧)调整在0.3~0.7毫安。为了节省元件,可变电阻R\(_{3}\)既作为BG2和BG\(_{3}\)的偏流电阻,也作为自动增益控制电路的电阻(见图4)。BG2、BG\(_{3}\)的基极偏置电压及自动增益控制电压均由集电极取出,其偏流走向见图4。调整时可改变R3的阻值,使BG\(_{2}\)的集电极电流在0.3~0.7毫安范围。这时BG3的静态电流约在20~40微安范围内。根据3DG6的I\(_{c}\)~UBE关系曲线(图5)可知: BG\(_{2}\)的Ic2在0.3~0.7毫安时,U\(_{BE2}\)≈0.7伏左右;BG3的I\(_{c3}\)在20~40微安时,UBE3≈0.6伏左右。由于BG\(_{2}\)、BG3差接,见图6,所以R\(_{W}\)上的电位差为UBE2- U\(_{BE3}\)= 0.7- 0.6≈0.1伏,现在RW取4.7千欧,所以I\(_{E3}\)≈0.1/4.7×10\(^{3}\)≈21微安。因此在调整静态工作点时,只要调整R3使BG\(_{2}\)的集电极电流在0.3~0.4毫安范围,BG3的工作点便自然是合适的。



自动增益控制从两部分取得:一是利用BG\(_{2}\)与 BG3基极差接(见图6)。若B点电位保持不变,则I\(_{R3}\)=IB2+I\(_{B3}\)为常数值,当IB2增大时I\(_{B3}\)减小,反之IB3增大时I\(_{B2}\)减小。所以随着输入信号增大,BG3的基极电流增大,BG\(_{2}\)的基极电流便减小,起到了自动增益控制作用。此外,从图4可知,自动增益控制的信号从检波管BG3的集电极取出,随着输入信号增大,则I\(_{B3}\)↑,Ic3↑,在电阻R\(_{5}\)上的电压降增大,B点对地之间的电压减小,导致IR3减小,因此I\(_{B2}\)也必然减小,从而得到较好的自动增益控制作用。
C\(_{6}\)、C9的作用是滤除检波后的交流成分,使它不致加到BG\(_{2}\)的基极。
为了获得足够的激励功率,音频电压放大级由BG\(_{4}\)和BG5接成直接耦合放大器。BG\(_{5}\)的静态工作电流约为8毫安左右。通过R14获得约3~5分贝的负反馈,使不失真功率为100毫瓦。功放级采用两只对称的3AX31S三极管,输出变压器采用自耦式为的是提高输出功率,R\(_{13}\)为热敏电阻,用以稳定功放级的工作点。
三、主要元件数据
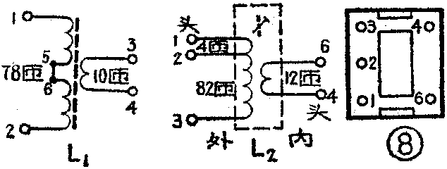
1.磁性天线L\(_{1}\):采用MXO-400φ10×140毫米磁棒。为了提高输入回路的Q值,线圈①~②分两段绕制(见图7),用28×0.07毫米纱包线密绕。线圈③~④用7×0.07毫米纱包线密绕。各线圈匝数如图7所示。将线圈位置放在磁棒中间,以760千赫频率测量,线圈①~②的Q值应大于120,电感量L≥400微亨。线圈③~④不测参数,但应无短路及断路。

2.振荡线圈L\(_{2}\):采用MXO-400M6×12×1磁芯,各线圈均用QQφ0.08毫米漆包线顺向平绕,匝数如图8所示,初级电感160~190微亨,空载Q值≥85(测试频率为760千赫)。

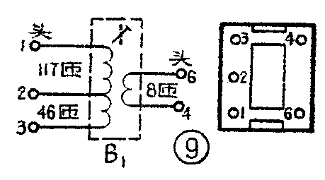
3.中频变压器B\(_{1}\)2:采用的磁芯与振荡线圈相同,各线圈均用QQφ0.08毫米漆包线顺向平绕。第一中周匝数见图9,配用200微微法电容(内附),选择性≥9分贝,空载Q值≥85。第二中周匝数见图10,配用510微微法电容,选择性≥8分贝,空载Q值≥85。


4.输入变压器B\(_{3}\)(图11):采用D41或D\(_{42}\)、厚0.35毫米E形铁心片,铁心截面为5.5×8毫米,线圈来用QQφ0.13毫米漆包线,初级顺向均匀乱绕522±2圈,电感量大于250毫亨,直流电阻约为30欧。次级双线均匀顺向并绕2×400圈,直流电阻约为52欧。

5.输出变压器B\(_{4}\):为一自耦变压器,铁心与输入变压器相同,线圈采用QQφ0.45漆包线,总匝数为2×44+2×21。按绕线顺序44匝和21匝均为双线均匀并饶(见图12),先绕44匝,绕好后将一线圈的头与另一线圈的尾在内部相接。后绕21匝。两组线圈引出头的接法见图12所示。两组线圈间用0.08黄蜡绸二层隔开,线包最外层包电缆纸一层。初级电感大于18毫亨,直流电阻约为0.75欧(测①③抽头),次级电阻约为0.45欧(测④⑤抽头)。图13为其原理图。(广东省佛山市无线电一厂)
