随着工农业生产的迅速发展,电动机的使用数量日益增多,应用最普遍的是三相交流感应电动机。为了保证电机的安全运行,我们试制了晶体管电机缺相保护器。保护器的外形见图1,它和电机磁力开关联用,能有效地防止因缺相运行而烧毁电机的事故。

工作原理
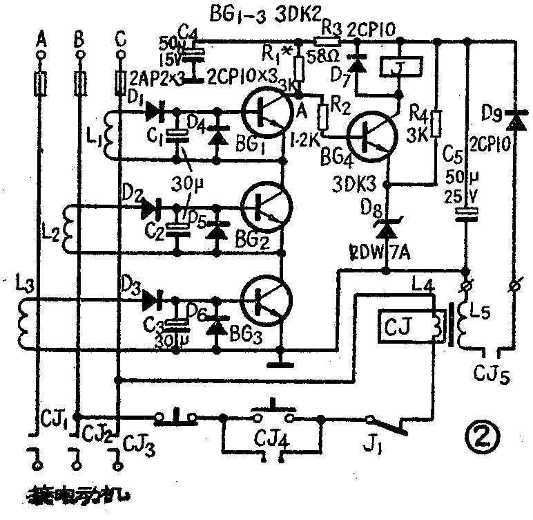
图2是保护器的电原理图。其中L\(_{1}\)~L3称传感线圈,是三个绕在锰锌铁氧体磁环上的线圈,电动机的三相电源线分别从其中心穿过。当电源线中有电流通过时,由于电磁感应,磁环上的线圈两端就会产生感生电动势,经二极管D\(_{1}\)~D3和电容C\(_{1}\)~C9整流滤波,产生直流电压分别加在晶体管BG\(_{1}\)~BG3的基极与发射极之间,使它们呈正向偏置。

电机正常运行时,三根电源线中都有电流通过,则三个磁环线圈同时输出电压信号,使BG\(_{1}\)~BG3三只晶体管同时导通。这时图2中的A点为低电位,U\(_{A}\)<2伏,这个电压通过R2加到BG\(_{4}\)基极。但晶体管BG4的发射极电位由于稳压管2DW7A的作用,被稳定在6伏,高于基极电位,因而这时BG\(_{4}\)呈反向偏置,处于截止状态。继电器J作为BG4的负载,没有电流通过。它的常闭接点J\(_{1}\)保持闭合,电机正常运转。
当电机电源有一相断电时,这一相的电源线中没有电流,与之相应的磁环线圈两端便没有电压输出,相应的晶体管也因正偏置消失转而处于截止状态。由于BG\(_{1}\)~BG3三只晶体管是射集串联的,任何一只管子截止,都能使A点转为高电位。BG\(_{4}\)的基极电位也随之升高。适当选择R1的阻值,使此时BG\(_{4}\)呈饱和状态,它的集电极电流达到最大值并使继电器J动作,其常闭触点J1断开,切断了电机磁力开关的吸力线圈电源,使开关释放,电机停止运转。
零件制作与选用
保护器中的传感线圈需要自己绕制。磁心选用MXO—2000锰锌磁环,磁环直径大小可根据电机电源线的粗细来决定。每个磁环上用φ0.16高强度漆包线穿心绕500匝左右(图3),线头用软塑料线引出。绕制时一定要注意线间不能有短路。实验表明当电机电源线中电流强度为2安培时,线圈上感生电动势为1.1伏,随着电源线中电流的增强,感生电动势也会有升高,但到一定值(1.6伏)后,由于达到磁饱和,感生电动势不再随电流增加。所以这个保护器不需任何调节就能适用于1.5千瓦以上各种功率的电动机,而不必担心传感线圈输出电压会过高而损坏晶体管。

晶体管BG\(_{1}\)~BG3可选用3DK2、3DG6等小功率硅管,要求选用饱和压降V\(_{ces}\)小的,选测时可按图4线路联接,电压表的读数就是Vces值。BG\(_{4}\)的集电极最大允许电流应大于继电器动作电流,可选用3DK4、3DG12等。晶体管β值要求在40以上。

继电器J可根据手头情况选用,以工作电压6~10伏、工作电流40毫安以下的小型灵敏继电器为宜,否则就要考虑提高电源电压或选用耗散功率较大的晶体管作BG\(_{4}\)。
稳压管2DW7A的稳定电压为5.8~6.6伏,有一定的余量,也可以选用稳定电压为3~4伏的稳压管,这样保护器的电源电压可用得低一些。稳压管的工作电流也应和继电器J的性能结合考虑,以免电流过大烧毁稳压管。但因在电路中继电器动作后,整个保护器工作过程即告结束,稳压管中只有瞬间有较大电流通过,实践证明电流稍超过它的额定值,还不致造成稳压管损坏。
安装和调整
整个保护器装在塑料小盒中,使用时用螺钉固定在配电板上,它与磁力开关的连线用塑料软线引出。
保护器中供晶体管电路的电源,通过磁力开关的吸力线圈取得。这种供电方式不但能省掉一个电源变压器,缩小体积,降低成本,而且能保证保护器工作可靠,不会在电源缺相时因保护器本身得不到供电而失效。线圈L\(_{5}\)用φ0.23漆包线绕在磁力开关的吸力线圈外面。它的输出电压为17伏,大约在200~300匝之间,要根据吸力线圈匝数多少而定。
安装时必须注意接点CJ\(_{5}\)的作用。磁力开关的吸力线圈接通后,L5立即就会有感应电压送出,但磁力开关主接点C\(_{J}\)1~CJ3的接通,即磁力开关衔铁的吸下尚需要一定时间,在这一短时间内电机电源线中还没有电流通过。保护器如果在这时就进入工作状态,那么J将动作,导致磁力开关跳开。这将引起磁力开关衔铁不断跳动,电机无法起动。为此,在L\(_{5}\)向保护器供电端接入磁力开关的辅助常开接点CJ5,使保护器只有在磁力开关吸合、电机接通电源以后,才得到电压,开始工作。
电机起动时,由于起动电流较大,将在磁环线圈两端产生较高感应电动势,为了防止三极管发射结被击穿,线路中接进二极管D\(_{4}\)~D6,安装时应注意二极管极性不要接错。
安装完毕检查无误后,就可以开启电机进行通电调试,具体步骤是:
1.测量整流后保护器电源电压,应在15~18伏左右。
2.测量A点电压,正常时在2伏以下。若U\(_{A}\)>6伏,说明BG1~BG\(_{3}\)没有导通,应检查传感线圈输出电压(交流1.1伏以上)及各晶体管基极电压是否正常。若UA虽小于6伏,却高于2伏,说明BG\(_{1}\)~BG3虽然导通但未能达到饱和,这会造成BG\(_{4}\)不能很好截止,引起继电器的误动作。这时要逐个测量每只晶体管c、e极间电压降,对性能差的管子应调换。
3.测量BG\(_{4}\)发射极电压,应保持在6伏。
4.将接点J\(_{1}\)暂时用导线接通,然后焊开一个传感线圈的引线,正常时继电器应立即动作。A点电压升到6~8伏,BG4集电极对地电压由15伏降为7伏左右。若在7伏以上,可减小R\(_{1}\)阻值或换BG4管。若电压正常而继电器不动作,应换用高灵敏度继电器或适当提高电源电压。
5.重新接好传感线圈,拆掉接通接点J\(_{1}\)的导线,将电机起动后,人为切断一相电源(如拔出保险丝)造成缺相,保护器应立即动作使电机停止转动。若J动作而电机不停,多数是控制按钮部分接线错误,可检查更正。(北京市通县西集中学)