74型超声治疗机是治疗脑血栓所致偏瘫病的一种医疗器械。经过两年多来的临床使用,表明疗效较好,而且使用简便,易于掌握,病人无痛苦感。此外,对于眼底出血,视神经萎缩、视网膜炎、乳腺炎、坐骨神经痛、美尼尔氏症等疾病也有一定疗效。
构造及工作原理:
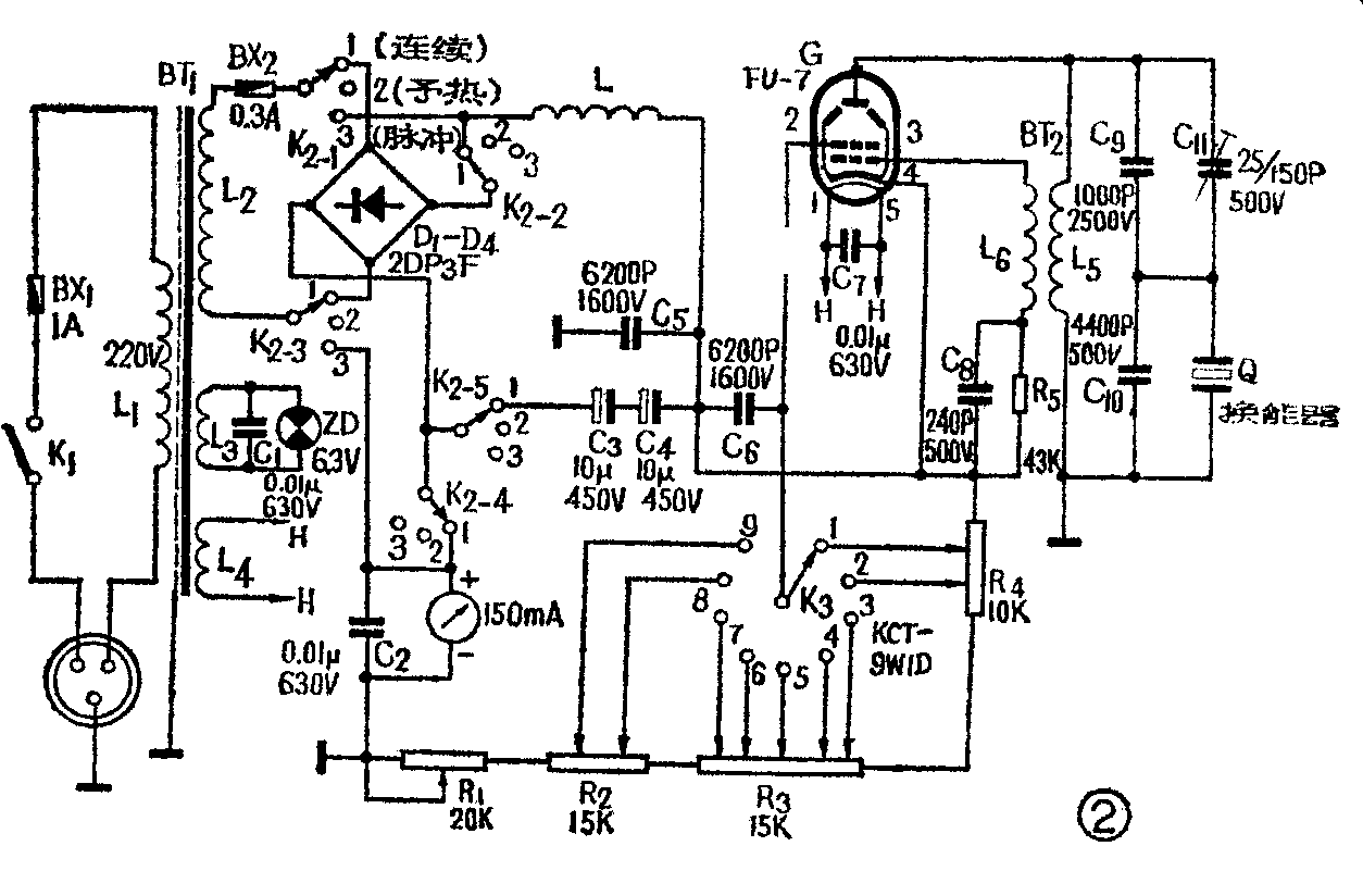
74型超声治疗机由超声换能器、高频振荡器、电源三部分组成。

超声换能器(以下简称换能器)的作用是将高频电能转换为同频率的超声能。结构如图1所示。电声转换元件是压电陶瓷锆钛酸铅,它与厚度为半波长(或其整数倍)的合金铝板粘在一起,组成统一的振动系统,称为辐射板。锆钛酸铅的另一面是空气介质,这种结构使它在水介质中形成单向辐射,与双面辐射相比具有较高的电声转换效率。
当在压电陶瓷片的两端加上交变电压时,它的厚度使产生伸长与压缩。它的电声转换效率不仅随压电材料而异,而且随施加给它的电振荡频率而变化。只有当外加电振荡频率与压电材料的同有机械振荡频率相一致时,它才具有最高的电声转换效率。

本机电原理图如图2所示。为了满足临床需要,设计有“连续”和“脉冲”两种工作状态及九种声强输出。振荡器采用变压器回授式振荡线路,振荡频率由BT\(_{2}\)的初级线圈电感L5 、电容C\(_{9}\)、C10、C\(_{11}\)和换能器的等效电容所决定。用C11调整振荡器频率,使与换能器的工作频率一致,以取得较高的电声转换效率。电阻R\(_{1}\)、R2、R\(_{3}\)、R4接于振荡管FU-7阴极与零电位之间,由安装在上面的九个分压卡引出九种电压,通过声强开关K\(_{3}\)接至帘栅极,控制九种不同声强输出,声强输出从0.5瓦/厘米\(^{2}\)到2.5瓦/厘米2分九档可调,每档改变0.25瓦/厘米\(^{2}\)。在电路中采用扼流圈L以阻止高频能量进入电源变压器。电源变压器BT1铁心采用D\(_{42}\)型矽钢片,心柱截面积38×42毫米2, L1用φ0.51毫米漆包线绕732匝,L\(_{2}\)用φ0.31毫米漆包线绕1885匝,L3用φ0.47毫米漆包线绕23匝,L\(_{4}\)用φ0.67毫米漆包线绕23匝。振荡线圈BT2,空心胶木骨架φ75×85(毫米),L\(_{5}\)用φ1.3毫米高强度漆包线密绕22匝,L6用φ0.59毫米高强度漆包线密绕23匝。L\(_{5}\)、L6之间间隔8毫米。
当工作状态开关K\(_{2}\)置于“连续”档时,电源变压器次级L2上产生的电压,经由整流二极管D\(_{1}\)— D4组成的桥式整流器整流,滤波电容C\(_{3}\) 、C4 滤波,得到约负700V的高压加至振荡管FU-7的阴极。在连续工作状态时,从换能器辐射出的超声波是频率为800千赫的连续正弦波,如图3a所示。
当工作状态开关K\(_{2}\)置于“脉冲”档时,桥式整流器与电源变压器次级高压绕组L2断开。这样50赫的交流高压直接加到振荡管FU—7的板、阴极之间。在正半周时间内,FU— 7工作,从换能器辐射出的超声波是被50赫正弦半波所调制的800千赫正弦波,波形如图3b所示。
在“脉冲”工作状态输出声强的峰值和连续工作状态时输出声强的峰值相同,而平均值则约为同档“连续”工作时所输出声强值的三分之一。
毫安表所指示的是整机直流电流值,它的大小与输出声强的变化规律相一致,但并不确切反映声强值。
调整:
机器安装焊接好后,检查电源变压器对机壳的绝缘电阻,应不小于100兆欧。接通电源预热,在“连续”状态测FU-7各管脚电压。
将换能器放入超声功率计中,用示波器观察输出波形,“连续”档与“脉冲”档输出波形应分别如图3a、3b所示。然后置于“连续”档,声强开关K\(_{3}\)置于2.5瓦/厘米\(^{2}\),调整C11使输出声功率最大且工作频率稳定。调整9号分压卡,使此档声功率在指标范围内,紧固9号分压卡。如此逐次调整其它各分压卡。

在2.5瓦/厘米\(^{2}\)输出情况下,连续工作4小时后,复查各项指标。
使用:
应该经常用声功率计校验机器输出量,在无声功率计情况下,可用下述方法粗略估计机器是否正常。
a、用面板上的电流表指示判断:将换能器辐射头置于有吸声材料的清洁水中(注意勿将换能器尾部置于水中以免进水损坏),在“连续”、2.5瓦/厘米\(^{2}\)档时,毫安表指示约85~95毫安(各机之间有差别),水中应能看到波动。当声强逐次转到0.5瓦/厘米2时,毫安表指示也逐档降低,水中波动也逐档减弱。到0.5瓦/厘米\(^{2}\)时,毫安表指示约50~60毫安。
b、用超声雾化现象判断:将换能器辐射面向上平置,表面上保持清洁冷水,在“连续”、 0.5瓦/厘米\(^{2}\)时,水应有波动,当声强增到1.0瓦/厘米2时,辐射面上的水开始产生超生雾化(类似水蒸气,但不是热作用而是超声作用所致),随着声强增大,辐射面上形成的水柱增高,雾化现象亦强烈。
机器工作时,不允许辐射面暴露于空气中,以免换能器过热而损坏。需要在治疗部位涂以液体石蜡或其它接触剂。
“预热”为防止FU—7过早损坏,不应省略不用,依治疗需要遵医嘱选择“脉冲”或“连续”档,以及声强输出量。达到治疗时间后,将开关K\(_{2}\)扭到“预热”档再关掉电源。
换能器辐射面与治疗部位需密切接触,换能器严禁敲打碰撞,使用一段时间后可将辐射头拆开,用酒精清洗。换能器面磨损较大后会造成输出量的改变,一般磨损超过0.5毫米时最好更换辐射板并重新校正声功率。
本机由于换能器直接串接在板极回路中,为了保证使用安全,采用阳极接地,故使用时电源应配用三芯插座,接地线要接好。
本机声强输出受电源电压波动影响较大,有条件的单位最好使用稳压电源。
一般故障及原因:
1.无声功率输出、毫安表无指示。可能是保险丝熔断、FU-7损坏或者分压电阻R\(_{1}\)开路。
2.无声功率输出、毫安表指示出正常值小。可能是换能器电缆插头未插好、输出电缆内部断线、换能器晶片损伤或粘结层损坏。
3.自0.5瓦/厘米\(^{2}\)到某档无声功率输出、毫安表指示为零,其余各档输出与2.5瓦/厘米2档时相近。可能是R\(_{2}\)~R4电阻之间有脱焊处或某个电阻开路。
4.各档毫安表指示及声功率输出均和2.5瓦/厘米\(^{2}\)时相似。这是因为分压电阻R\(_{4}\)上1号分压卡与负压端开路。
5.毫安表指示明显增大、声功率输出明显降低。可能是C\(_{3}\)、C4严重漏电或换能器进水了。
6.开机就烧保险丝。可能是高压对地短路或是保险丝管座绝缘不良。(洛阳无线电厂 李振中)