晶体管扩音机容易发生损坏功放管的故障,为了解决这个问题,我们在生产这类扩音机时,采用过下述一些简单的措施,实践证明是非常行之有效的。
一、对所用的功率管进行测试、挑选。
实际工作中,可只做下面两次简单测试,虽不太精确,但已能满足要求。
1.在扩音机的最高电压和晶体管可能达到的最大电流的条件下,测量管子有无击穿趋势。
测试电路见图1。测试前先将调压器B\(_{1}\)调至零,然后通电,调节调压器使电压表指示到2~3伏,然后调整电位器W,使Ic达到所需要的电流值(例如3安)。这时记下I\(_{c}\)和IB。只有I\(_{c}\)和IB都大体相同的管子才能配对或并联使用。再迅速扭转调压器手柄,使电压表达到所要求的电压(例如17~18伏),同时密切注意I\(_{c}\)的变化(见图2),图中特性曲线B有击穿趋势,不能做功率管用。为避免测试当中烧坏管子,动作应迅速,加电压时间不应超过1秒,而且应注意功率管与相应的散热器要接触良好。我们在做这项试验时,一般能淘汰2%左右的管子。


2.二次击穿的考验。
测量电路电图3。B\(_{1}\)为调压器。B2为隔离变压器,其作用是防止操作触电。图中的二极管2CZ20是为了削去交流正半周。I\(_{c}\)流过R2,使R\(_{2}\)两端的电压与Ic的变化成正比。因此,测量时将x端接示波器x轴输入端,y端接示波器y轴输入端,旋动调压器使电压由零逐渐增加,则在示波器荧光屏上就会显示出I\(_{c}\)~Uce的特性曲线(见图4)。要求在U\(_{ceR}\)不低于扩音机电源电压三倍的情况下,管子不产生二次击穿现象,例如图4中的1、2、3、4。图4中5~16易产生二次击穿,均不宜做功率管。图中5、6、7、8、12、14伴随有高频振荡,可用中波机接收。


上述测量应分别于25℃和75℃两种情况下进行。根据我们的经验,前者约淘汰10%,后者较少。
二、降抵扩音机电源电压。
扩音机的电源电压降低到17~18伏以下使用(无输出功率时也不应超过此值),实践证明效果较好,扩音机烧管的现象大为减小。对于现有的晶体管扩音机,可将电源变压器次级线圈拆掉一些,使其直流电压降到17~18伏以下。使用中应装好电源保险丝,且保险丝不能太粗。
对于无示波器的同志,可只用办法1选管,在有JT—1(或QT—4)型晶体管特性图示仪的条件下,对下列参数应进行严格挑选:
BV\(_{ceo}\)——应大于电源电压1.5倍以上。
BV\(_{ceR}\)——应大于电源电压2~3倍以上(R=15欧)。
I\(_{b}\)——在给定Uc及U\(_{be}\)条件下的基极电流值。
β——根据设计要求选择。
在扩音机做双管推挽输出或多管并联后推挽输出时,对功率管必须作配对挑选。原则是输入、输出特性基本上相近为宜。即甲管β与I\(_{b}\)的乘积与乙管β与Ib的乘积之差越小越好。同一臂中并联管子的差要比两臂之间的差小。每只管子的基极均应加一个4~5.1欧的电阻。
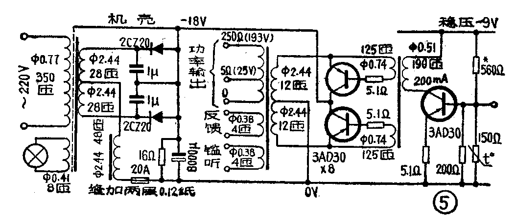
三、介绍一个参考电路。
这里介绍一种150瓦晶体管扩音机末级和电源级的参考电路(如图5)。图中功放管的集电极和整流管的负极均与机壳相连,目的是为了散热良好。电路中各变压器的数据见图6和表1。(河南省鹤壁市无线电六厂 徐业林)


表1(单位:毫米)
变压器名称 a b c d e 叠厚
电源变压器 44 22 22 66 88 65
扼流圈 26 17 17 46 64 50
输出变压器 26 17 17 46 64 50
输入变压器 22 14 14 39 52 33