前几篇系统介绍了TTL集成电路计数器的基本原理,现在我们以图1所示的比较典型的计数器插件板为例,介绍一下计数器的检修方法。在正常情况下,图1计数器的四个触发器输出端Q、Q-的波形和译码电路十个正向信号输出端的波形,应如图2所示。如果测得的波形不正常,就需要对计数器进行检修。


计数器插件板的检修,可分成两部分:第一部分是四级JK触发器组成的计数电路的检修;第二部分是译码电路和数字显示的检修。在逐级检查之前,先用万用表测量一下印刷电路板上线段之间有无短路、断路、虚焊;晶体管电极间以及与各电阻间有无碰脚,集成电路各引出端有无短接、悬空等;量一下5伏、180伏电源供给端,地线,以及输入波形、信号幅度等是否正常,各输出端Q、Q-间有无短路等等。先排除这些比较容易检查的表面故障,然后再进行如下的逐级检查。
一、计数电路的检修
(1)检测第一级触发器C\(_{1}\)
若检查发现C\(_{1}\)不正常,可用电烙铁将C1的输出端Q\(_{1}\)从印刷电路版上翘起,使其悬空,切断和后三级触发器的联系,从Q1和Q-\(_{1}\)端用示波器观察波形宽度,是否为输入波形的二倍。若不是,则再翘起C1的Q\(_{1}\)端,切断和译码电路的全部联系,排除译码电路对C1的影响。若依然不正常,则是C\(_{1}\)的JK触发器坏了,需要更换。
如果翘起C\(_{1}\)的Q-1端后,波形就正常,再焊上Q-\(_{1}\),波形又变坏,则是译码电路的影响。可以逐个检查与Q-1相连的译码与非门,一个个的翘起与Q-\(_{1}\)相连的与非门上的相应输入端,观察Q-1波形的好坏,直至把坏的与非门找出来为止。
如果翘起C\(_{1}\)的Q1端时波形就变好了,焊上Q\(_{1}\)就变坏,这种情况大多是由于后级触发器的影响,应先检查后几级触发器,最后再返回检查与Q1相连的译码与非门有无故障。
(2)检测第二级触发器C\(_{2}\)
C\(_{2}\)和C1不同之处,在于C\(_{2}\)用了JK触发器的一个J端,这个J端跟C4的Q-\(_{4}\)相连,形成反馈。当发现Q2和Q-\(_{2}\)的波形不是图2所示的形状时,则先将这个J端翘起悬空,这时C2只起分频作用,观察Q\(_{2}\)、Q-2的波形宽度,是否是CP\(_{2}\)端波形的二倍。如果是,那就可能是这个J端已坏,或者是C3、C\(_{4}\)有故障,通过J端影响到C2。

在翘起C\(_{2}\)的J端后,可以用示波器观察一下翘起的J端的波形,若如图3所示那样,则这个J端没有坏。若得不到图3所示波形,可换用C2上的其它J端试试。在换用好的J端后,将J端焊上,如果Q\(_{2}\)、Q-2的波形仍不正常,则问题就出在后二级触发器或相连的译码门电路上了。这时,可翘起J端,切断反馈,采用如同检查C\(_{1}\)那样的方法,分别翘起Q2端和Q-\(_{2}\)端,检查故障是否在后二级触发器,还是在某一译码门电路。
实践证明,第二级触发器C\(_{2}\)的故障,大多数出在反馈端上,其次是译码电路的影响。译码门电路的交叉漏电流过大,会压低触发器的输出高电平,并影响波形。
(3)检测第三级触发器C\(_{3}\)
检查C\(_{3}\)的方法和检查C1的方法相似,因为C\(_{3}\)没有使用J端和K端,只起分频作用。当C3输出波形异常时,可翘起C\(_{3}\)的CP3端,将计数脉冲直接从CP\(_{3}\)端输入,观察Q3、Q-\(_{3}\)的波形。如果不起分频作用,则将Q3翘起悬空,检查是否是C\(_{4}\)影响。如果还没有分频作用,再翘起Q-3,并逐个检查与Q\(_{3}\)和Q-3相连的译码与非门。
(4)检测第四级触发器C\(_{4}\)
C\(_{4}\)的特点是使用了两个J端,Q-4还拉出反馈,CP\(_{4}\)又与CP2、Q\(_{1}\)相连,所以计数电路的检查重点在C4。为了更好地掌握C\(_{4}\)的故障检查方法,下面结合波形和数字管显示情况。从计数器的基本原理上解释一下几种常见故障的原因。
C\(_{4}\)相连的译码门电路的障碍,可用上述切断Q-4和C\(_{1}\)的J端相连的反馈线以及翘起Q4、Q-\(_{4}\)的方法,逐个检查。除此以外,常见的故障有以下三种:
(一)C\(_{4}\)输出端波形不是8∶2,而是6∶2;数字管的数字变化情况为0、1、2、3、4、5,6和8同时出现,7和9同时出现。产生这种故障的原因是:和Q2相连的C\(_{4}\)的J2端虚焊或J\(_{2}\)端已坏。
根据JK触发器的特性,C\(_{4}\)由“0”翻转为“1”的条件是:必须使C4的全部J端均为“1”,而且从CP\(_{4}\)端又接收到一个计数脉冲信号。从图1知,由于C4的J\(_{1}\)、J2分别和Q\(_{3}\)、Q2相连,J\(_{1}\)和J2的状态由Q\(_{3}\)、Q2决定,所以在正常情况下,在“8421”代码计数线路中,要想使C\(_{4}\)的J1=J\(_{2}\)=“1”,必须Q3=Q\(_{2}\)=“1”。但是如果J2虚焊或已坏,则不论Q\(_{2}\)等于“0”还是“1”,J2将失去Q\(_{2}\)对它的控制作用而始终为“1”状态,致使当Q2=“0”、Q\(_{3}\)=“1”时也能使C4的全部J端为“1”。这时只要再接收一个计数脉冲信号,C\(_{4}\)便由“0”变“1”。错误就是由此产生的。十进制5的状态是“0101”,按正常情况,再接收一个计数脉冲后应是“0110”(即6),但在C4发生误翻转为“1”的情况下,计数器状态变成“1110”。
“1110”状态在“8421”代码中是不应该出现的,有了故障才可能出现这种情况。这个状态,使Q\(_{4}\)=Q3=Q\(_{2}\)=“1”、Q1=“0”,在译码电路中,使十进制数6的译码与非门电路(其输入端为Q\(_{3}\)、Q2、Q-\(_{1}\))和8的译码与非门电路(其输入端为Q4、Q-\(_{1}\))因“输入全高,输出为低”而都开门,所以数字管同时出现6和8两个数字。
同理,再接收一个计数脉冲后变成“1111”状态(正确时应为0111),使7和9二个译码与非门(前者输入端为Q\(_{3}\)、Q2、Q\(_{1}\),后者输入端为Q4、Q\(_{1}\))因输入端全部为高电平而开门,数字管同时出现7和9二个数字。之后再输入一个计数脉冲,状态变成“0000”,数字管显示0字。因而就造成了如下结果:

(二)观察C\(_{4}\)输出端波形为4∶2,数字管的数字变化情况为0、1、2、3,4和8同时出现,5和9同时出现,4、5、6、7、8、9。其原因是C4和Q\(_{3}\)相连的J1端虚焊或已坏。
J\(_{1}\)的状态应由与之相连的Q3决定,如果J\(_{1}\)悬空,则不论Q3等于“0”还是“1”,J\(_{1}\)总呈“1”状态。也就是说,Q3=“0”时,也能使C\(_{4}\)的全部J端为“1”,这时只要接收一个计数信号,C4便由“0”变“1”。十进制数字3的状态是“0011”,按理,再接收一个计数脉冲后应是“0100”状态(即4),但现在因C\(_{4}\)误翻转为“1”,状态变成“1100”。
“1100”状态在“8421”代码中也是不应该出现的,这个状态,使Q\(_{4}\)=Q3=“1”、Q\(_{2}\)=Q1=“0”,在译码电路中,使十进制数4的译码与非门电路(其输入端为Q\(_{3}\)、Q-2、Q-\(_{1}\))和8的译码与非门电路(其输入端为Q4、Q-\(_{1}\))都开门,数字管同时出现4和8两个数字,使4误为4、8。同理,再接收一个计数脉冲后变成“1101”状态,使5和9两个译码与非门同时开门,数字管同时出现5和9两个数字。
之后,再输入一个计数脉冲,C\(_{1}\)由“1”变“0”;C2则因Q-\(_{4}\)=“0”的反馈控制,保持“0”状态;C3也因无输入仍保持原状态“1”;C\(_{4}\)则因Q1的下降沿输入CP\(_{4}\),而由“1”变“0”。计数器状态呈“0100”,即数字4的状态,使6误为4,以下类推,形成结果见10页表。

(三)观察C\(_{4}\)输出端波形为2∶2,数字管变化情况为0、1,2和8同时出现,3和9同时出现,4、5,6和8同时出现,7和9同时出现。其原因是C4的两个J端J\(_{1}\)、J2都虚焊或已坏。
C\(_{4}\)的J2和J\(_{1}\)的状态,应该是分别由Q2和Q\(_{3}\)来控制的,如果J2和J\(_{1}\)虚焊或已坏,则Q2和Q\(_{3}\)不论是“0”还是“1”状态,C4的J\(_{2}\)和J1总为“1”状态不变。因此当十进制数1的状态“0001”到来时,虽然这时Q\(_{2}\)=Q3=“0”,但对于J\(_{1}\)、J2悬空的C\(_{4}\)来讲,等于是J1=J\(_{2}\)=“1”,所以再接收一个计数脉冲后,按正常情况应为“0010”状态,但因C4发生误翻,故整个计数器状态变为“1010”。这就使2、8二个译码与非门(一个输入是Q-\(_{3}\)、Q2、Q-\(_{1}\),另一个输入是Q4、Q-\(_{1}\))都开门,数字管同时出现2和8两个数字。同理,再输入一个计数脉冲后变为“1011”状态,使3和9二个数字同时出现。
之后,再输入一个计数脉冲,C\(_{1}\)由“1”→“0”;下降沿输给C2和C\(_{4}\),使C2、C\(_{4}\)由“1”→“0”C3因接受C\(_{2}\)的负阶信号由“0”→“1”;计数器是“0100”,这就是数字4的状态。5之后6和8同时出现,7和9同时出现,其理同上。所以形成了下列结果:

二、译码、显示电路的检修
(1)计数不稳,时而正常,时而数字乱跳。出现这种现象,主要有三种原因:
第一种可能是输入计数脉冲的后沿不佳(因为JK触发器为后沿触发),使计数触发器有时能翻转,有时不翻转,造成计数不稳。这就需要改善输入脉冲波形,为此,可采用图4所示的整形电路,对输入计数脉冲进行整形。

第二种可能是外界干扰,如电源干扰、电磁干扰、环境干扰等造成的。尤其是从触发器的R端、S端、空着不用的J端和K端产生干扰。为了排除这些干扰,就需采取一系列抗干扰措施,如对于R端和悬空不用的S、J、K端,应串1K电阻接5V,并连5μf电容接地。
第三种可能是触发器的负载能力差,使四级触发器的工作状态不稳定,从示波器中看到的是断断续续的不整齐的波形。这就需要对触发器逐级检查,并更换掉质量较差的触发器。
(2)同时出现多个数字,或十个数字同时出现,并且不变化,有时十个数字都很模糊。
大多是由于译码和反相与非门的电源电压5V偏低,使译码与非门的输出总为低电平,不能正常工作。当译码、反相与非门的电源电压断路或接错插座号时,驱动用高反压晶体管全部导通,亦会出现十个数字都亮但很模糊的现象。
(3)重字。
如每当轮到显示5时,同时出现7字(轮到显示7时,并没有5)。
显示5的状态为“0101”,其译码与非门输入端为Q\(_{3}\)Q-2Q\(_{1}\),显示7的状态为“0111”,其译码与非门输入端为Q3Q\(_{2}\)Q1。当7的译码与非门接Q\(_{2}\)的那端因虚焊或损坏时,该端总为“1”,故当“0101”状态时,5、7二个译码与非门都开门,所以5、7同时出现。反之,在状态“0111”时,5的译码与非门关门,故显7字时无5。
同理,在显示7时有3,显示3时无7;显示5时有4,显示4时无5等等,都是类似的毛病。
如果重字现象为显示5时有7,显示7时也有5。这是由于5、7二个相应驱动晶体管集电极(外壳)碰在一起短路,或接5、7晶体管的电阻短路,或接数字管的5、7的引线短路,或5、7门电路输出端短路等原因造成的,用万用表很容易检查出来。
(4)漏字。这要作具体分析,看漏掉哪些数字。
(一)如漏掉0和1,按2、3、……9顺序连续变化。这是由于从Q-\(_{4}\)反馈到C2的J端的连线断开或C\(_{2}\)的J端虚焊、损坏引起的。因为这条反馈线如果断路,就不再是二一十进制,C2变成只起二分频作用。四级触发器若按“8421”代码变化时,C\(_{2}\)的状态应为:
十进位数 0 1 2 3 4 5 6 7 8 9
C\(_{2}\) 的状态 0 0 1 1 0 0 1 1 0 0
当C\(_{2}\)按二进制变化的话,因8、9为“0、0”状态,翻转后下二个数变为“1、1”状态,因而使计数器的状态本应为“0000”、“0001”,变成了“0010”、“0011”,这就跳过了数字0和1。
(二)漏掉8、9二个数字,按0、1、……7,0、1……7顺序连续变化。这是由于C\(_{4}\)出了故障,不能翻转,Q4始终为“0”状态,而显示8、9两个数字时,C\(_{4}\)应呈“1”状态。
(三)漏掉2、3两个数字,按0、1、4、5……9连续变化。这是由于C\(_{2}\)出了毛病,不能翻转,Q2始终为“0”状态。有时只有0、1、0、1而无其它数字,或只有2、3、2、3而无其它数字,也是由于C\(_{2}\)不翻转。
(四)漏掉4、5、6、7,或只有4、5、6、7。其原因是C\(_{3}\)不翻转。
(五)按1、3、5、7、9顺序连续变化,漏掉偶数数字,或按0、2、4、6、8顺序连续变化,漏掉奇数数字。原因是C\(_{1}\)不翻转。
(5)每轮到某数字就不亮,或者模糊不清,但并未漏掉这个数字。
当轮到某个数字亮时,相应的译码与非门开门,反相与非门关门,驱动晶体管饱和。所以可以顺着这个次序用万用表测量或用示波器观察。常见故障原因是门电路损坏、虚焊、短路;驱动晶体管管脚间短路、晶体管损坏;数字管连接处断路、数字管座虚接等,都比较容易检查出来。
(6)某个数字总亮不灭。
说明这个数字相应的驱动晶体管总处在饱和导通状态。其原因大多为译码门电路输出幅度过低,或输出端与地短路,或反相门电路损坏,使驱动晶体管基极总为高电平;或者晶体管极间短路等。
(7)置零时出现故障。
若在置零时,显示数字1,或显示0、1两个数字。其原因是C\(_{1}\)的R端虚焊或R端已坏,致使C1不能置“0”。因为置“0”的状态为“0000”,若R\(_{1}\)已坏,则出现“0001”,显示1字。如果输入连续信号,显示管在不断变动之中,置“0”时C1连续翻转为“0”和“1”,变动极快,看起来就同时出现0、1两个数字。若在置零时,数字管显2字,或显4字,或显8字。其原因是C\(_{2}\)或C3或C\(_{4}\)的R端虚焊或失灵。
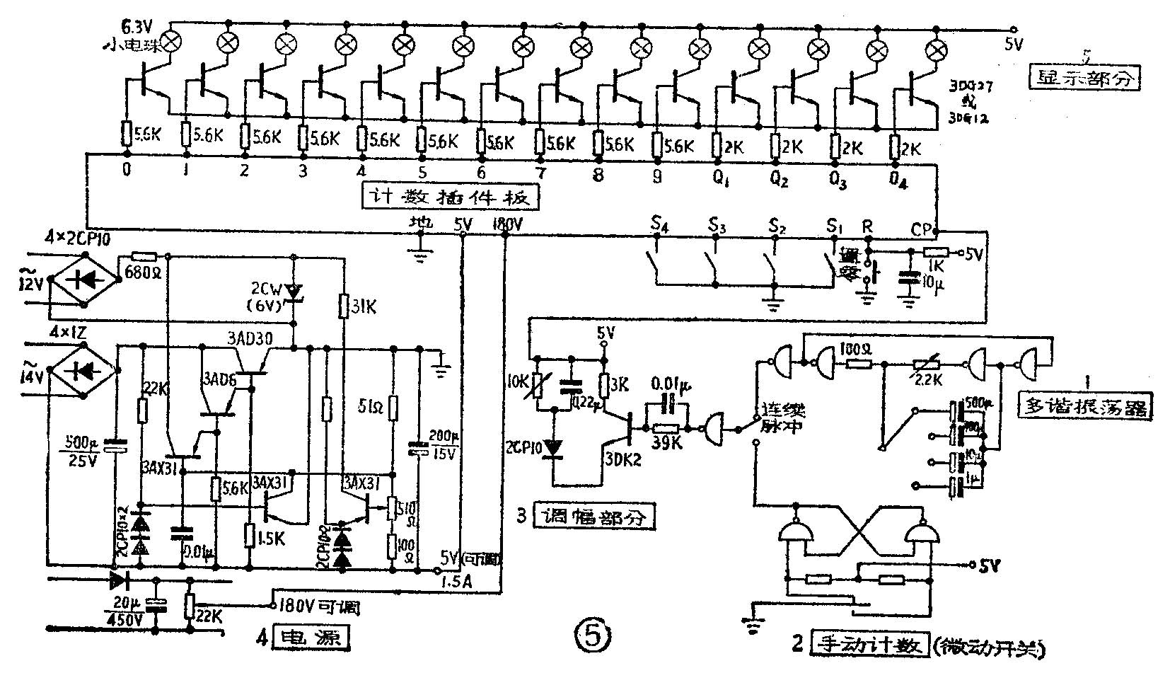
在大量使用计数插件板的部门,为便于检修,最好自制一套简易测试仪,如图5所示,包括(1)连续脉冲信号源;(2)手动计数装置;(3)放大调幅电路;(4)电源;(5)触发器状态和数字显示指示灯。

方波信号源由四只与非门电路组成RC环形多谐振荡器,为了使频率在很大范围内调节,以便既可直接用肉眼观察,又能用示波器显示,用四只电解电容器作粗调,用2.2K电位器作细调,周期可在几秒到千分之几秒的范围内变动。
手动累计部分,用两只与非门组成RS触发器,以获得后沿较陡的计数脉冲,只要一次次按动微动开关,就得到一个一个的计数脉冲信号。
为了使输入计数板的脉冲信号幅度可以调节,设置放大调幅电路,调幅范围约为0.5伏到4伏,用它可以检测计数板的灵敏度。
5伏电源需采用稳压装置,180伏不需稳压,图中对5伏稳压和180伏高压都采取了可调形式。
为了检查触发器的翻转情况和数字显示是否正常,用小电珠显示电平状态,当“1”状态时,驱动晶体管基极为高电平,小电珠发光,这样观察比较直观。仪器面板上除了安置指示灯外,最好还附装指示5伏、180伏电压的电表。
(《集成电路计数器》连载完毕)(天津市四十二中学 凌肇元)