可控硅广泛应用于可控整流、逆变和开关电路等等,是工业自动化重要元件之一。本文介绍一下用万用表检查可控硅好坏的方法。
可控硅的符号见图①(a)。检查时第一步先测量一下极间电阻,检查一下可控硅的P-N结是否好。从图①可知,阳极和控制极之间有两个P-N结(J\(_{1}\)和J2),它们反向串联在一起。阳极与阴极之间有三个P-N结即J\(_{1}\)、J2和J\(_{3}\)(J2与J\(_{1}\)、J3反向串联在一起),因此阳极与控制极间或者阳极与阴极间正、反向电阻都应该是很高的。测量时可以使用最高的电阻挡,表针应起得很小。如果测量时表针起得很大(即阻值很小),可换用较低的电阻档测量,如果还是阻值很小,甚至为0,表示此管子已经损坏。

控制极和阴极之间有一个P-N结(J\(_{3}\)),因此用万用表的负端(黑表笔)接可控硅的控制极,万用表的正端接可控硅的阴极,测量的是这个P-N结的正向电阻,其阻值应该是较低的,用R×100档或R×10档测量,表针指示约在表盘中间。如果阻值非常大,接近∞,表示此结已开路,管子是坏的;用万用表的正端接可控硅的控制极,用万用表负端接可控硅的阴极,量的是这个P-N结的反向电阻,其阻值是较大的,也有一些管子阻值不很大(如几百欧姆),也是正常的。
用万用表电阻档测试可控硅的情况,可参见图①(b)。图中画有红、黑表笔分别代表万用表的正、负端。
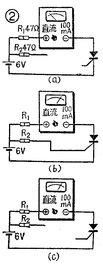
测量极间电阻是好的,则可进行第二步导通试验。电路如图②。万用表使用100毫安或更大一些的直流电流档。按图②(a)连接,把控制极空着。接通电源,这时可控硅没有导通,因此无电流。万用表指示应为零(见图②a);如果表针有明显的指示,那么此管是坏的。再接通控制极,如图②(b),万用表指示为几十毫安,如果指示很小,此管子是坏的。再断开控制极,万用表指示应仍然是几十毫安(如图②(c))。如果指示为“0”,表示管子不好。也可以用6.3V小灯泡代替图②中的R\(_{1}\)和万用表,利用灯泡的亮、灭表示是否导通(详见1976年第9期“可控硅的简易判别法”一文)。

如果我们所用万用表中心阻值较小,例如10欧、12欧,这样测试时电流较大,能达到可控硅的维持电流,这时可把上述试验简化,如图③所示,试验方法与前法基本一样。万用表使用R×1档,先把控制极空着。万用表的正端通过电源接可控硅的阴极,万用表的负端接可控硅的阳极,此时万用表的指示必然是表针不动,阻值近于∞(见图 3(a))。再把控制极和万用表负端相接,万用表指示约满度左右(见图③(b)),再把控制极断开,万用表指示应仍为满度左右,这样的管子是好的;如果断开控制极后,万用表指针又回到机械零位(左端),表示管子没有维持导通,这样的管子可能是坏的,也可能是管子要求的触发电压较高造成的,可进一步按图②方法检查。
如果万用表中心阻值太大,测试时电流较小就有可能小于管子的维持电流,使得管子无法导通,因此不能用图③方法测试。
测试实例。测试一只3CT50A/200V可控硅,使用的万用表是108-1型。先用R×10K档测量阳极和阴极、阳极和控制极之间电阻,正向与反向测量,表针仅是微微动一点,阻值均极大,约4兆欧。再用R×10档测量控制极和阴极之间电阻,测正向时,表针指示在表盘中间,阻值为130Ω。测反向时,阻值为500Ω,其数值是不太高的,但这是正常的。
以上结果符合图①所示情况,极间电阻是好的,再进行导通试验。
先按图②进行,万用表使用直流500mA档。在没接控制极以前,万用表指示为0毫安;接上控制极,万用表指示为96毫安;再断开控制极,万用表指示仍为96毫安。此管是可以导通的好管子。

由于所用万用表中心阻值为12欧,因此也可用图③所示方法试验。在没接控制极以前,万用表指针不动,阻值为∞;接上控制极,万用表指针偏转超过满度一点。再断开控制极,万用表指示仍超过满度一点,这也表示该管是可以导通的好管。(王永江)