在伟大领袖毛主席关于“努力办好广播,为全中国人民和全世界人民服务”光辉题词指引下,我们发扬自力更生、艰苦奋斗的革命精神,破除迷信、解放思想,大搞提高TY-250瓦扩音机输出功率的技术革新活动,在只增加少量元件和保证其他电气性能指标基本不变的条件下,使扩音机的输出功率提高近一倍。经过较长时期的使用证明,扩音机工作正常,稳定。
TY—250瓦扩音机改革前后的电气性能指标如表1。

电路改进
一、高压电源
提高FU—5管的屏压是提高扩音机输出功率的关键。
按照EGI—0.3/8.5(866)汞气整流管的技术要求,在高压整流电路中必须采用电感输入式滤波电路,不能直接采用电容输入式滤波电路。
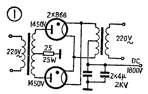
人类总得不断地总结经验,有所发现,有所发明,有所创造,有所前进。在战无不胜的毛泽东思想鼓舞下,我们经过探索和试验,采用了RC延迟滤波电路(如图1),省去高压低频扼流圈,在仍使用原有高压电源变压器和保证866汞气整流管正常工作的情况下,使输出直流高压从1250伏提升到1800伏左右,达到了提升高压的目的。改动后的整流层电路如图2所示。


RC延迟滤波电路由25瓦25欧的线绕电阻和高压滤波电容组成,其简化电路如图3。当866整流后的脉动直流高压E\(_{入}\)加到RC延迟电路时,由于接入了R,使电容器的充电时间延长,使其瞬间充电电流大为减小,从而保证866汞气整流管在瞬间充电时不受损坏。

为使直流电源阻抗足够低,改善整机的低频响应,减小直流高压波纹系数,在电路中增加了一只4微法(耐压2千伏)的高压电容,使其直流高压更稳定。经使用证明,这种RC延迟滤波电路和原电感输入滤波电路比较,使用效果是基本相同的。


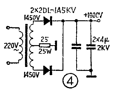
如能采用2 DL—1 A 5 KV高压硅堆整流,效果则更好,可使直流高压提升到1900伏左右,不但简化了电路,节约了原汞气整流管灯丝功率的消耗,而且也使预热时间进一步缩短,使用更为方便(如图4)。这样改动后整流层的完整电路如图5。(未完待续)(上海市金山县人民广播站)