HTL系列数字集成电路具有较高的抗干扰能力,它的直流噪声容限(即保证逻辑系统正常工作所容许的最大噪声电压)可达5~6伏,在一定程度上提高了逻辑系统的稳定性和可靠性。
从DTL电路谈起
HTL电路是在DTL电路(二极管—晶体管逻辑电路)的基础上发展起来的,为了深入了解HTL电路的工作原理和基本特性,有必要先从DTL电路谈起。
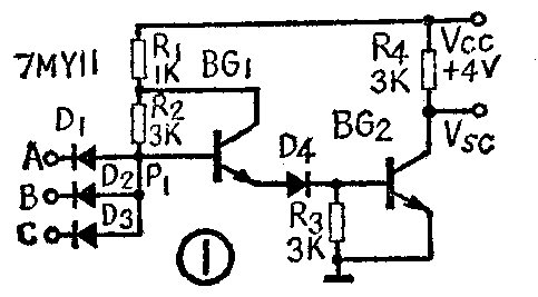
图1是国产7MY11型DTL“与非”门电路。二极管D\(_{1}\)、D2、D\(_{3}\)组成“与”门,BG1接成射极跟随器,输出级BG\(_{2}\)是一个反相器。当输入端A、B、C中,有一个或一个以上为低电平0.3伏时,相应的门二极管导通,P1点电位被箝制在V\(_{P1}\)=Vrd+V\(_{D}\)≈0.3+0.7=1V(式中VD是二极管的正向压降),BG\(_{1}\)、D4、BG\(_{2}\)均截止,输出高电平Vcg≈4V。当输入端A与B与C均接高电平+4V时,门二极管全截止,P\(_{1}\)点电位升高,使BG1、D\(_{4}\)、BG2同时导通,P\(_{1}\)点电位被箝制在VP1=V\(_{be1}\)+VD4+V\(_{be2}\)≈0.7+0.7+0.7=2.1V,此时,流过R2的电流几乎全部注入BG\(_{1}\)的基极,利用BG1的电流放大作用,向BG\(_{2}\)提供足够大的基极电流使BG2饱和,输出低电平V\(_{cd}\)≈0.3V。

电路中的射极跟随器BG\(_{1}\)具有电流放大作用,能把较小的基极电流变换成较大的发射极电流,这就可以将R1、R\(_{2}\)选取较大的阻值,使输入端为低电平时灌到前级的负载电流很小,前级“与非”门就可以带动更多的负载;另一方面,在输入全为高电平时,BG1又能保证反相器BG\(_{2}\)获得足够大的基极驱动电流,使BG2深度饱和,提高了电路的负载能力。由于BG\(_{1}\)的集电极和基极之间加了反馈电阻R2,基极电位总是低于集电极电位,确保BG\(_{1}\)工作于非饱和状态,提高了电路的开关速度。
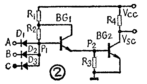
串联在BG\(_{1}\)发射极的二极管D4叫电平转移二极管,它是影响电路抗干扰能力的关键元件,我们详细分析一下它的作用。如果没有D\(_{4}\),则DTL电路如图2所示。当输入为低电平0.3伏时,P1点电位为1伏,BG\(_{1}\)导通,P2点电位约0.3伏,BG\(_{2}\)仍截止,输出高电平Vcg≈4V。若由于外来电磁场的干扰,在输入端产生一个感应电压E\(_{1}\),它叠加在标准信号电平0.3伏上,使P1点电位升高为V\(_{P1}\)=Vrd+E\(_{1}\)+VD≈0.3+E\(_{1}\)+0.7=1V+E1。显然,当干扰电压E\(_{1}\)的幅度达到0.4伏以上时,P1点电位就会高于1.4伏,足以使BG\(_{1}\)、BG2导通,电路状态发生翻转,造成不能允许的逻辑错误。接入电平转移二极管以后,由于它的正向压降约为0.7伏,为使BG\(_{2}\)导通,P1点的电位至少应有2.1伏(即V\(_{P1}\)=Vbe1+V\(_{D4}\)+Vbe2≈0.7+0.7+0.7=2.1V),这时,只要叠加在低电平输入信号上的干扰电压幅度不大于1.1伏,输出高电平将维持不变。由于D\(_{4}\)的引入提高了电路的抗干扰能力,所以又称它为抗干扰二极管。

通过以上的分析我们了解到,门电路输出高电平和低电平两个对立的工作状态是由输入信号电压决定的。输出电压V\(_{sc}\)对输入电压Vsr的这种依附关系,可以绘成电压传输特性曲线如图3所示。它直观地反映出集成电路逻辑门的一些重要特性。从电压传输特性上可以找到它的一些重要参数,如输出高电平V\(_{cg}\)、输出低电平Vcd、开门电平V\(_{k}\)、关门电平Vg 以及抗干扰能力等。从图3的曲线可以看出,当输入电压V\(_{sr}\)由零值开始增加时,起初输出电压Vsc并不发生变化,维持输出高电平,但V\(_{sr}\)增大到A点所对应的电压以后,Vsc进入过渡区开始下降,当V\(_{sr}\)大于B点所对应的电压以后,Vsc变为低电平。
我们把使输出电压刚刚达到低电平时的输入电压称为开门电平V\(_{k}\),即B点所对应的输入电压值。开门电平越小,则电路处于“ 1”态时的抗干扰能力越强,因为前级门的输出高电平Vcg减去开门电平V\(_{k}\)就是这一级“与非”门“1”态时的抗干扰能力“1”,即
“1”=V\(_{cg}\)-Vk
我们把输出电压刚刚达到高电平时的输入电压称为关门电平V\(_{g}\),即A点所对应的输入电压值。关门电平越大,则电路处于“0”态时的抗干扰能力越强,因为关门电平Vg减去前级门的输出低电平V\(_{cd}\)就是这一级“与非”门处于“0”态时的抗干扰能力“0”,即
“0”=V\(_{g}\)-Vcd
由图3可以看出,DTL电路的抗干扰能力不是很强的。

HTL电路的逻辑功能
图4a是国产SM3112H型HTL集成电路“与非”门的具体线路,图4b是它的外形图。它与7MY11型DTL电路的结构大体相同,唯一的区别就是用稳压管D\(_{w}\)(集成电路中的稳压管是利用反向偏置的晶体管的发射结构成的,如图5所示,其击穿电压约为6V,并基本保持不变)替换了电平转移二极管D4。下面我们扼要地分析它的工作情况。


1.当输入端有一个或多个为低电平时的工作情况。
假定输入端A接低电平0.3伏,其余三个输入端全接高电平15伏,则门二极管D\(_{1}\)导通,有电流Ird自电源V\(_{cc}\)经电阻R1、R\(_{2}\)及D1流向输入端A,作为前级的“灌电流”负载,这时P\(_{1}\)点的电位被箝制在
V\(_{P1}\)=Vcd+V\(_{D}\)≈0.3+0.7=1V
由于BG\(_{1}\)的发射极串联稳压管DW,所以V\(_{p1}\)=1V不能使稳压管击穿,BG1、BG\(_{2}\)都截止,输出高电平Vcg≈V\(_{cc}\)=15V。
2.当所有输入端全为高电平时的工作情况。
若所有输入端全接高电平15伏,则门二极管都截止,V\(_{D1}\)为高电平,它足以使稳压管Dw反向击穿,从而使BG\(_{1}\)导通,BG2进入饱和状态,电路输出低电平V\(_{cd}\)≈0.3V。此时,P1点电位被箝制在
V\(_{p1}\)=Vbe1+V\(_{DW}\)+Vbe2≈0.7+6+0.7=7.4V
综上所述,HTL电路实现了“与非”门的逻辑功能:当所有输入端为高电平时,输出为低电平;输入端中只要有一个为低电平,输出为高电平。
抗干扰能力
HTL电路由于采用了稳压管D\(_{W}\)代替了电平转移二极管,使抗干扰能力得到大幅度的提高,下面以SM3112H型HTL“与非”门为例进行简单的分析。
SM3112 H型HTL“与非”门的技术条件上规定,在电源电压V\(_{cc}\)=15V时,输出高电平Vcg≥13.5V,输出低电平V\(_{cd}\)≤0.5V。这里我们取Vcg=14V, V\(_{cd}\)=0.3V。
当输入端A接低电平0.3伏时,输出应为高电平14伏,但是由于外来的正向干扰电压E\(_{1}\)作用在输入端,使实际输入信号幅度增大到Vrd+E\(_{1}\),为了保持输出标准高电平不变,就应使BG2处于截止状态,即V\(_{be2}\)<0.7V,根据图4a可以列出以下不等式
V\(_{be2}\)=Vrd+E\(_{1}\)+VD1-V\(_{be1}\)-VDW<0.7V
代入具体数值后,可以求出E\(_{1}\)的容许值
E\(_{1}\)+0.3+0.7-0.7-6<0.7V
即 E\(_{1}\)<6.4V
这就是说,只要干扰电压E\(_{1}\)不大于6.4伏,电路输出高电平就能稳定不变。
当输入全为高电平+14伏时,电路应输出低电平0.3伏,由于外来的负向干扰电压E\(_{2}\)作用在输入端,使实际输入信号幅度变成Vrg-E\(_{2}\),为了保持输出低电平稳定不变,应使BG2工作于饱和状态,即V\(_{be2}\)>0.7V,根据图4a又可列出以下不等式
V\(_{be2}\)=Vrg-E\(_{2}\)+VD1-V\(_{be1}\)-VDW>0.7V
将具体数值代入
14-E\(_{2}\)+0.7-0.7-6>0.7V
可以求出E\(_{2}\)的容许值
E\(_{2}\)<7.3V
即只要E\(_{2}\)不大于7.3伏,就能保证电路输出低电平稳定不变。
图6绘出了SM3111H的电压传输特性。

负载能力
图4a所示的HTL“与非”门通常叫做无源“与非”门,这是因为输出管的集电极是用电阻R\(_{4}\)做负载。这种门的输出端往往是带上一些同类型的“与非”门。当输出低电平时,后级“与非”门把负载电流自输出端灌入BG2,由于BG\(_{2}\)处于深度饱和状态,输出电阻很小,所以带负载能力很强,输出低电平比较稳定。当输出为高电平时,后级门的输入二极管均截止,电源经R4向后级门提供很小的反向漏电流,所以输出高电平也基本上保持稳定。
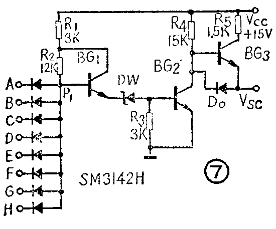
值得提出的是,在工业自动控制装置中,HTL电路所带的负载不一定是同类型的门电路,有时要与分立元件相连接,这时“与非”门输出高电平时,往外拉出的负载电流可能比较大,由于无源“与非”门的输出电阻很大(R\(_{4}\)=15K),负载电流在R4上产生的电压降使输出高电平明显下降,严重偏离标准电平。为了解决这一问题,又生产了一种有源“与非”门,图7就是这种类型的SM3142H型HTL电路。在这种电路中,输出管BG\(_{2}\)的集电极接入了由BG3组成的射极跟随器,构成了一个动态负载。当输出高电平时,BG\(_{2}\)是截止的,Vcc就通过R\(_{4}\)向BG3提供基极电流,使BG\(_{3}\)导通。BG3导通时的输出电阻很小,大大提高了带“拉电流负载”的能力。另一方面,在输出由低电平变为高电平时,BG\(_{3}\)又为负载电容的充电设置了低阻回路,大大缩短了上升时间,输出波形的上升沿比较好,也提高了电路的开关速度。

本文只介绍了HTL系列数字集成电路的基本门——“与非”门,国产HTL数字集成电路的产品还有“与或非”门、JK触发器以及中规模集成电路(如十进制译码器)等等。我们对HTL“与非”门有了初步了解,也就不难掌握其它电路的特性和工作原理了。(宋东生)