(上海无线电三厂)电路中R\(_{27}\)、R28、R\(_{3}\)0对1000赫信号电平变化范围起调整作用。图10是本机音调控制范围变化曲线,从图中可以看出低音控制范围100赫时为20分贝(相对于1000赫为+10分贝~-10分贝);高音控制范围500O赫时为16分贝(相对于1000赫为+10分贝~-6分贝)。

(3)采用射极输出电路作低放输入级。其特点是输入阻抗高,输出阻抗低。输入阻抗高有两个优点:①可以与电唱机的高阻抗晶体唱头相匹配,使功率增益充分提高;②采用高阻抗输入,可使检波器的交流负载阻抗尽量接近检波器的直流电阻,使调制度m大时失真减小。本机输入阻抗实测为100千欧左右。输出阻抗较低,在负载变动时对射极输出器的工作状态几乎不产生影响,因此本机音量控制器接在射极输出器的输出负载端。
(4)衰减式频率均衡电路:
在录制唱片时,录制低音频刻纹刀摆幅大,音槽要宽,且刻纹刀厚度要薄,而制造密纹唱片音槽不能太宽,且刻纹刀要有一定强度,不能做得太薄,因此低音频受到限制,唱片厂不得不将频率特性进行一定的压缩,使低音受到较大的衰减。为了在放唱片时再现原有语言、音乐的音色,在低放电路中必须加有均衡电路,以提升低音,衰减高音。
本机电路中,R\(_{19}\)、R20、R\(_{21}\)、C43、C\(_{44}\)构成均衡电路,见图11。其作用是:当音频信号从射极输出器输出时,由于C43、R\(_{2}\)0支臂和C44支臂对低音频的阻抗大,旁路作用小,因此低音频经过较小的衰减送到BG\(_{6}\)管的基极;而C48、R\(_{2}\)0支臂对中、高音频阻抗较小,中、高音频受到较多旁路,加上C44对中、高音频的旁路作用大,因此中、高音受到较大的衰减。经过这样的均衡后,使频率特性符合我们的要求。频率均衡电路的补偿特性见图12,在100赫时为+9分贝;1000赫时为0分贝;5000赫时为-7.5分贝。均衡频率特性与录制唱片时的压缩频率特性恰恰相反,使语言、音乐的原来音色得以真实地重放出来。


一般的晶体唱头输出较高,约达到数百毫伏的动态电压,这样高的电压加在低放输入端,会使低放管工作于饱和状态,破坏放音效果。所以在低频电路中我们采用衰减式均衡电路和衰减式音调控制电路。均衡电路除了有均衡作用外还有衰减作用,它的总衰减是:对低音100赫衰减约10分贝;对中音1000赫衰减约为19分贝;对高音5000赫衰减约26.5分贝。
三、结构特点
1.本机采用新颖大窗口刻度盘,刻度盘二侧装有四只6.3伏0.1安的小型照明指示灯泡。灯光所射向的玻璃度盘的一侧涂有绿漆,使整个刻度盘光照均匀,因为玻璃本色呈绿色,利用光的射散现象,在视觉上感到刻度盘有绿色荧光效果。
2.电源开关、波段转换和拾音控制用KZJ—1—10×2型五档自互锁式推键开关,外型美观,转换方便。
3.音量和高、低音调节,均用新颖的滑杆式电位器,控制灵活,造型大方。音量电位器用WH20A—10KΩ-Z—0.25W一只。音调电位器用WH20A—100KΩ-X—0.25W二只。
4.外壳采用闭箱结构(见图13),其特点是避免扬声器背面由于开箱声音产生绕射,从而使低音频得到良好的重放条件,频响展阔(见图14),低频端失真明显地减小本机外壳的开箱与闭箱的声失真对比在低频端是明显的;闭箱时100赫声失真小于5%,开箱时100赫声失真小于12%。


在扬声器周围箱壁上粘有吸声材料,其目的主要为解决中、高频的反射,使声频响曲线趋于平坦,达到收听效果比较满意。吸声材料可用棉花、泡沫塑料、化纤下脚料及柔软性纤维材料。
机心与箱体连接,整个机器只用两只螺母来紧固,使修理、装配方便可靠,有利于大量生产。维修时,将两个机心固定螺母拧下,整个机心即可从前面取出。
为了供单位、旅馆等场合使用,并在音质上进一步提高,我们用3T4的机心,配置了落地式助音箱。命名为3T4—1型。在助音箱上面装收音机机心,下面装两只φ165毫米的双纸盆8欧扬声器。外型及主要尺寸见图15。

四、电感元作数值
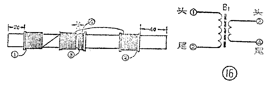
1.中波磁性天线线圈(B\(_{1}\))(图16);采用M4φ10×200毫米磁棒。线圈①~②用QJST型28×0.07导线分段顺向密绕22+22+22圈,电感量约220微亨,Q≥150(用795千赫测试),线圈③~④用QJST型7×0.07导线顺向密绕61/2圈。

2.短波\(_{1}\)天线线圈(B2)(图17):共有四组线圈。L\(_{1}\)、L2均用QST型φ0.10导线蜂房绕法,L\(_{1}\)在外径φ5毫米塑料管上绕56圈;L2绕40圈。L\(_{4}\)是槽路线圈,用QZ型φ0.51导线顺向平绕162/3圈。线圈L3用QST型φ0.18导线从L\(_{4}\)的第二、三匝间嵌入,顺向间绕31/6圈。

L\(_{1}\)+L2从④、⑤点测试。L=48微亨。Q≥30(无磁心时),测试频率2.52兆赫。L\(_{4}\)无磁心时L=1.8微亨,Q≥80,磁心旋入管内10毫米时L= 4.8微亨,Q≥50,均用7.95兆赫测试,磁心规格;软磁NⅠ-60-BL,M7×0.75×16

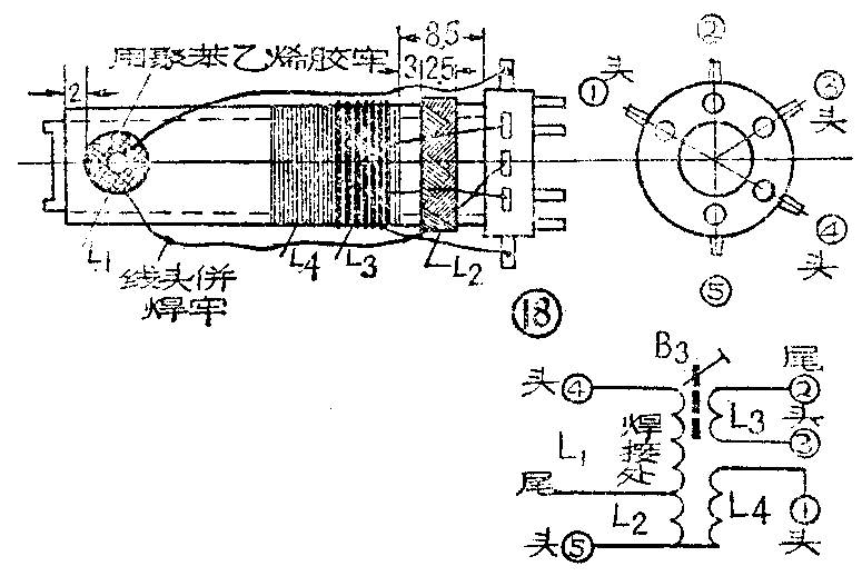
3、短波\(_{2}\)天线线圈(B3)(图18):共有四组线圈。L\(_{1}\)+L2均用QST型φ0.10导线蜂房式绕法。L\(_{1}\)绕在外径φ5毫米塑料管上30圈,L2为20圈。L\(_{4}\)是槽路线圈,用AV1×0.5(1股0.5毫米)塑料线顺向平绕92/6圈。L\(_{3}\)用QST型φ1.8导线从L4第二、三匝间嵌入顺向间绕41/6圈。
L\(_{1}\)+L2从④、⑤点测试,L=11微亨,Q≥40(无磁心时),测试频率2.52兆赫。L\(_{4}\)无磁心时L=0.85微亨,Q≥40,测试频率25.2兆赫。磁心规格为软磁NI-60-BL,M7×0.75×16。

4.中波振荡线圈(B\(_{5}\))(图19):均用QST型φ0.15导线绕于外径φ8毫米塑料管上,先绕L1,15圈;后绕L\(_{2}\),78圈,在第8圈处抽头。
L\(_{2}\)无磁心时,L=68微亨,Q≥20,测试频率2.52兆赫。磁心与塑料管口旋平时,L=110微亨,Q≥50,测试频率7.95千赫。磁心规格为软磁铁氧体M4\(_{3×14}\)。
5.短波:振荡线圈(B\(_{6}\))(图20):均用QST型φ0.18导线顺向平绕,L1中③~④绕31/6圈;④~⑤绕141/6圈。L\(_{2}\)绕61/6圈。L1和L\(_{2}\)之间有一层聚苯乙烯薄膜。L2无磁心时,L=2.2微亨,Q≥80;有磁心时L=4微亨,Q≥100,均用7.95兆赫测试。磁心规格同B\(_{5}\)。
6.短波\(_{2}\)振荡线圈(B7)(图21):均用QJST型7×0.07导线顺向平绕。L\(_{1}\)中③~④绕31/6圈,④~⑤ 攻161/6圈。L2绕51/6圈。L\(_{1}\)和L2之间有一层聚苯乙烯薄膜。L\(_{2}\)无磁心时,L=2.5微亨,Q≥60;有磁心时L=4.3微亨,Q≥100。测试频率为7.95兆赫。磁心规格同B5。

7.中频变压器(B\(_{8}\)9\(_{1}\)0)(图22):第一、二级B8\(_{9}\)均采用TF102P、TF102S双调谐中频变压器。第三级B10采用TTF-2-9型中频变压器。B\(_{8}\)9绕线及圈数如图22所注,并联回路电容为1000微微法,外形尺寸为(10×10×14)毫米、同TTF-2型。


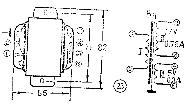
8.电源变压器(B\(_{11}\))(图23):铁心为GE16×32毫米,用D42,0.35毫米厚硅钢片。初级绕组Ⅰ用QZ-2型φ0.15导线绕制,总圈数为1600圈,直流电阻185欧。次级绕组Ⅱ用QZ-2型φ0.53导线绕150圈,直流电阻1.8欧。次级绕组Ⅲ用QZ-2型φ0.31导线绕45圈,直流电阻1.9欧。初、次级间用铜箔片隔离。