在使用扩大机时常常发生令人讨厌的啸叫声,其中原因之一是由于话筒输人信号过强,引起自激而产生啸叫。
我这里向读者介绍一个方法,就是在扩音机的输入端加一个限制放大器,或者叫自动音频增益控制电路,可以有效地防止扩大机自激啸叫。
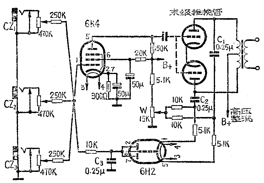
限制放大器的工作原理如图所示。我们知道,五极管放大器的增益为:A=S·R\(_{L}\),S是电子管的互导,RL是电子管的屏极负载电阻。因此,利用遥截止式电子管的变μ特性,改变互异S,就可以达到改变放大器增益的目的。由末级推挽管的两臂,即输出变压器的初级,通过电容器C\(_{1}\)和C2,将信号耦合至6H2的阴极。双二极管6H2将音频信号整流,变成脉动直流。平时由电位器W调节一个合适的电压加于6H2的阴极,使阴极带正电位。当音频信号电压的振幅(负半周)超过阴极上的电压时,就使6H2阴极与阳极相比较带负电位,即阳极对阴极来说带正电位,于是二极管开始导电,马上就有一个与信号电压强度成正比的负电压加到6K4的栅极,使栅极负压增大,互导S减小,增益下降,末级推动电压减小,输出就马上小下来。

如果6H2的偏压调的合适(即电位器W调的合适),使在将要发生啸叫时6K4的放大倍数开始下降,就能使扩大机不发生啸叫。
图中的电容器C\(_{3}\)是起延时作用的,当6H2导通后,送出一负电压对C3充电,这样可延迟0.2~0.5秒的时间才起限制作用。如果不加延时电路,则因限制太灵敏会产生较大的失真,降低扩音质量。
五极管放大倍数大,可以有多组信号输入网路而仍然有较高的增益,较适合农村文艺宣传队演出用。扩大机原有的话筒输入信号电压放大管可不用,这样只添了一个6H2的灯丝负载,扩大机的灯丝电源一般是可以负担的。(彭照平)