目前使用的150瓦扩音机,绝大部分只有输出监听,没有内部收音监听。当用输出监听喇叭监听电台节目选择电台时,收音音量电位器稍一开大,不但输出监听喇叭里有声音,外线路上的喇叭也会发出声音,这是很不方便的。通过试验,我们给飞跃R\(_{15}\)0型150瓦扩音机加装了一个内部收音监听装置,使用起来就方便多了。
新增加的几个元件是:6P6P输出变压器一只;1瓦(或2瓦)8欧喇叭一只;双刀双掷小型开关(或晶体管收音机上用的远、近程开关)一只。
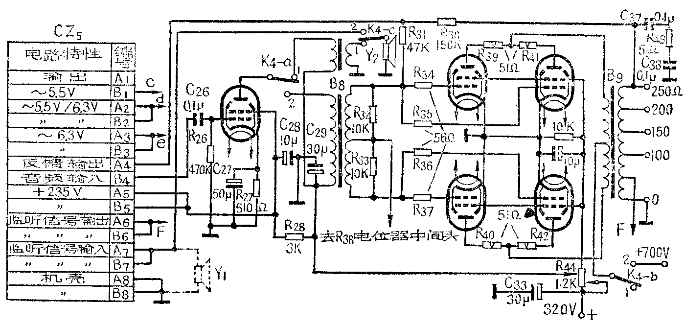
输出变压器装在底盘(扩音部分)底下,靠近激励变压器B\(_{8}\)处;喇叭装在散热盖的中间,以不影响其它元件为宜;小型开关安装在面板电眼指示的左方或右方。改装后的电路如图所示。

当采用内部收听时,小型开关接通6P6P输出变压器,而将激励变压器B\(_{8}\)断开,使扩大部分没有信号输入。此时小型开关还断开了去功率放大机的高压,使功放级不工作,输出线路上的喇叭就不会响。当用内部监听喇叭选择好电台以后,将小型开关拨到另一边,将激励变压器接通,同时扩音机功放级也加上了高压,使扩音机就有输出了。图中采用的是一个三刀二掷的波段开关,这样可将输出监听喇叭接成内部监听喇叭,从而可省掉一只喇叭(图中开关处于收音监听位置)。若为双刀双掷开关, K4-c一刀则没有,输出监听和内部收音监听应各用一只喇叭,喇叭Y\(_{2}\)的一端和“1”点接通(如图所示)。(电工 张宝生)