我们在检修这种收音机时,经常碰到使用9伏电源时工作正常,而在使用交流电源时往往出现收听一段时间后(少则几分钟,多则半小时),两只功放管严重发热,收音机放音显著降低,甚至无声。
检查其原因,是BG\(_{1}\)0反向电流太大而引起交流稳压电源输出电压不稳定,失去稳压作用,原要求输出为9伏左右的直流电压,现猛增至14伏左右。

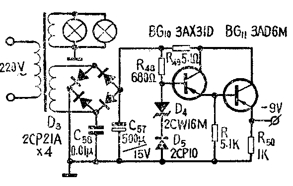
解决办法:在调整管BG\(_{ll}\)的基极与地之间并接上一个5.1千欧左右的电阻(图中R)。该机的印刷电路板上有加装电阻的安装孔。加电阻以后,该机的交流稳压电源输出电压即可稳定在9伏左右。机器恢复正常。
原理:该机采用推挽输出功放,其交流稳压电源采用简单的固定式稳压电路(电原理请参阅本刊75年第6期)。电源负载随前级输入信号大小而变。设在空载时,为保证调整管BG\(_{ll}\)的发射极电阻R50(1千欧)两端输出9伏电压,此时BG\(_{ll}\)的发射极电流应为9毫安;又设BG10和BG\(_{ll}\)的β均为50,则此时BG11的基极电流,也就是BG\(_{1}\)0的发射极电流应为180微安,而BG10的基极电流则为3.6微安。但由于环境温度升高,加上BG\(_{1}\)0本身的温升,BG10的反向电流I\(_{BEO}\)早已大于3.6微安,故调整管BG11的基极注入电流也远大于180微安,而引起BG\(_{11}\)的发射极电流猛增。整流二极管D3×4整流后的输出电压几乎全部降落在R\(_{5}\)0两端,所以输出直流电压猛增至14伏左右。在BG11的基极与地之间并接电阻之后,可使BG\(_{1}\)0产生的反向电流不全部注入RG11的基极,大部分由该电阻短路入地。这就保证了BG\(_{11}\)的工作状态正常,从而保证交流稳压电源有稳定的电压输出。(林纬武)