在工业生产中产品的加工通常要经过有一定次序的几道工序才能完成,一般可采用时间程序控制器来进行自动化加工。时间程序控制有多种多样的,这里所介绍的是用单结晶体管和晶体三极管等元器件组成的简易时间程序控制器。

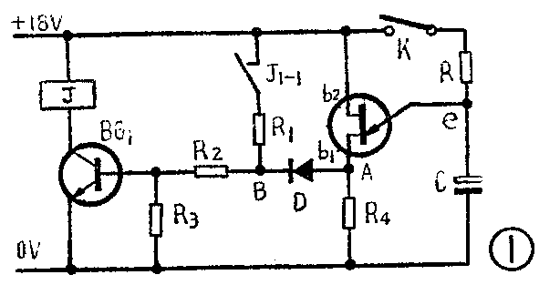
工作原理:图1是由单结晶体管和晶体三极管组成的延时吸合电路。接通电源后,晶体管BG\(_{1}\)的基极处于低电位(B点只有1~2伏),BG1处于截止状态,继电器J不能吸合。合上开关K,+18伏电源经过电阻R向电容C充电。电容C上的电压从0伏按指数规律上升,经过一段时间t,e点电位Ve达到单结晶体管峰点电压Vp后,单结晶体管导通,这时电容C上的电荷经单结晶体管eb\(_{1}\)极和电阻R4放电。在单结晶体管导通的瞬间,A点电位升高,二极管D导通,BG\(_{1}\)基极得到偏流Ib1,BG\(_{1}\)立即饱和导通,继电器J吸合。同时,通过继电器本身触点J1—l使BG\(_{1}\)又获得偏流Ib2,继电器由此获得自锁。这级的延时过程也就结束了。改变RC值的大小,就改变了延时时间。
如果把控制向电容C充电的开关K的闭合,由前一级延时电路中的继电器控制,那么这样的几级同样电路串接起来就可以组成一个简易程序控制器了。一般的工序转换是一个工序结束后再进行下一个工序。只要在这个电路上再加一些元件,就可以解决这个问题。

实际电路:图2是整机控制电路,它是由启动级、程序转换级和电源等组成的。工作过程如下:当开关K合下后,电容C\(_{2}\)在瞬间相当于短路元件。A点电位几乎等于电源电压,二极管D2导通,通过电阻R\(_{2}\)向三极管BG1提供偏流I\(_{b}\),使三极管BG1饱和导通,继电器J\(_{1}\)吸合,通过其触点J1—l自锁使BG\(_{1}\)处于导通状态。在J1吸合后,电源E\(_{C}\)又经过J1的触点加在下一级的充电电阻R\(_{6}\)上。经过一段延时t1后,单结晶体管BT\(_{1}\)导通,随之BG2也饱和导通。当BG\(_{2}\)饱和导通后,其集电极电位变的很低,几乎等于0伏。这时,二极管D3正向导通使B点电位被箝制在几乎也等于0伏。当B点电位变低后BG\(_{1}\)因得不到偏流Ib,BG\(_{1}\)截止,继电器J1释放。当BG\(_{2}\)饱和导通时,继电器J2马上吸合,同时又通过其自锁触点J\(_{2—1}\)向下一级的电容提供充电电流。经一段延时,和上面一样又进行一级程序转换。把继电器接点和被控制的外电路连接上,就可以进行实际程序控制了。
本电路的程序转换控制级数,可以根据机器在实际生产的工作步数来确定。每个工序段的最长工作时间,可由式
t=RCln\(\frac{1}{1-η}\)

来确定(式中R包括电位器W的阻值),式中η为单结晶体管的分压比。In〔1/(1一η)〕的对应值可由表1查出。分压比η最好选高一些,η高对继电器吸合有利。为了提高时间控制精度,电源可改用晶体管稳压电源,充电电容C可改用钽电容。(王福礼)