1.有的电路中,为什么把两个电解电容器的正极与正极或负极与负极对接起来使用?它们的耐压和容量怎样选择?
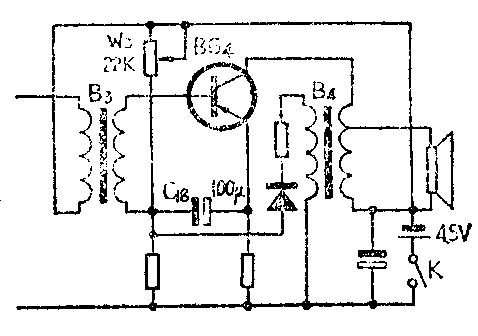
2.在收音机的功放输出级,若采用单管输出,在它的输入电路中,一般都加一个电容(图中C\(_{18}\)),而双管推挽输出却不加这个电容,为什么?

上期“想想看”答案
1.我们知道,电池是一种化学能直接转变为电能的装置,电池在放电过程中,电极要发生极化,放电后的电池内阻增大,就阻碍了离子的传导,使得电池电压降低很快。一般来说,小积层电池是电压高、电流小,而圆筒电池则是电压低、电流大。当6伏积层电池剩下1.2伏电压时,电池内部离子的传导就很困难了,当把它再与4节5号电池串联在一起时,就等于给4节5号电池加上一个大的外电阻,使外电路上电子的传导受到很大阻碍,再加上5号电池本身的电阻,所以在实测电压时就一定小于5.2伏,甚至小到2伏左右。
在日常使用中,新、旧电池、积层和圆筒电池不要串联在一起,就是这个道理。实践证明,串联在一起用,使用时间不仅不会延长而且还要缩短。(北京电池厂技术科)
2.在电位器两端并联上一个电阻,就象两个并联电阻一样,总阻值也会变小。若移动滑动头的位置,其并联的总阻值也随着变化。因此在电路中,可以用并联一个固定电阻的方法,把大阻值的电位器变为小阻值的电位器来使用。在使用时应注意,若原来电位器是线性变化阻值的,那么并联一个固定电阻后,总的阻值变化就不再是线性的了。例如有一100千欧的线性电位器,并联一只100千欧的固定电阻后,总的阻值为50千欧,这时改变滑动触点的位置,总阻值从0—50千欧的变化就不是线性的,因此在用线性刻度盘的电位器上不能采用这种办法。(陈鹏飞)