这种收音机采用无输入变压器和无输出变压器线路,获得较好的频率响应,具有较好的音质,发音宏亮。具备线路稳定可靠、结构牢固新颖、造型美观大方和便于装配生产等特点。
本机采用φ80毫米8欧扬声器,由四节五号电池串联供电,电压为6伏。并附有外接电源插孔和耳塞插孔。该机装有拉杆天线和磁性天线,电声效果较好,可满足广大工农兵收听中、短波调幅广播之用。
一、主要性能指标
频率范围:中波535~1605千赫;短波3.9~12兆赫。
灵敏度:输出5毫瓦、信号杂音比≥20分贝时,中波磁性天线不劣于1.5毫伏/米;短波拉杆天线不劣于150微伏。
选择性:偏调±10千赫衰减不小于16分贝。
输出功率:不失真输出功率大于100毫瓦;最大输出功率大于300毫瓦。
失真:调制度60%、不失真功率100毫瓦、频率500~3000千赫范围内,输出电压、声压的谐波失真为:1000赫以下不大于15%(电压)、20%(声压);1000赫以上不大于10%(电压)、15%(声压)。
假象波道:中波不小于20分贝;短波不小于6分贝。
中频波道衰减:不小于12分贝。
二、电路特点简介
1.中波输入回路采用φ10×140毫米的MXO-400磁棒。为了制造方便,便于大量生产并满足性能指标,不采用分段绕法。短波输入回路采用线圈管,这样可以避免与中波之间的相互干扰而造成不必要的吸收,灵敏度、假象抑制等指标都能得到满意的效果。
2.高频部分的波段开关直接焊在电路板上,可以减少许多连接导线,而且接点之间的距离大大缩短,从而保证高频部分的工作稳定,给生产带来极大方便。
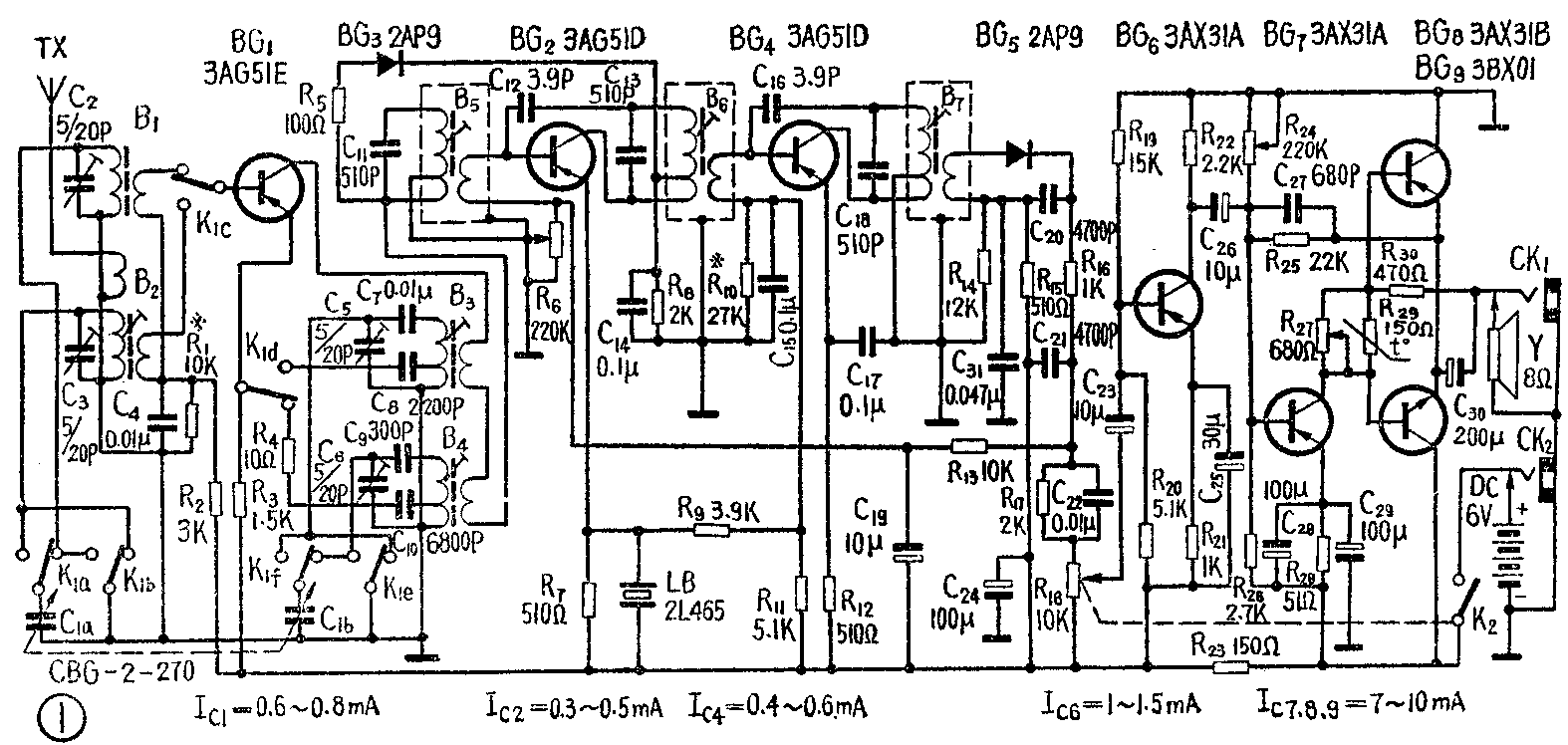
3.中频部分两级中放用三只单调谐中频变压器,采用510微微法谐振电容,可以提高中频部分的稳定性。同时电源供电采用负极接地的方式。在稳定的条件下,为了得到较高的中频增益,本机中额部分的旁路电容均采用0.1微法的独石电容。由于本机的增益较高,就要求有较好的选择性和自动增益控制。因此,在第一中放管BG\(_{2}\)的发射极电阻R7两端并联一只二端陶瓷滤波器。为了加强自动增益的控制作用,除与一般电路程式相同外,本机的第二中放管BG\(_{4}\)的集电极电流Ic也随信号变化。其变化是通过R\(_{9}\),即当外来信号增强时,BG2的I\(_{c}\)小了,在R7上的压降小了,通过R\(_{9}\),使BG4的基极电压也下降,这样BG\(_{4}\)的工作点被改变,即增益减小了,从而起到自动增益控制作用。
4.为了改善检波级的性能,本机的检波二极管BG\(_{5}\)加有负偏压,从图1可看出,由电源正极一路经过R23、 R\(_{15}\)、R14,回到电源负极;由于分压作用,在图中第三中周次级下端对地之间有某一电压;另一路是由电源正极经过电阻R\(_{23}\),R28、R\(_{17}\)、电阻R13、R\(_{6}\)到地回到电源负极,同样由于分压作用,在R17与R\(_{16}\)连接点对地之间有另一电压,按照图中所用各电阻的数值,经过简单计算可知,后一电压比前一电压约高零点几伏,因此在二极管两端加有零点几伏的负偏压。给检波管加负偏压的作用是提高检波级的阻抗。增加检波输出电压,同时失真可以得到改善。
为了提高整机高端的频率响应,在检波输出端有一高音提升网络,即R\(_{17}\)与C22组成。由于检波级的阻抗较高,本机音量控制采用10千欧的电位器。
5.为了进一步改善整机失真,从输出端通过R\(_{25}\)及C27至BG\(_{7}\)的基极,加有较深的负反馈。在保证高音频失真符合要求的条件下,C27的容量不宜太大,本机采用680微微法。
C\(_{14}\),C15、C\(_{19}\)、C31均为旁路电容器。 R\(_{6}\)为一中放基极电流半可调电阻。R30为前置级的负载电阻。R\(_{2}\)0为热敏电阻R501型,用以稳定推挽输出级的工作。
三、主要元件数据
1.中波磁性天线(图3):采用MXO—400φ10×140磁棒。线圈①—②及线圈③—④均采用QJST型7×0.07丝漆包线绕制,圈数如图示,①—②正向密绕,以2.52兆赫测试,空芯时电感为23±5%微亨,Q>110。③—④反向密绕,不测参数,但应无短路及断路现象。


2.短波天线线圈(图4):采用NXO—50 M6×12×1磁芯。各线圈圈数如图示,均顺向平绕。线圈②—③用QST型0.25毫米丝漆包线绕制,无磁芯时L=2.7±5%微亨,Q>85,当磁芯旋入与料底平时L=7微亨,Q>85,测试频率有磁芯时为2.52兆赫;无磁芯时为7.95兆赫。线圈①—②、④—⑤不测电性能,但不应有短路、断路。
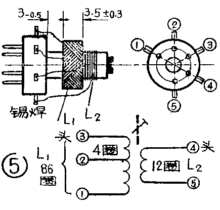
3.中波振荡线圈(图5):采用MXO—40O M6×12×1磁芯。各线圈均用QST型0.15毫米丝漆包线绕制,圈数如图示。线圈③—①在无磁芯时L=72±5%微亨, Q>20,当磁芯旋入与料底平时,L=164微亨,Q>50。测试频率有微芯时为795千赫;无磁芯时为2.52兆赫。线圈③—②与④—⑤不测电气参数,但应无短、断路。线圈①—③用蜂房式绕法,每周二转折。线圈④—⑤顺向平绕。


4.短波振荡线圈(图6):采用MXO—400 M6×12×1磁芯。各线圈均用QST型0.15毫米丝漆包线顺向平绕,圈数如图示。线圈③—①在无磁芯时测试为L=6.4±5%微亨,Q>85;在磁芯旋入与塑料底座平时L=17微亨,Q>60。测试频率无磁芯时为7.95兆赫:有磁芯时为2.52兆赫。线圈③—②、④一⑤不测电性能,但不应有短路、断路。
四、外形结构特点
塑料外壳全部用皮革花纹工艺装璜。后盖、喇叭和各插孔均采用卡固式装配法。机芯仅用两个螺钉固定。调谐旋钮用塑料电镀加工。调谐指示采用卷带式度盘,式样新颖,调台平滑灵活。(天津市渤海无线电厂)



