用电牧栏圈养牲畜,是利用高压脉冲发生器产生高压脉冲,将高压脉冲发生器的输出一端接在牧栏的栏杆线上,另一端接地,如图1所示,当牲畜接触栏杆线时,高压脉冲经栏杆线通过牲畜肌体与地形成回路,给牲畜一个电脉冲刺激,使它受惊立即退离栏杆线,同时使牲畜对栏杆线产生惧怕,不敢再接近栏杆线,以达到圈养的目的。电牧栏高压脉冲发生器输出的电压虽然很高(约10000伏),但输出功率很小,放电电流很小,放电时间也很短(约1/100秒以内),因此人和牲畜碰到电牧栏后不会受到损伤。用电牧栏圈养牲畜,能够节约建筑材料,建圈快,造价低,使用安全可靠。

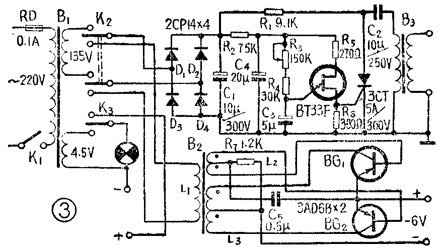
高压脉冲发生器的方框图和原理图如图2及图3所示。电源可采用22O伏交流电或6伏直流电,用开关K\(_{2}\)倒换。当用交流电源时,220伏交流电经变压器B1降压至135伏,再经D\(_{1}\)~D4桥式整流和滤波后得到约160伏直流电,经R\(_{1}\)给蓄能电容器C2充电。电容器C\(_{2}\)的充、放电是利用可控硅3CT来控制,可控硅在这里可以近似的比做一个开关,而控制可控硅开关的触发脉冲是由单结晶体管弛张振荡器提供的。有触发脉冲时,可控硅导通,相当于开关闭合,电容器C2经高压脉冲变压器的初级绕组放电,在次级升压输出10000伏高压脉冲(空载)。当放电电流过零时,可控硅自动关断,相当于开关打开,电容器C\(_{2}\)又重新充电,可控硅获得下一个触发脉冲时,高压变压器又输出一个高压脉冲,调节R3可调节触发电路输出脉冲的频率,调节范围为50~90次/分钟。


直流变换器是用两个三极管BG\(_{1}\)、BG2组成的变压器耦合共发射极推挽式变换器。它的作用是将6伏直流电源变换成160伏矩形交流电,供给高压脉冲发生器作电源。变压器B\(_{2}\)选用MXO-2000罐形磁心,规格G26×16。L1用φ0.09毫米漆包线绕380匝,L\(_{2}\)用φ0.1毫米漆包线绕4.5匝×2组,L3用φ0.31毫米漆包线绕13匝×2组。
栏杆线一般用三层左右。最低层线与地距离:养猪为20~25厘米,养牛为25~30厘米。最高层线的高度一般为牲畜高的3/4~4/5。有效围长为1000米。(天津市整流器厂 巴雅)