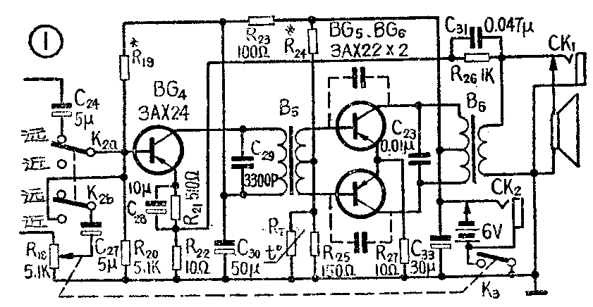
六管半导体收音机的低频放大电路,是指从检波以后直到喇叭输出的那部分电路,它包括二级或一级低频电压放大电路和一级功率放大电路,图1仅画出了后两级电路,还有一级低频电压放大是由中放管兼任(远、近程开关放在“远”程位置),检波输出的低频或叫音频信号受音量电位器R\(_{18}\)控制,由C27送回第二中放管BG\(_{3}\)进行来复低放(参看去年本刊第9期23页),再由C24将其输出耦合到BG\(_{4}\)管进行第二级低频电压放大。当接收近地电台时,远近程开关放在“近”的位置,此时由于信号强,只要一级电压放大就够了,所以检波输出的低频信号直接通过C27加到BG\(_{4}\)管基极。

BG\(_{4}\)管组成推动级(也叫末前级),它将音频信号进行第二级电压放大后,由输入变压器B5将信号耦合到BG\(_{5}\)、BG6两管组成的推挽功放级,进行功率放大,又经输出变压器B\(_{6}\)耦合,以一定的功率去推动喇叭放音。
图1电路为变压器耦合放大器的典型电路,其工作原理和一般计算请参看本刊1974年7、8、9期的“晶体管讲座”中的文章,这里不再重述。但作为收音机的低频放大电路,还有它的特殊性,下面分四方面来谈。
一、怎样使输出功率满足要求?
收音机低放部分的主要指标是要满足一定的不失真功率输出,譬如图1电路要求在输入信号V\(_{S}\)≥5毫伏时,其输出信号的非线性失真要小于10%且输出功率应大于100毫瓦(相当于音圈阻抗为8欧的喇叭上有0.9伏以上的输出电压)。为此,推挽功放级要有足够的功率增益;且推动级虽然主要是电压放大器,但必须有一定的功率增益,否则不足以推动末级功放。

要使放大器获得最大功率输出,必须使放大器工作在与负载阻抗相匹配的状态,简单地说,就是放大器输出阻抗必须与负载阻抗相等。为什么呢?我们可以将放大器输出端简化成图2的等效电路加以解释。其中e\(_{o}\)为输出电压,Ro为输出阻抗,R\(_{L}\)为负载阻抗。负载RL上得到的电压V\(_{L}\)可按Ro与R\(_{L}\)的分压比进行计算,即
V\(_{L}\)=RLR\(_{o}\)+RLe\(_{o}\)
R\(_{L}\)上得到的功率则为
P\(_{L}\)=VL\(^{2}\)R\(_{L}\)=(RL;R\(_{o}\)+RL·e\(_{o}\))2/RL
=R\(_{L}\)eo\(^{2}\)/(R\(_{o}\)+RL)2
若e\(_{o}\)=1伏,Ro=1千欧,而R\(_{L}\)=1千欧,即放大器工作在匹配状态,这时
P\(_{L}\)=\(\frac{1}{(1+1)}\)\(^{2}\)×12=1/4瓦=0.25瓦。
若放大器工作在不匹配状态,譬如R\(_{L}\)'=0.5千欧,则PL'=〔0.5/(1+0.5)\(^{2}\)〕×12=0.22瓦;又若R\(_{L}\)"=2千欧,则PL"=〔2/(1+2)\(^{2}\)〕×12≈0.22瓦。
很显然,只有当R\(_{o}\)=RL时,负载上得到的功率才最大,也就是说放大器才有最大功率输出。放大器的这种工作状态叫做匹配状态,而任何不匹配状态都不能得到最大功率输出。
阻容耦合放大器是很难做到匹配状态的,因为共发射极电路的特点就是它的输入阻抗低、输出阻抗高,因而将同样的两级共发射极电路的放大器用阻容耦合级连起来,尽管我们在电路安排上尽可能考虑到阻抗问题,其不匹配程度也是相当大的。
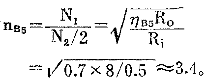
变压器耦合放大器比较容易做到匹配状态,因为它可以设计合适的变压器初、次级绕组的圈数比,来满足两级放大器的阻抗匹配。譬如在图1电路中,推动级用的是3AX24,查晶体管手册,可知其工作在共发射极电路时的输出阻抗≥6千欧;功放级两管BG\(_{5}\)、BG6都用3AX22,它的输入阻抗R\(_{i}\)=0.35~1.5千欧。
如果取R\(_{o}\)=8千欧,Ri=0.5千欧,输入变压器的效率ηB\(_{5}\)=70%,则可计算出输入变压器B5的初级圈数与次级一半圈数的比值为:

用这样的圈数比绕制输入变压器B\(_{5}\),就可使推动级的输出阻抗Ro与功放级的输入阻抗R\(_{i}\)得到匹配。
作为级间耦合的变压器,其初、次级圈数比计算中,直接引用晶体管手册中给出的参数,必须注意到两个情况:其一是手册中给出的参数条件,即管子的工作状态(例如管子工作在何种电路,所加的直流工作点、工作频率等)与实际电路是否接近;其二是变压器初、次级的绕线电阻是否能忽略。
上述圈数比n\(_{B5}\)计算中,3AX24实际工作在Ic4=1.1~1.3毫安,与手册中给出的输出阻抗R\(_{o}\)的条件较为接近,另外,绕线电阻与Ro相比很小,可以忽略,所以直接引用手册中给出的参数。
对于功放级来说,管子都工作在大信号状态,无论静态、动态工作电流都较大,与手册中管子的工作状态大不相同,故不能直接引用,以免造成很大差错。因此,圈数比n\(_{B6}\)必须根据功放级实际工作状态进行计算。例如图1电路,要求输出功率PL=100毫瓦,所用电池E\(_{C}\)=6伏,喇叭阻抗RL=8欧,若输出变压器B\(_{6}\)的效率ηB6=80%,则功放输出需要P\(_{L}\)'=PL/η\(_{B6}\)=100/0.8=125毫瓦;再考虑到过载系数m=20%(信号过强时应留有余量),实际输出功率应为PL"=P\(_{L}\)'(1+m)=125×1.2=150毫瓦。对于推挽功放来说,其集电极负载(即推挽级单边输出阻抗)Ro=E\(^{2}\)C/2P\(_{L}\)"=62/2×150×10\(^{-}\)3=120欧,可见比手册中给出的输出阻抗值(大于5千欧)低很多。另外,对于这样低的输出阻抗,变压器B6的绕线电阻就不能忽略了。譬如B\(_{6}\)的初级绕线电阻r1≤36欧,相比于功放所要求的匹配阻抗R\(_{o}\)=120欧,就占了很大比例;B6的次级绕线电阻r\(_{2}\)≤1.5欧,相比于8欧的喇叭负载,也占了很大比例。因此,考虑到绕线电阻的情况下,其阻抗应为Ro=r\(_{1}\)+n2B6(r\(_{2}\)+RL),即
n\(_{B6}\)=\(\sqrt{(}\)Ro-r\(_{1}\))/(r2+R\(_{L}\))
=\(\sqrt{(}\)120-36)/(1.5+8)≈3
实际上B\(_{6}\)的初级是用Q型φ0.12毫米漆包线绕2×330圈,次级用Q型φ0.27毫米漆包线绕110圈,故圈数比nB6=(N\(_{1}\)/2)/N2=330/110=3,符合要求。如果我们忽略绕线电阻,则圈数比变成
n'\(_{B6}\)=\(\sqrt{η}\)B6R\(_{o}\)/RL=0.8×120/8=3.46,
这与实际出入就较大,按这样的圈数比绕制B\(_{6}\),就不能使功放级工作在匹配状态。当然得不到最大功率输出。
匹配的问题解决以后,就已有了得到最大功率输出的必要条件,要使放大器有最大功率输出,还必须具备其他充分条件。首先要考虑与放大器功率增益直接有关的管子的电流放大系数β值。一般收音机低放电路中,最好选用β≥60的管子。由于功放管工作在大信号状态,管子β值可比推动级用得稍低些。低放管β值当然也不宜过高,太高了容易造成低放自激。另外,推挽功放两管的β值最好一致,否则将引起信号失真;但实验证明,两管β值若相差在30%以内,引起的失真约小于6%,一般听觉尚不易辨别,声音也还是可以的。(待续)(金国钧)