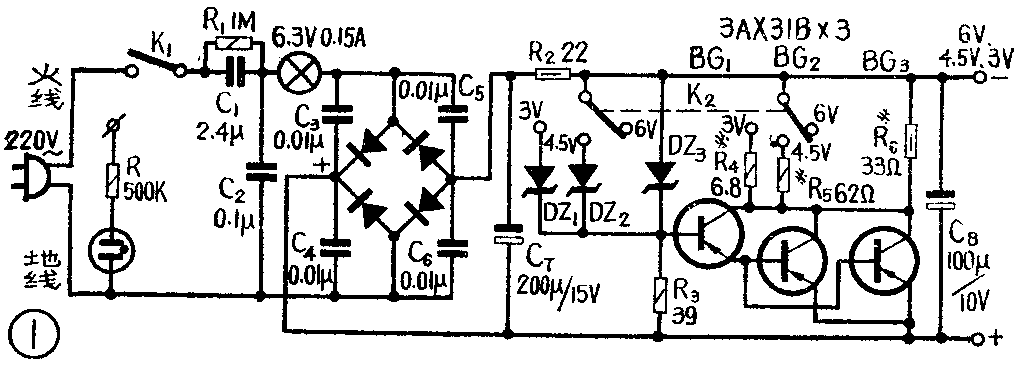
这里给大家介绍的稳压电源是不用电源变压器的。它利用一个电容器把市电220伏降至整流器需要的几伏电压,包括电容降压电路、整流滤波电路及稳压电路三部分,见图1。线路简单,且不怕偶然性过载和短路。

由于外加220伏电压绝大部分要降在电容器上,所以电容数值的选取基本上取决于输出电流。在220伏、50赫的市电条件下,降压电容数值与输出电流的关系近似如下式:C=15I,式中I为输出电流,单位安培,C的单位为微法。在图1中,按输出电流为160毫安,选取C=2.4μf。由于硒整流片的损耗,实际输出的电流只有140毫安左右。
使用电容降压时,容抗比负载阻抗大得多,用普通串联式稳压电路不容易输出稳定的直流电压,因此,本线路采用了并联式晶体管稳压电路。考虑到晶体管收音机所用电源不同,设置3、4.5、6伏三档电压输出。
稳压过程
并联式稳压电路原理,可以用图2来说明。

设负载电阻R\(_{L}\)变小而使负载电流Ic增加。这样总输出电流I=I\(_{e}\)+Iz+I\(_{c}\)将增加,使R1上的电压降U\(_{R1}\)增加。在U入不增加的情况下,由于U\(_{入}\)=DR1+U\(_{RL}\),所以UR1增加时输出电压U\(_{RL}\)必然减小。又由于URL=U\(_{Z}\)+UR2,而U\(_{Z}\)是稳压管两端的电压,它是恒定的,所以URL减小时只有U\(_{R2}\)减小,即晶体管的基极——发射极间电压Ueb减小。这就使基极电流I\(_{b}\)减小,于是Ie就减小,使得I减小,抵消了原来由于R\(_{L}\)的减小所引起的I的增加,从而维持了I的基本不变,使得输出电压URL保持稳定。
再设由于电源电压U\(_{入}\)增加而使总输出电流I增加,这时输出电压URL将增加。因为U\(_{Z}\)不变,所以UR2必增加,于是引起I\(_{b}\)增加,使Ie也增加,把I增加的部分变成了I\(_{e}\)的增加,从而维持了Ic基本不变,以保持U\(_{RL}\)为不变的稳压输出。
从上述两种情况可见,不论是负载变化还是电源电压变化所引起的I的变化,最后都转化成晶体管电流I\(_{e}\)的变化,从而使Ic不变,维持了输出电压的稳定不变。
由于调整管和负载是并联的,所以称为并联式稳压电路。这个电路的输出电压基本上是由稳压管D\(_{Z}\)的稳定电压UZ来决定的。
元件的选择及用途
为了在输出较大电流时得到校好的稳压效果,在图1中用BG\(_{1}\)、BG2、BG\(_{3}\)三个管子组成复合管作为调整管用。其中BG2、BG\(_{3}\)是并联运用的,这是因为在空载时输出电流要全部流过这里,若只用一个3AX31B,不能满足功率损耗的要求。在选BG2、BG\(_{3}\)管时应注意它俩的β值应一致。复合调整管的集电极在不同输出电压档接有不同的电阻,用以减小管子空载时的功率损耗。选择这些电阻时,要满足在空载情况下使管子的集电极损耗小于容许值。在本例中,集电极电流为130毫安、集电极电压为1.8伏左右,电路空载时管子的损耗为234毫瓦。而3AX31的PCM≥125毫瓦,所以用两只管并联可以满足要求。BG\(_{1}\)可以用3AX型晶体管,β最好大于30。BG2、BG\(_{3}\)用PCM≥125mw、I\(_{CM}\)≥30mA的晶体管,一般常用的3AX型低频管大都符合要求,但应注意两管的参数与特性应尽量一致。为了改善散热条件,在管壳上要加上用铜片作的散热片。若有较大功率的晶体管如3AX81等,用一只就可以了,但因3AX81的PCM≥3200mw,所以需重新调整集电极电阻R\(_{4}\)、R5、R\(_{6}\),使集电极电压在各档空载时均为1.4伏左右。另外也要加散热片。
我用的组合调整管的发射结电压为0.4伏,要保证输出电压为6、4.5、3伏,稳压管的稳压值U\(_{Z3}\)应为5.6伏、UZ2应为4.1伏、U\(_{Z1}\)应为2.6伏。
降压电容C\(_{1}\)用纸介金属膜电容器或纸介油浸电容器,它的耐压值应大于220×1.414(伏),一般用400伏耐压就可以了。为了避免电源断开后电容上仍有电荷,在C1两端跨接了一个1兆欧的泄放电阻R\(_{1}\)。电容C2、C\(_{3}\)、C4、C\(_{5}\)、C6均为消除调制交流声和其它高频干扰而设置的,C\(_{2}\)为耐压250伏的纸介电容。C7、C\(_{8}\)为滤波电容。R3为稳压管的限流电阻,使稳压管工作电流为10毫安左右。
桥式整流器用4片40×40mm\(^{2}\)的硒片组成,也可以用2CP型或其它型整流二极管,只要每个整流元件的整流电流≥150mA就行。K\(_{12}\)为双刀三掷开关,用来选择所需的某档直流电压。电源工作指示灯用6.3V、0.15A的小灯泡,因它是串接在回路中,所以也相当于一只保险管,若它烧毁应及时更换,否则无直流电压输出。

R与氖管组成了一个检查电源火线与地线的电路。从电路中可以看出,若用手摸R的上端,当氖管与电源地线相连时,氖管不起辉;若是与火线相连则起辉。R上端引接在面板的一个小螺钉上。K\(_{1}\)为电源开关。从图中可以看出,火线必须接到有降压电容器的那一边。若电源插头插反,则火线就经整流器直接通到输出端,这是不安全的。因此未辨明电源进线之前不要碰输出端。制作者若有双刀电源开关的话,可以在电源进线和氖管指示电路后面加双刀开关,这样可以在把后面电路断开的情况下检查火线,以免输出端带电。整个电源面板及内部结构如图3所示。元件不多,可采用连线焊接的方法焊在一块胶水板上,壳体是用铁皮作的。在安装时为了防止壳体与内部元件相碰,中间夹一层塑料布。制作者可根据自己现有材料,选取不同壳体结构。
使用及注意事项
使用时,先把电源开关置于“断”的位置,再插电源插头,用手触及面板上“插头指示”的螺钉,若氖管发亮,说明插头插错了,应把插头反过来重插,这时手碰螺钉指示应不亮。然后合上电源开关,6.3伏工作指示灯应亮,说明电源开始工作。直流电压输出由面板上的两个接线柱引出。本电源由于用的不是正品管子,稳定度稍差些,当电源为220伏时,负载电流从零变到100mA时,输出电压变化不大于0.6伏。若用好的稳压管,稳压程度将会更高。
使用时尽量避免长时间空载,因为空载时调整管的损耗功率很大,所以不用时要随手关掉电源开关,节约用电。另外使用时一定要把电源插头插紧插牢,以免松动,来回一碰,忽开忽关,可能会由于不断流过冲击电流而烧坏工作指示管。(工人 杨凤鸣)