咏梅744型台式半导体收音机,是由我厂工人、技术人员、干部三结合试制成功的一种面向农村的普及型半导体收音机。这种收音机采用大型通用元件,性能可靠,使用维修方便,电源采用1号电池四节(6伏),可用二个月以上,结构做成台式,采用较大口径扬声器,放音宏亮悦耳,加以售价低廉,颇受城乡广大工农兵群众的欢迎。该机外观具有大形台式机的风格(该机外形改进后型号改为751型)。
一、主要性能指标
频率范围:535~1605千赫。灵敏度:优于2毫伏/米。选择性:优于14分贝(偏调±10千赫)。输出功率:额定值大于150毫瓦;最大可大于300毫瓦。失真度:200~400赫不大于15%;400~2000赫不大于10%。假象波道衰减:不小于16分贝。中频波道衰减:不小于10分贝。
二、电路原理及特点
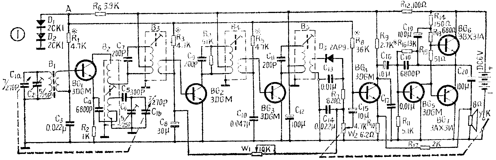
1.中波输入回路采用较长磁棒(φ10×160毫米)。输入回路线圈采用分段绕制法,从而改善了输入回路的Q值,提高了整机的接收灵敏度。
2.变频采用共基调发振荡电路,振荡线圈B\(_{2}\)采用通用元件LTF-2型,起振容易,频率稳定,变频增益较高。
3.中放级各管均采用高频小功率硅管。为了便于维修,几级中频变压器B\(_{3}\)4\(_{5}\)采用通用件TTF-2-1、TTF-2-2、TTF-2-3型中频变压器,由于硅管输入阻抗较高,使中频回路的通带较窄,为了改善通带及防止中频自激,在第二级中频变压器(TTF-2-2,红色)的初级并联电阻R4。
4.在变频、中放、低放的偏置电路中加有由D\(_{1}\)、D2和R\(_{6}\)组成的稳压装置,利用硅二极管的正向导通特性,使D1、D\(_{2}\)与R6的连接点(图1中A点)到地之间的电压稳定在1.15伏左右,从而稳定了各级的基极电压,使整机具有良好的降压性能,即当电压由6伏降到4.5伏时,仍能满意地收听,延长了电池的使用寿命。
5.末级低频功放电路采用一只PNP型锗管3AX31A和一只NPN型锗管3BX31A组成无变压器互补推挽电路,有效地改善了频率响应,使音质清晰悦耳。
BG\(_{5}\)是激励管,它的直流负载是R14、R\(_{13}\)和R15。调整R\(_{16}\),可使BG5处于甲类工作状态。BG\(_{6}\)和BG7两管极性相反,特性参数基本相同,调整R\(_{15}\)可使R15上的压降等于BG\(_{6}\)、BG7处于接近截止状态下两管的基、射极间电压之和,即V\(_{be6}\)+Vbe7≈0.2+0.2≈0.4伏。
当有信号输入时,信号被BG\(_{5}\)放大,由于R13》R\(_{15}\),可以认为被放大后的信号同时作用于BG6、BG\(_{7}\)两管的基极。加到末级的信号为负半周时,BG7导通,BG\(_{6}\)截止,信号被放大后通过C20加到扬声器。当信号为正半周时,BG\(_{6}\)导通,BG7截止,信号被BG\(_{6}\)放大,放大后的信号也通过C20加到扬声器。扬声器上正、负两个半波信号叠加,就得到一个完整的信号。
图1中R\(_{17}\)的作用是形成深度负反馈,以减小失真,改善音质。C18为反馈电容,用以衰减高音,改善频响。由于前置低放管BG\(_{4}\)采用了高频小功率硅管,为了防止自激,改善频响,在它的集电极与地之间加了电容C17。
这部分电路的详细工作原理及调整方法请参看1974年7、8合期《无变压器功率放大电路》和今年1、2合期《半导体收音机互补电路故障的检修》两篇文章。
三、结构工艺特点
本机有四“大”特点,即大机壳、大喇叭、大电池、大电位器。整机结构比较简单,上马快,成本低。机壳用木屑层压板代替三合板或五合板,大搞综合利用,为国家节省木材。机壳外表采用人造木纹漆,以代替花纹塑料贴面。
四、元器件选用
1.磁性天线:初级线圈用0.07×7纱漆包线绕39匝,分两段绕;次级线圈用0.07×7纱漆包线绕8匝。
2.晶体管选用:见表1。
表1
晶体管 用途 放大倍数 穿透电流
(β) (I\(_{ceo}\))
3DGM 变频 40~60 ≤1μA
3DGM 第一中放 30~50 ≤2μA
3DGM 第二中放 50~100 ≤2μA
3DGM 前置低放 80~160 ≤2μA
3DGM 激励级 120~250 ≤2μA
3BX31 互补功放 >65 ≤1 mA
3AX31 互补功放 >65 ≤1 mA
3.稳压二极管:采用2CK、2CP或2CC系列硅二极管。正向电阻8~13千欧;反向电阻>400千欧。
五、使用与维修
1.本机各级电流电压数据如表2所列。修理时,如所测数据与表列数据相差很大,必须调整或更换元件。

2.偏置稳压点(图1中A点)电压应在1~1.2伏之间,如过大或过小,整机性能就不会正常。有时因二极管碎裂或开路,使稳压点电压升高,会引起整机自激。
3.若各级电流正常,用螺丝起子敲各级基极均能听到“格格”响声,但仍收不到电台,往往是因为本机振荡停振的原故,可以将万用表电压档并在R\(_{2}\)两端,然后短路电容器振荡连,若电压指示无变动,即是停振。如有跌落变动,即有振荡。停振在晶体管无损坏的条件下,一般是由于振荡线圈受潮,Q值大幅度下降所致,只要更换振荡线圈即可。
4.低放失真,往往是由于推挽管电压不平衡所引起,需调整平衡电阻R\(_{15}\),使BG6、BG\(_{7}\)发射极到地之间的电压在2.9~3.1伏之间。(无锡无线电五厂)

