在兄弟厂的支持下,我厂试制了一种“DP\(_{2}\)-12”普及型电子调谐高频头,它采用了两只相配对的变容二极管。经装在23厘米黑白电视机上使用(在不同的频道和距离上),效果较好,主要性能均能达到机械式高频头的指标。
电子调谐式高频头具有无触点、可靠性好、结构简单、体积小、易于实现电视节目的预选、遥控等优点,是调谐器的发展方向。
主要性能
1.频道数:12。
2.输入阻抗:75欧(不平衡)。
3.输出阻抗:75欧(不平衡)。
4.输出特性:加上等效负载后,出现频率为27.75兆赫~34.25兆赫的双峰或单峰特性。
5.增益:高放级大于10分贝;各频道总增益大于20分贝;各频道增益差小于10分贝。
6.自动增益控制:控制范围大于20分贝;起控电压为2—2.5伏。
7.调谐电压0~26伏。
8.转换和开关电压均为12伏(1~5频道接通转换电压,不加开关电压;6~12频道相反)。
原理和电路
一般机械调谐式高频头,是用机械调谐的方法,改变调谐回路中的电感线圈,达到转换频道的目的;而电子调谐式高频头是用改变调谐回路电容的方法来转换频道,类似于收音机的调谐方法。但调谐回路中的可变电容不是一般收音机用的可变电容,而是一种名叫“变容二极管”的结电容。

变容二极管是一种半导体器件,它的结构、伏安特性和一般二极管相似,不同的是结电容的变化范围大。PN结(阻挡层)上所加反向偏置电压的大小不同,PN结的厚度也不一样,因而结电容也不相同,这相似于一个可变电容器(如图①a)。变容管的符号见图①b,其电容量随所加偏置电压大小的变化关系如图①c。电容量的变化,直接影响调谐回路频率的变化,因此可以用控制直流电压变化来实现频道转换。这就是电子调谐的基本原理。
由于变容管结电容变化范围不能满足覆盖12个频道的要求,所以将12个频道分为高、低两个频段,并用开关二极管实现高、低频段的转换。开关管截止时,接收低频段1~5频道的电视信号;开关管导通时,将调谐回路中的线圈短路一部分,接收高频段6~12频道的电视信号。

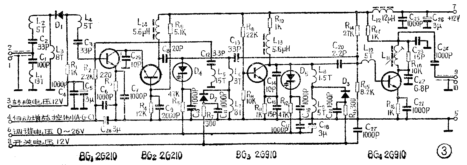
高频头的印刷电路板图及元件排列位置图见图②,它由输入回路、高放级、本振级、混频级和输出回路组成,电路图见图③。

1.输入回路:C\(_{1}\)L1组成中频陷波器。L\(_{2}\)L3L\(_{4}\)和C2C\(_{4}\)组成宽带滤波器,当加上12伏转换电压时,D1导通,低频道45~100兆赫的信号通过,高频道信号衰耗。不加转换电压时,高频道信号通过,而低频道信号衰耗较大。
2.高放级:采用具有正向自动增益控制特性的2G210管组成共发、共基串接电路,兼有共发射极电路增益较高、共基极电路工作稳定的优点。高放级的输出回路由变容管D\(_{4}\)和电感线圈组成单调谐回路。L6加L\(_{7}\)为低频段调谐线圈。当加上开关电压(12伏)后,开关管D2导通,L\(_{7}\)被电容C11短路,只有L\(_{6}\)起作用,谐振于高频段。为了消除晶体管工作在甚高频时因内部电容的负反馈作用所引起的增益下降,电路中加接了L5、C\(_{12}\)组成的中和电路,也可相对地提高高频道增益。
3.本振级:采用电容三点式振荡电路。它由本振管2G910、电容C\(_{14}\)、C15及变容管D\(_{5}\),和电感线圈L3、L\(_{9}\)并联而成的调谐回路组成。同高放级一样,开关管D3导通时振荡电路工作于高频段,反之为低频段。在高频段或低频段内,由改变加到变容管D\(_{5}\)上的调谐电压来改变振荡频率。这种电路输出阻抗高,结电容小,振荡稳定,而且不易停振。
4.混频级:采用2G910管组成共发射极电路。高放级和本振级输出的信号都加到混频管的基极上,可以得到较大的增益。产生差频的原理和收音机变频原理一样。
5.输出回路:由L\(_{11}\)、C22、C\(_{23}\)组成中频带通滤波器,调谐于27.75—34.25兆赫中频频率。
制作要点
“DP\(_{2}\)—12”普及型电子调谐高频头的制作工艺较简单,这里谈谈在制作中应注意的几点。
1.制作印刷电路板时,应考虑尽可能地减小分布电容,而且接地要良好。
2.金属外壳应保证屏蔽良好。
3.元件的焊接引线应尽量短,紧靠电路板,避免高频衰耗增加。焊接变容二极管要快,时间不能长,以免损坏管子。
6.线圈脱胎绕制,采用直径0.41毫米漆包线,高频段线圈用直径0.69毫米漆包线。最好用QA-1型漆包线。
元件的选择
1.变容二极管:最大电容与最小电容之比一般要求为4.5倍左右,最小电容约2~5微微法,最大电容约18~25微微法,反向击穿电压应大于25伏,变容管电容在20微微法,频率在50兆赫时,Q值应大于60。两只变容管配对时参数的差异应小于2%。
2.开关二极管:反向电压大于20伏,微分电阻小于2.5欧,结电容小于1微微法。
3.晶体管:高放级β在30~100,f\(_{T}\)大于500兆赫,两只管的β值相差在5%以内。本振级、混频级β在30~100,fT大于300兆赫。
4.阻容元件:电阻全部采用稳定性好,噪声小的金属膜电阻,误差应小于5%。电容除电解电容外,均采用高频瓷片电容,误差应小于5%。电感除自制线圈外采用色码电感。
自行制作时,若无变容二极管,可用微调空气双连电容代替,容量为3~20微微法。色码电感可用NX0—10高频磁心或电视机中周螺纹磁心,用直径0.09毫米漆包线绕制;6微亨绕18圈,12微亨绕32圈。
调试
电子调谐高频头的调试方法与机械式高频头大同小异。电子调谐高频头是连续调谐的,要求改变变容二极管的电容时,要保证和本振有良好的跟踪。收音机的“三点跟踪”原理可用于电子调谐高频头。调试过程如下:
1.调整各级晶体管的工作点:高放级BG\(_{1}\)电流约为2~2.5毫安;BG21~2毫安;本振级BG\(_{3}\)3~4毫安;混频级BG42~3毫安。
2.调中抗线圈:调L\(_{1}\)的电感量,使陷波点位于28兆赫。
3.调中频特性:在高频头输出端接一等效负载,调L\(_{11}\)的电感磁心,使中频特性符合图④的要求。

4.调高放特性:用BT—3型扫频仪观看频率特性。先调试6~12频道,接通12伏电源和开关电压,调谐电压从0变到26伏,高放特性曲线应依次从第6频道的移到第12频道的。如特性不符合图⑤的要求,调整L\(_{6}\)使至符合要求。然后关断开关电压,接通转换电压调试1~5频道的特性。当调谐电压从0变到20伏时,高放特性曲线应依次从第1频道的移到第5频道的,调整L7使至符合要求。可允许频带宽度超过要求。
5.调本振频率:
在高于高放特性曲线中心频率31兆赫处用扫频仪观看本振频率。按照规定的各频道的本振频率数值,调整L\(_{8}\)、L9,使各频道本振频率符合要求。用HFJ—8型超高频毫伏表测量本振信号电压,应在100~200毫伏。
6.调总特性:将BT—3型扫频仪输入探头接于高频头输出端等效负载两端,接通电源和开关电压,调谐电压从0变到26伏,依次观看6~12各个频道的总特性曲线。如增益不够或有个别频道欠好,应修正L\(_{6}\),检查本振频率,使达到最佳。然后再观看1~5频道总特性。断开开关电压,接通转换电压,调谐电压从0变到20伏,如有个别频道总特性曲线欠好,应修正L7,检查本振频率,使达到要求。总特性的调试是个统调的过程,有时要重复前面的过程,反复调整。测试完毕,用聚乙烯醇胶将所有线圈封固,以免变动。
电调谐高频头的频道位置,决定于所加调谐电压的大小,本文末列出了各个频道调谐电压的大致数值。因为各个变容管的倍率、C-V特性、Q值等不完全相同,所以各高频头同一频道的调谐电压都不相同,表中的电压值,只是大概的范围,供找寻频道位置参考。
在没有测试仪器的情况下也可以进行调试。可模仿调收音机统调的方法,将高频头接到电视机上,进行收看调试。先调好各晶体管的工作点。有高频道电视广播的地方,应先调整高频道,再调低频道。调低频道时,将转换电压接上,将调谐电压调至要收看的电视频道的电压值,再左右调节调谐电压电位器,寻找电视图象和伴音。若能看到图象或能听到一点伴音,说明已接近要收看的频道位置。再细心调整,使图象尽可能好些或伴音尽可能强些,这时调谐电压已调到了要接收的频道位置上。然后再调L\(_{11}\)线圈,使图象和伴音能同时出来。若不能达到同时调好,再拨动高放调谐线圈和本振线圈,再重复调L11,使图象清晰,伴音响亮。如图象和伴音还不能同时调好,主要是高放级没调好,频带窄的原因,应对高放线圈进行修正。一般如电路没有接错或没有其它问题,反复调整几次,均能达到目的。在电视台较多的城市,应先调整中间的频道,然后再调其他频道。高频道的调试方法与低频道相同。
从第1频道到第12频道的调谐电压,单位为伏,分别为3;4;6;10;15;5;6.5;9;12;15;18;24。(浙江省建德县燎原无线电元件厂技术组)