江南农村冬季红萍、水浮莲等作物的越冬保种,早春蚁蚕的繁育等都需要保温,当温度低于某一界限时就需要采取加温措施。早稻育秧为防止暗霜的为害,也需要低温报警,以便及时采取防霜措施。我们针对这些问题,自制了一台低温暗霜报警器。把报警器的传感元件放在室外,其余部分放在室内,遥测室外温度,夜间如发生低温暗霜就会自动报警,也可用来测量记录水稻田间的温度等。

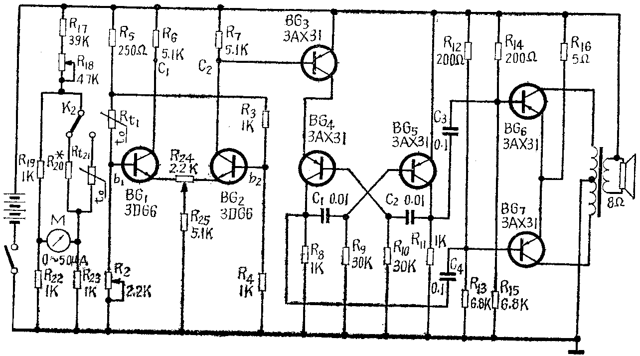
报警器的电路如图所示,它由输入电桥(R\(_{t1}\)~R4)、差分放大电路(BG\(_{2}\)、BG2)、开关电路(BG\(_{3}\))、多谐振荡电路(BG4、BG\(_{5}\))、功放电路(BG6、BG\(_{7}\))和测温电桥(R17~R\(_{23}\))组成。Rt1是报警测温元件—热敏电阻,当温度在报警温度以上时,输入电桥的R\(_{t1}\)·R4≤R\(_{2}\)·R3,b\(_{1}\)点电位大于或等于b2点电位,差分放大器输出端C\(_{1}\)、C2间无电位差,或C\(_{1}\)点电位小于C2点电位,BG\(_{3}\)截止,BG4因发射极悬空也截止,多谐振荡器不工作。当温度降到报警温度以下时,R\(_{t1}\)·R4>R\(_{2}\)·R3,b\(_{1}\)点电位小于b2点电位,差分放大器输出端C\(_{2}\)点电位小于C1点电位,BG\(_{3}\)发射结正向偏置,BG3导通,使多谐振荡器也工作,它的振荡频率在音频范围内,再通过功放管BG\(_{6}\)、BG7放大,发出报警信号。
元件安装完毕,检查无误后接通电源,先调整功放级偏流电阻R\(_{13}\)、R15使BG\(_{6}\)、BG7工作电流在2~4毫安左右,然后将BG\(_{3}\)的集电极和发射极短路,检查BG4、BG\(_{5}\)是否振荡,最后再调整差分放大级,将热敏电阻Rt1放在稍高于需要开始报警的温度环境中,调整电位器R\(_{2}\)使Rt1·R\(_{4}\)=R2·R\(_{3}\),并调整R24使U\(_{c1}\)-Uc2≈0。然后降低温度至报警温度,报警器应开始报警。电位器R\(_{2}\)是用来调整所需要的报警温度的,报警温度由使用需要决定,如暗霜报警约为5℃,育蚁蚕低温报警约为19℃等。
R\(_{17}\)~R23组成测温电桥,R\(_{t21}\)是测温元件,采用MF11型热敏电阻。 (江苏省宝应县黄塍青年林牧场 汪建军)