用小型蓄电瓶供电的黑光灯,有很多优点,如不用架设电线、便于改变黑光灯的放置地点等。但缺点是成本较贵。遵照毛主席关于“要节约闹革命”的教导,我们在公社党委、大队党支部的领导下,进行了一些改革。我们到田里仔细观察害虫的活动情况,发现在我们这里夏秋之季的前半夜害虫活动频繁,后半夜,它们的活动就大为减少。根据这一特点,我们经过反复实验,终于制成了黑光灯的延时控制装置,由它控制的黑光灯可以在后半夜自动地定时关闭,于是延长了黑光灯管及蓄电瓶的使用寿命。
这个延时控制装置安装方便,大家可根据当地害虫活动规律选取不同的控制时间。它是由控制电路和延时电路两部分组成的。
一、控制电路

图1是控制电路的电原理图。BG\(_{1}\)是场效应管(参考本刊1974年第2期《绝缘栅场效应晶体管》和1975年第7期《结型场效应管及其应用》),BG2是晶体三极管,R\(_{b}\)为BG1的漏极负载电阻,也是BG\(_{2}\)的偏置电阻,继电器J的线圈串联在BG2的集电极电路中。V\(_{GG}\)是BG1的控制电压,它应大于场效应管的夹断电压(即截止电压)U\(_{p}\)。当电位器W的滑动触点滑至最上端时,BG1处于夹断状态,使漏极D的电流很小,接近于零,这时可以把BG\(_{1}\)的漏极与源极S之间看成断路,此时调节Rb可以改变BG\(_{2}\)的基极电流Ib2,从而得到一个放大了的集电极电流Ic\(_{2}\),当集电极电流大于继电器的吸动电流时,继电器动作。若此时再改变W的滑动触点滑至最下端,那么BG1的栅极G和源极S之间的控制电压逐渐减少,当这个电压小于U\(_{p}\)后,漏极电流逐渐增加。这个电流的方向与BG2原来的Ib\(_{2}\)方向相反,使Ib2减少,Ic\(_{2}\)也随之减少,当BG2的集电极电流Ic\(_{2}\)减到小于继电器的吸动电流时,继电器立即释放,这时的控制电压我们记作U放。
从上面介绍的情况可以看出,只要改变BG\(_{1}\)的控制电压,就能使继电器J吸合或释放。当控制电压大于BG1的夹断电压时,继电器吸合,其接点把黑光灯的电流接通,黑光灯开始工作。经过预定的时间后,控制电压自动降到U\(_{放}\),于是继电器释放,从而切断黑光灯电源,达到自动关闭的目的。
控制电压怎样在预定时间后能自动降至U\(_{放}\)呢?这是由RC延时电路来完成的。
二、RC延时电路

RC延时电路见图2,是由R、C并联组成的。它是利用电容C充电后,再通过电阻R放电并需要一定时间才能把电放完的原理来达到延时的。从图2可以看到,当开关K闭合时,电源E对电容C充电,当电源内阻很小而电阻R数值很大时,充电很快就完成了,充电后电容C的电压近于电源电压值E。此后将开关K断开,电容将通过电阻R放电。放电时电容器上的电压将下降,下降的速度与电阻R和电容量C有关。R、C越大,放电就越慢,电容器上电压下降得也就越慢。如果R、C的数值已定,那么电容放电时,电压下降到某一数值所需的时间则与电容器原来所充电压有关。原来充的电压越高,则所需时间越长。因此,适当选择R、C的数值和充电电压,就可以确定放电时电压下降到某一数值所需的时间。设充电电压为E,放电电压下降到U\(_{放}\),电阻为R(兆欧)、电容为C(微法)则时间t(秒)可按下式求出:t=RCln\(\frac{E}{U}\)放。为了防止BG\(_{1}\)的栅极绝缘层被击穿,电容器的充电电压不宜过高,用黑光灯的电源6伏或12伏。U放不宜过小,否则控制电压不可靠,有时还会造成继电器不释放。在这种情况下,要得到较长的延时,只有选用高阻值的R和容量大、漏电小的电容C。由于黑光灯需延时5—6小时,即18000—21600秒,一般选用几兆欧的电阻R和1000—2000微法的电解电容器C。
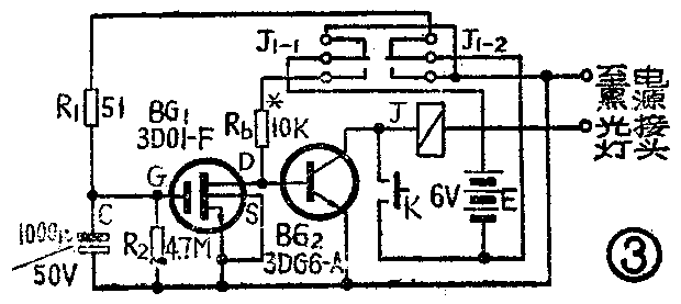
上面分别介绍了控制部分与延时部分的工作原理,把它们综合起来就变成如图3所示的实际延时控制电路。

三、实际使用的电路
实际电路如图3。其中BG\(_{1}\)为3D01—F绝缘栅N型沟道(耗尽型)场效应管,夹断电压<5伏;电容C实测为1400微法、漏电电阻大于30兆欧;放电电阻R2为4.7兆欧;继电器用JRX—11F小型直流继电器,绕组电阻为145欧、吸动电流约35毫安、释放电流为10毫安;K为启动按钮开关;E为6伏蓄电瓶。
在试验过程中,U\(_{放}\)定为0.38伏,延时可达5个多小时。
从图中可以看出,当开关K置于断开位置时(图示状态),因继电器绕组中没有电流,所以其触点J\(_{1}\)-1、J1-2处于常闭状态,黑光灯因加不上电源而无法启辉,电源E通过电阻R\(_{1}\)对电容C充电,使BG1、BG\(_{2}\)均处于“截止”状态。当开关K按下时,电源E的电压全部加在继电器绕组上,绕组里约流过40毫安的电流,于是继电器吸合,断开常闭触点而接通常开触点,同时断开了给电容器C的充电回路,电源E通过电阻Rb给BG\(_{2}\)一定的基极电流,此时BG2的集电极电流约有25毫安,它已大于继电器的释放电流,所以此时再断开开关K,继电器仍能保持在吸合状态。由于断开了充电回路,所以C向电阻R\(_{2}\)放电,由于开始时C上的电压较高,所以控制BG1仍处于夹断(“截止”)状态,但经过一预定的延时时间后(5或6小时),电容器上的电压降至为U\(_{放}\)时,这时漏极电流增加,于是Ib2减小,至使Ic\(_{2}\)减小使继电器释放,断开了黑光灯电源。
在图3中,电容放电电阻除了R\(_{2}\)以外,还有电容器C的漏电电阻及BG1的栅一源之间的输入电阻。在计算延时时间时,本应考虑这些因素,但由于用的是场效应管,输入阻抗很高(在几千兆欧以上),所以可以不予考虑,至于电容器的漏电电阻,只要其漏电电流很小,也可以忽略。(下乡知识青年 王建模)