(唐远炎)元件的估算和选择;调整管BG由流过管子的集电极最大允许电流I\(_{CM}\)、集—射极反向击穿电压BVCEO和管子的集电极最大允许耗散功率P\(_{CM}\)来选取。一般小功率半导体收、扩音机的电源电压都很低,选取调整管时可以不考虑BVCEO。这里I\(_{CM}\)≥Isc=80毫安。为了保证BG起调整作用,必须使它工作在良好的线性区,因此BG管的集、射间电压U\(_{ce}\)一般要求至少大于2伏。本例中UA=1.2E\(_{2}\)=1.2×8=9.6伏。
电阻R\(_{1}\)对一般收、扩音机电源可在几欧到十几欧内选取。这里取R1=10欧,如稳压管稳定电流为10毫安,则U\(_{c}\)为
U\(_{c}\)=UA-R\(_{1}\)(Iw+I\(_{sc}\))=9.6-(10×90×10\(^{-}\)3)=8.7伏,因此Uce=U\(_{c}\)-Ue=8.7-6=2.7伏,从而可算出管子的功耗P\(_{CM}\)为
P\(_{CM}\)=ICM·U\(_{ce}\)=80×10\(^{-}\)3×2.7=216毫瓦。
我们根据I\(_{CM}\)≥80毫安、PCM≥216毫瓦来选取调整管BG。查手册,一般大、中功率管和部分小功率管均能使用,如3AX41、3AX61~63、3AD型各种管、3AA型各种管、开关管3AK32、3AK33~33A、B、3AK34A~C、3AK51~56、61~66等均可用作调整管。本例中,我们选用3AX81作调整管,虽然3AX81的P\(_{CM}\)=200毫瓦,比要求的216毫瓦小,但装上散热片使用是可以胜任的。图8是自制散热片的方法,用金属皮(铝、铜、铁均可)包紧管壳,金属皮用螺丝钉固定在面积较大的印刷板地线铜箔或金属支架上,达到散热的目的。

调整管BG的放大系数β值越大越好,一般要求β>50。
稳压管D\(_{w}\):由输出电压Usc的大小来选择稳压管的型号。输出电压U\(_{sc}\)=Uw-U\(_{be}\),其中Ube对锗管取0.2伏左右,对于硅管取0.6伏左右,我们选用3AX81锗管,U\(_{be}\)=0.2伏。Usc=6伏,所以U\(_{w}\)=Usc+U\(_{be}\)=6+0.2=6.2伏。
查附表,2CW13、2CW14、2CW7C~7D、2CW21B~C、2CW22B~C等管的稳定电压值都在5~7.5伏之间,可按图4所示测试方法选择U\(_{w}\)在6.2伏左右的管子。如果找不到刚好在6.2伏的管子,可选用稍高或稍低的管子,就让电源工作在所稳到的电压即可。此外,也可用两只2CW10或2CW11串联使用;或用3DG型硅管的b、e极代替稳压管Dw,如图7(b)。
限流电阻R\(_{2}\):从附表可知,2CW13、2CW14之类的管子的工作电流在10毫安左右,所以,从图7(a)可算出:
R\(_{2}\)=(Uc-U\(_{w}\))/Iw
=(8.7-6.2)/(10×10\(^{-}\)3)
=250欧。
这种电路的稳压性能在很大程度上决定于稳压管D\(_{w}\)的性能,当所用稳压管较差时,脉动和动态内阻都有所增加,这时可在稳压管两端并接上100微法电容,可以显著降低脉动,如图7(a)中C3(见上期49页)。
三、带放大环节的稳压电源
前述串联型简易稳压电源,其性能还不够好,输出电压是固定的,不能任意调节;如果再加上放大环节,则可以大大改善稳压性能。图9是带放大环节的稳压电源的方框图,它由变压器等六个部分组成。当输出电压U\(_{sc}\)变化时,通过“取样”部分取出信号与“基准电源”比较,比较后得到的误差信号经过“比较放大”部分放大,再送到“调整管”的基极,调整调整管的电压,就能达到稳定输出电压的目的。

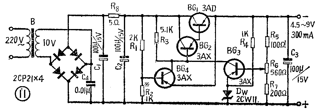
下面结合具体实例介绍电路工作原理和计算方法。图10是输出电压9伏、电流200毫安供硅管收、扩音机用的一个稳压电源。

1.工作原理及元件作用:这里着重讲稳压部分。
调整管:由BG\(_{1}\)+BG2复合管构成。这是因为流过调整管的电流基本上等于输出的负载电流I\(_{FZ}\),IFZ较大(200毫安),就要求调整管有足够大的基极推动电流,如调整管的β=20,则要求推动电流有10毫安(I\(_{b}\)=Ic/β=200/20=10毫安)。为了减小推动电流,一般采用两只或两只以上的晶体管组成复合管作调整管用,因复合管的总β很大,β≈β\(_{1}\)·β2,如β\(_{1}\)=β2=20,则β≈400。BG\(_{2}\)的基极推动电流很小,只有0.5毫安(Ib2=I\(_{FZ}\)/β1β\(_{2}\)=200/400=0.5毫安)。因此,采用复合管后,很小的Ib2就可以控制很大的电流I\(_{c1}\)(即IFZ)。
比较放大部分由BG\(_{3}\)担任,Rc是其集电极电阻,调整管所需的控制信号由BG\(_{3}\)的集电极直接加到BG2的基极。
D\(_{w}\)和Rw组成硅稳压管稳压电路,它除了使BG\(_{3}\)得到合适的工作点外,更重要的是提供一个基准电源。
取样部分由分压器R\(_{1}\)、W、R2组成,从电位器W中心抽头处取得信号电压加到BG\(_{3}\)去比较放大,改变电位器中心抽头的位置,可以调节输出电压的大小。
稳压过程是:如果由于电网电压降低或负载电流增大而使输出电压U\(_{sc}\)降低,则通过取样部分,即R1、W、R\(_{2}\)组成的分压器使比较放大器BG3的基极电压U\(_{b3}\)下降。由于BG3发射极接有一个基准电压U\(_{w}\),即Dw的稳定电压,因U\(_{be3}\)=Ub3-U\(_{w}\),所以BG3的U\(_{be3}\)也减小,使Ib3减小,I\(_{c3}\)相应减小,Ic3在电阻R\(_{c}\)上的压降Ic3·R\(_{c}\)也减小,BG3的集电极电位U\(_{c3}\)上升,也就是BG2的基极电位U\(_{b2}\)上升,所以Ib2增加,导致I\(_{c2}\)、Ic1增加,BG\(_{1}\)管压降Uce1减小,从而使输出电压U\(_{sc}\)恢复到原来数值附近。这个稳压过程可简化为:
U\(_{sc}\)↓b3↓c3↓c3(U\(_{b2}\))↑c1↑ce1↓sc↑
同样,当U\(_{sc}\)增加时,通过反馈作用也会使Usc下降,保持U\(_{sc}\)基本稳定。
2.简单的估算设计方法:
整流滤波部分:首先根据输出电压U\(_{sc}\)和输出电流Isc的数据确定整流滤波部分的输出电压U\(_{z}\)和电流Iz,再按整流滤波电路的估算设计方法确定变压器数据,以及整流滤波电路的元件参数。
U\(_{z}\)——为了保证调整管工作在放大区,需要有一定的管压降Uce1,一般U\(_{ce1}\)=3~8伏,从图可知Uz=U\(_{sc}\)+Uce1。这里U\(_{sc}\)=9伏,Uce1取3伏,则U\(_{z}\)=9+3=12伏。
I\(_{z}\)——应大于稳压电源的最大负载电流Isc,这里I\(_{sc}\)=200毫安,则Iz取240毫安左右。
根据整流滤波电源的简易估算方法(参看本刊1975年5期),可以知道变压器次级的交流输出电压有效值应为E\(_{2}\)=10伏。
调整管部分:调整管采用两只晶体管构成的复合管,每只管子的β值应在20以上。
BG\(_{1}\)的选择主要考虑集、射极间反向击穿电压BVCEO、集电极最大允许电流I\(_{CM}\)、集电极最大损耗功率PCM。这里BV\(_{CEO}\)=\(\sqrt{2}\)E2-U\(_{sc}\)=14-9=5伏,ICM=240毫安,P\(_{CM}\)=Uce·I\(_{c}\)=3×240=720毫瓦。按照这三个条件选取BG1,查晶体管手册,凡是3DD型及3DA型各型硅管均可,若用小功率的3DG12加上散热片也可使用。
BG\(_{2}\)的选择方法和BG1相似,RV\(_{CEO}\)的数值和BG1的一样(5伏),流过BG\(_{2}\)的电流只有BG1的1/β\(_{1}\)(240/20=12毫安),功耗PCM=12×3=36毫瓦。采用一般的3DG型、3DK型硅管均可。
基准部分:选择基准电压应低于U\(_{sc}\),但基准电压Uw也不能太低,否则将使稳定度降低(U\(_{w}\)愈高,则稳定度愈高)。这里Usc=9伏,从附表中(见上期)可以选用2CW14(U\(_{w}\)=6~7.5伏,1w=10毫安),电阻R\(_{w}\)为
R\(_{w}\)=(Usc-U\(_{w}\))/I≈(Usc-U\(_{w}\))/Iw
=[9-(6~7.5)]÷10=150~300欧;
也可以选用2CW10~2CW13型稳压管。若采用2CW10(U\(_{w}\)=2~3.5伏,Iw=10毫安),则
R\(_{w}\)=[9-(2~3.5)]÷10=550~700欧;
余类推。稳压管也可以用3DG型管的b、e极代用,也可以用几只2CP型二极管串起来代用。
放大部分:放大管可用3DG型各管,BG\(_{3}\)应工作在放大区,β值尽可能选大一些,最好大于50。这一级的电流可取Ic3=0.5~1毫安。负载电阻R\(_{c}\)可按下式估算
R\(_{c}\)=(Uz-U\(_{c3}\))/Ic3=[U\(_{z}\)-(Usc+U\(_{be1}\)+Ube2)]/I\(_{c3}\)≈
≈(U\(_{z}\)-Usc)/I\(_{c3}\)=(12-9)/(0.5~1)=3~6千欧。
取R\(_{c}\)=3.9千欧。
取样部分:分压器的总阻值R\(_{1}\)+W+R2应使流过分压器的电流I\(_{f}\)>>Ib3。I\(_{b3}\)=Ic3/β\(_{3}\)=1/50=0.02毫安。一般If应为f\(_{b3}\)的数十倍以上,If过小会影响分压器的分压关系,I\(_{f}\)过大会增加分压电阻上的不必要的功耗。这里取If=5~10毫安,则
R\(_{1}\)+W+R2=U\(_{sc}\)/If=9/(5~10)=900欧~1.8千欧。
取R\(_{1}\)+W+R2=1.2千欧。为了调节方便,取W=1千欧,R\(_{1}\)=R2=100欧。C\(_{2}\)用以改善稳压性能,例如减小电源纹波,减小负载电流突变对稳压电源的影响。
四、具有保护电路的稳压电源

图11是用锗管装的加保护电路的稳压电源。BG\(_{4}\)和R1、R\(_{2}\)组成短路保护电路。当稳压器正常工作时,BG4的发射极电位比基极电位低,BG\(_{4}\)处于截止状态,对稳压器的工作无影响;而当负载短路时,BG4的发射极与正电位相接,BG\(_{4}\)的发射结处于正向电压作用下,使BG4的集电极电流很大,以致BG\(_{4}\)处于深饱和导电状态,Uce4=0。此时调整管BG\(_{1}\)+BG2的发射结被BG\(_{4}\)所短路而只有少量电流流过,达到了保护调整管的作用,而且避免了稳压电源因过电流而损坏。
BG\(_{4}\)可选用一般的3AX型管,R1取2千欧,R\(_{2}\)由调整确定。可将BG4的发射极连线从输出端断开,改接到正端(相当于负载短路时BG\(_{4}\)所处的状态),调整R2使U\(_{ce4}\)在0.1伏以下,然后将BG4的发射极连线接回原状,在输出端接一个假负载,将负载电阻由大减小至短路,测量输出总电流应不超过允许值,否则还要加大R\(_{2}\)。图13是印刷电路板。


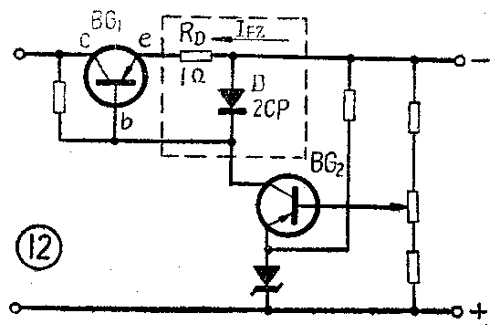
最后介绍一种电流限制型保护电路,如图12(24页)。加在二极管D上的电压是调整管的U\(_{be}\)与负载电流IFZ在电阻R\(_{D}\)上的电压降之和。正常时,二极管上的电压低,D不导通。当负载电流增大到IM时,由于R\(_{D}\)上的压降加大,使D导通。D导通时正向电阻很小,分流作用大,不使过大的电流流过调整管。D采用2CP型管,导通时D两端的电压为UD=0.6伏左右。BG\(_{1}\)用锗管,Ube=0.2伏左右,则U\(_{RD}\)=UD-U\(_{be}\)=0.6-0.2=0.4伏。若要求负载电流IFZ超过400毫安就起保护作用,则R\(_{D}\)的阻值应为
R\(_{D}\)=URD/I\(_{M}\)=0.4/400×10\(^{-}\)3
=1欧。