我们三结合技术革新小组对不用触发电路的可控硅交流开关进行了研究试验。并经过长期运行实践,证明这种开关运行可靠,线路简单,制造容易,不用调试。这种开关在我矿已大量应用。现将这一电路简介如下:
基本结构
用3CT可控硅反向并联连接如图一所示。将两个控制极通过接点J连接起来,当接点J闭合时线路通路,接点J断开时线路断路。

工作原理
分析不用触发电路的可控硅交流开关的工作原理,首先要了解元件结构形式,图二(a)为PN结构图,图二(b)是把可控硅看作两个复合三极管时的结构图。先看图二(a),当交流电正半周时,可控硅元件①处于正向电压、②处于反向电压,负半周则反之。以正半周瞬态分析,元件①有一正向漏电流,元件②有一反向漏电流,并分别产生电压降。依据可控硅工作原理,此时元件①阻挡层J\(_{1}\)、J3电阻小,J\(_{2}\)电阻大;元件②阻挡层J2电阻小,J\(_{1}\)、J3电阻大。实测得知R′大于R,又因正反向漏电流相差不大,而R′大于R,根据电位差道理可知G\(_{2}\)点电位高于G1点,当G\(_{1}\)与G2连通时元件①导通,负半周元件②导通。完成正弦波交流电的输送。元件①、②的关断是由于正弦波电压过零自动完成的。

再用图二(b)结构图来讨论,当交流电正半周时,可控硅SCR\(_{1}\)受正向电压,SCR2受反向电压。此时晶体管T\(_{3}\)的反向漏电流由A端(+)→T3发射极→T\(_{3}\)基极→G2→G\(_{1}\)→T2基极→T\(_{2}\)发射极→B端(-)。晶体管T2有基极电流,于是三极管T\(_{2}\)导通,其集电极电流给T1基极电路提供导通条件,晶体管T\(_{1}\)导通。而T1的集电极电流又提供给T\(_{2}\)基极一电流,这正是一个正反馈过程,如此循环,使SCR1导通。当交流电另一半周时,即A端为(一),B端为(+)时,晶体管T\(_{2}\)的反向漏电流经由B端(+)→晶体管T2基极→G\(_{1}\)→G2→T\(_{3}\)基极→T3发射极→A端(-),同上所述进行正反馈,使可控硅SCR\(_{2}\)导通。SCR1与SCR\(_{2}\)交替导通,完成正弦波交流电的输送。SCR1与SCR\(_{2}\)的关断也是靠正弦波电压过零自动完成的。
综上所述,开关的工作原理是由于漏电流造成控制极电压,两个反向并联的可控硅互为提供触发电压而工作的。
应用实例
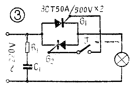
图三所示电路,为控制照明用开关,采用控制一相的方法。照明电压220伏,总负荷30安培。采用两只3CT50A/500V可控硅反向并联,控制极G\(_{1}\)、G2通过接点J连接。当J闭合时,可控硅交流开关通路,负载有电,J断开则断电。也可采用图四电路控制二相。


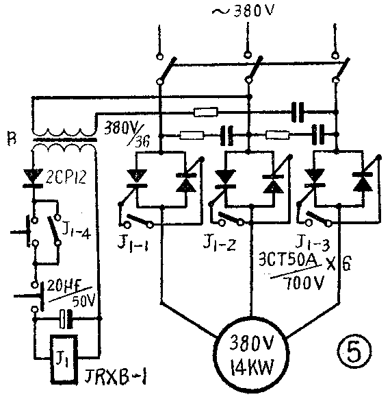
图五所示电路为控制三相开关,是由6个3CT可控硅组成的做车床电源用的开关。

应注意的几个问题
1.可控硅元件电压、电流及阻容保护的选择基本上同一般应用相同。阻容保护只在电源侧加装,可控硅两端不装。2.要选用触发功率小,开通与关断时间短的可控硅。3.反向并联连接的两个可控硅尽量选择特性一样的。4.组装完成后,用示波器检验输出波形是否和电源波形一样。5.采用轧制铜板或铝板制作散热器提高散热效果,不必加装强迫风冷装置。6.为区分开关合、断状态,在外壳上安装红、绿指示灯。(施鹏志 李瑞华 曹殿生)