本机是电子管台式六管二波段广播收音机,式样新颖、性能良好、音质优美、放音宏亮。装有调谐指示器及分别连续可调的高、低音音调控制器,便于正确调谐和满足音质要求。还装有拾音器插口,供放送唱片之用。
一、主要性能
接收频率范围:中波不窄于535~1605千赫;短波不窄于6~18兆赫。
灵敏度:中波不劣于100微伏;短波不劣于200微伏。
选择性:不劣于28分贝。
拾音器插口灵敏度:小于0.25伏。
交流声级:不劣于40分贝。
不失真输出功率:不小于0.5瓦。
最大输出功率:可达3瓦以上。
二、电路特点
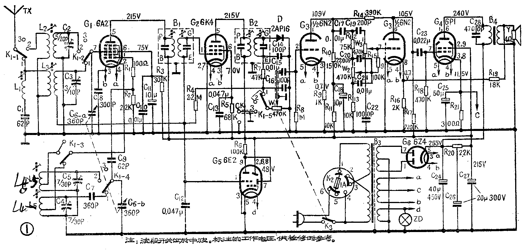
整机电原理图见图1。

1.为消除由变额管6A2的灯丝交流热源及其布线所引起的短波18兆赫附近出现的严重调制交流声,在本机变频级电路中加接了瓷介电容器C\(_{8}\)(300微微法),它与布线的分布电感组成吸收回路,并选接在6A2管丝极的3脚上,从而大大降低了调制交流声电平,取得良好效果。
2.为了消除短波18兆赫由强信号注入时引起的频率漂移,以提高变频管6A2在18兆赫工作的稳定性,在变频管的帘栅电路中加接了一个10微法的旁路电容器C\(_{11}\)。
3.为提高中频放大级6K4管的稳定放大量,采用阴极直接接地电路,并特地选配312-3、312-4型中频变压器,使中放级增益达到100多倍,即大于40分贝。
4.在满足整机必需的总增益和压缩电子管管数的前提下,采用晶体二极管2AP16作检波。因为2AP16管的正向能承受较大电流,而反向耐压较高,所以将它装在铁底板内,虽受周围热空气影响,但其工作却较2AP9稳定,特别表现在整机非线性失真这一主要性能较好。检波效率可达到60%,接近于电子管水平。
5.为了有效地改善音质,采用了双音调控制的阻容分压式电路,但从适合于广播接收机放声要求出发,对原始的阻容分压式典型电路,在所用元件的数值上作了一些调整,适当改变了转折频率点。这样调整后,音调控制作用范围,对100赫的低音提升量仍可达10分贝左右,作用范围18~20分贝;对5000赫的作用范围在12分贝左右。
现将音调控制器的作用原理分析如下。
低音调控制器W\(_{2}\)的作用:当W2位于“1”位置时,此时C\(_{2}\)0被短路,音频信号通过C17、R\(_{12}\)、R15送至电压放大管6N2的信号栅极(7脚),由于C\(_{21}\)、R13的分路作用,对高音频旁路显著,起到低音提升作用。当W\(_{2}\)位于“2”位置时,C21被短路,音频信号则通过C\(_{17}\)、R12、C\(_{2}\)0、R15送至6N2信号栅极,由于C\(_{17}\)、C20接成串联,对低音频的容抗增大,从而起到了对低音衰减作用。
高音调控制器W\(_{3}\)的作用:当W3位于“1”位置时,音频信号通过C\(_{17}\)、C19串联电容后送至6N2信号栅极,由于C\(_{19}\)对低音频呈现的容抗远比高音频为大,因此起到了提升高音的作用。当W3位于“2”位置时,音频信号则经过C\(_{17}\)、R12、C\(_{2}\)0、R15送至6N2的信号栅极,此时由于C\(_{22}\)接在信号栅极,对高音频起衰减作用,所以对高音频的分路作用明显,起到了高音衰减作用。
上面只是把几个起主要作用的电容器在音调控制电路中的作用,作了一些简要分析。在整个电路里还有R\(_{12}\)、R13、R\(_{15}\)等元件同时参与工作。它们的作用只限于改变转折频率、平衡中音域电平,以及对音调控制器变化时所引起的参考频率点1000赫的电平变化进行控制。所以在一般分析时,为了能清楚地阐明主要元件的作用,对这些线性元件的作用就不作详细分析了。
R\(_{14}\)主要用来消除接收过程中由于低音提升时所引起的自激现象,即卜卜卜汽船声。
本机也采用了终端负回授电路,回授量为6分贝,由R\(_{16}\)及R19组成。从而改善了非线性失真,提高了不失真输出功率,改善了音质,并对交流嗡声也起到了一定程度的抑制作用。
6.为了有效地抑制交流嗡声,本机采用了二级π形滤波电路,使高压直流电源100赫的纹波系数降到较小程度;同时在灯丝热源电路中采用了中心抽头的灯丝绕组,并加接由功放管6P1阴极电路所建立的11伏左右直流电压,借此来平衡由电子管灯丝和阴极之间绝缘不良等因素所夹入的极其微量的50赫热源交流电压,以减小由此引起的交流声。这种交流声电压尤其对前置电压放大级影响极大。其次,在工艺上还采用了绞合灯丝连接线,严格规定导线走向等布线工艺措施。
7.为了提高抗干扰性能,部分产品的中波段采用磁性天线接收,如711-3型机等。
三、元器件数据

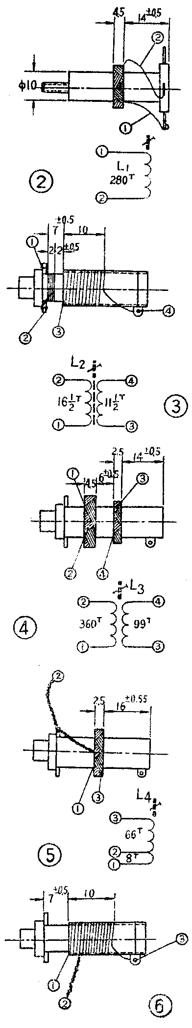
1.L\(_{1}\)——465千赫陷波线圈,用φ0.1丝漆包线蜂房式顺绕280圈,如图2,L空为0.95毫亨。
2.L\(_{2}\)——短波输入线圈(图3)。线圈①—②用φ0.12漆包线平顺绕161/2圈,L空为1.6毫亨;线圈③—④用φ0.59漆包线间绕11 1/2圈,L\(_{空}\)为0.9微亨。
3.L\(_{3}\)——中波输入线圈(图4)。线圈①-②用φ0.1丝漆包线蜂房式顺绕360圈,L空为1.6毫亨。线圈③—④用高频绕组线QTST-4/0.08(4根φ0.08漆包线绞合成一股的丝包线),蜂房式顺绕99圈,L\(_{空}\)为0.14毫亨。
4.L\(_{4}\)——中波振荡线圈(图5)。线圈①—③用φ0.19丝漆包线蜂房式顺绕74圈,于开始的第8圈处抽头绞合引出。线圈①—③的L空为85微亨。
5.L\(_{5}\)——短波振荡线圈(图6)。线圈①—③用φ0.59漆包线间绕11 1/2圈,于开始的第2 1/2圈处抽头绞合引出。①—③的L空为0.98微亨;②—③的L\(_{空}\)为0.68微亨。

6.B\(_{3}\)——电源变压器(图7)。硅钢片规格:D-42-0.5,舌宽22毫米,叠厚33毫米。初级220伏绕组用QZ-2-0.25漆包线密绕1000圈。初、次级间用O.05毫米厚铜箔绕一层作屏蔽层。高压绕组(2×230伏)用QZ-2-0.15漆包线密绕2320圈,于1160圈处抽中心头引出。灯丝绕组(6.3伏),用QZ-2-0.86漆包线密绕32圈,于16圈处抽中心头引出。灯丝绕组(6.3伏)用QZ-2-0.51漆包线密绕32圈。绕时注意层间绝缘和组间绝缘。
7.B\(_{4}\)——输出变压器(图8)。硅钢片规格D-43-0.35,舌宽12毫米,叠厚18毫米。初级用QZ-2-0.1漆包线密绕2800圈,阻抗5.5千欧。次级用QZ-2-0.51漆包线密绕84圈,阻抗4欧。绕时注意层间绝缘。
四、使用维修说明

本机元器件在底板上、下的位置图见图9、图10。
1.右方小旋钮,是作波段转换和收音、拾音器转换用,请注意玻璃度盘上的标记,不要错用,以免误认为是收音机的故障。
2.音调控制器的两个电位器旋钮按顺时针方向旋足时,高、低音均达到最大提升位置;反之,逆时针方向旋到头时,则为高、低音均达到最大衰减。收听时可根据需要分别调节到合适的位置。
3.本机大部分产品只适用于220伏电源,其电源变压器初级线圈只有一个绕组。为了适应220伏和110伏不同电源需要,本机部分产品加有电源变换插(见图1),其电源变压器初级有两个绕组,当用于220伏电源时,两个绕组串联(如图1所示位置);当用于110伏电源时,两个绕组并联(图1中交换成1、2相接,3、4相接,1、6通过保险管相接)。使用时只要将电源变换插按电压标志插在合适的位置,即可适用于不同电源电压。(上海无线电二厂)