电子器件安装完毕后,从调试到现场使用,常会遇到各种各样的工业干扰,影响电路正常工作,由于建筑行业的特点是流动性大,遇到干扰的机会就更多,我们在试制电子升差自控仪时采取了一系列抗干扰措施,现将主要的几种措施介绍如下。
各种干扰的产生主要来自电源,所以首先要消除来自电源的干扰,另一方面也要提高单元电路的抗干扰能力。
一、抑制来自交流电源的干扰


交流电网中,由于负载等原因,常叠加了许多高于50赫的干扰信号如图1,经电源变压器耦合到次级,给整流电源带来干扰。采用双屏蔽变压器。变压器初、次级各绕有屏蔽层,对电源带来的高于50赫的干扰起旁路接地的作用,见图2。双屏蔽变压器,采用C型铁心绕制,效果较好。变压器的屏蔽层用铜箔包一层,须垫聚脂薄膜绝缘,铜箔头尾不能短路。要在变压器初、次级线包的内外层各绕一层。此外,可在电源进线部分加L、C网络如图3。图中电感线圈的感抗X\(_{L}\)=2πfL,它与频率f成正比,频率越高,感抗越大。根据这原理,线圈的电感量取2~10毫亨左右,对低频50赫感抗极小,对高频则感抗极大。高频干扰信号受到电感的阻挡,从电容器中旁路到地,不能进入变压器。
电感线圈的制作有两种方式,一种是在直径40毫米的胶木圆筒上用漆包线平绕250~300圈,线径根据负载电流决定,这种方式体积较大。另一种方式是从半导体收音机中的无线磁棒,MX—400—Y10×200型,用漆包线在上面平绕,以绕满为准。当负载增加时,导线加粗,会引起电感量减小,必须用几根磁棒相串,可根据实际调试后确定。这种办法,体积小,效果较好。
二、抑制来自强电回路和交流控制回路的干扰

电动机等电感性负载,在电源瞬时切断时会产生高于电源电压5~10倍的瞬间浪涌电压,在接触器的触点间产生火花,引起干扰。一般可在电路中接入RC吸收回路(图4),电源瞬时切断时,浪涌电压由电容器C储能、R衰减而消失,C取值0.1~2微法(耐压600伏左右),R取10~100欧(电阻功率一般为2~5瓦,如不受体积限制可适当增大功率)。
三、抑制来自直流电源的干扰

(1)高频瞬间干扰会叠加于直流电源而输出(如图5),直接影响电路的稳定性。对于这类干扰可以用加L、C网络抑制,如图6。线圈L的电感量在0.5~2毫亨范围内选取,两个电容器分别采用0.01微法和100微法组成高低频双通道退耦电容,叠加于直流电源的高频部分被电感阻塞,从电容器中旁路(有时为简化起见,网络中的L省去不用,只用两只电容)。
(2)用晶体管电路带动直流继电器再去控制交流接触器或电磁吸铁等时,强电回路中的瞬间高频脉冲可以从后级串扰到直流电源,叠加于直流电源之上。为避免这种现象,采用电源分组法;即晶体管电路的电源和直流继电器电源分开,使后级干扰影响不到前级晶体管电路。用于电源分组中的变压器也要求分开。

(3)直流稳压电源的稳定性对晶体管电路的正常工作有直接影响,要求在负载电流变化时,直流稳压电源输出电压变化极小。解决的办法可采用在直流稳压电源输出端串接二极管一只或数只,两端关联电容,如图7。输出电压经过二极管到负载,同时对电容器C\(_{2}\)充电,当A点电压低于B点0.3伏(硅管为0.7伏)时,二极管反向截止,电解电容C2经负载电阻而放电,放电时间应大于瞬间电压降低变化时间,C\(_{2}\)选用容量大一点的较好。
必须注意,因二极管有正向压降,如果将数只二极管串联使用,稳压电源电压应该相应提高,以保证额定输出电压值。
四、单元电路的抗干扰措施
(1)对于开关速度要求不很高,而对抗干扰要求较高的工业自动化控制装置,设计时可考虑适当提高饱和深度或截止偏压,不采用加速电容或改用集电极触发等方法。
(2)布线和元件之间,有时会产生电感性交联的干扰脉冲,这种干扰脉冲的特征是上部尖细、下部较宽,或正或负没有一定规律的宽度极窄的(数毫微秒)针形脉冲,见图8。这种干扰脉冲感应到单稳或双稳态电路的触发信号输入端,会使单稳或双稳态电路误翻转,造成功能失常。对这种针状干扰脉冲,可以用由硅二极管和电阻组成的“干扰隔离门”(见图9),串联在触发器输入端,来提高电路的抗干扰能力。这种“干扰隔离门”是利用硅二极管正向压降比较高的特性,使干扰脉冲受到阻挡;同时由于硅二极管的惰性,对持续时间在毫微秒级的干扰脉冲的衰减作用较强。用作“干扰隔离门”的二极管为保证对高频信号的惰性,应采用低频二极管。

(3)当用反相器驱使灵敏继电器动作来控制交流接触器等强电部分时,要求反相器导通时处于深饱和状态,截止时基极、发射极反向偏压大于1伏以上,才能稳定地工作。要加强反相器的抗干扰性能,必须分清反相器的工作状态;对于经常处于截止状态的反相器,可在基极、发射极间加抗干扰电容(图10a);对于经常处于导通状态的反相器,抗干扰电容加在基极、集电极间(图10b)(NPN和PNP型加电容位置相同,)电容量在0.01~1微法之间选取。
有时为了减少电源种类,而又要使晶体管能可靠地截止,可在发射极串接见只二极管,提高发射极电位,晶体管截止时基极、发射极之间等于加了反向偏压,见图10c。
带动继电器的晶体管功率驱动级,在继电器断电时线圈产生自感电势,容易损坏三极管。在继电器线圈两端并联一只二极管,为反向自感电势提供一条通路以保护三极管。
(4)有时信号引线过长,途中有损耗和电场干扰,影响信号传输的准确性,可以用双稳态组成简易RS触发器作整形用,见图11。输入信号控制微动开关K动作,当触发器处于图11状态时,即使R端有干扰信号,由于S端电平稳定在-6伏,电路不会受干扰影响而翻转,反过来也一样。在两个晶体管基极之间加电容器C是为了防止瞬间干扰超过-6伏,或微动开关抖动使电路产生不必要的翻转而设置的。

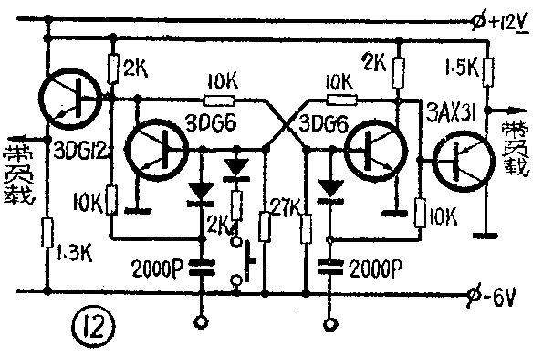
(5)双稳态电路带动电容性负载能力较差,有时因负载重而引起两边不对称,触发之后会自动恢复原状。为克服这类问题,常用射极跟随器隔离后再带动负载,由于射极跟随器具有较高的输入阻抗,对双稳态的负载就大大减轻了。射极跟随器根据输出电平的需要,采用NPN或PNP两种极性相反的三极管,电路接法见图12。

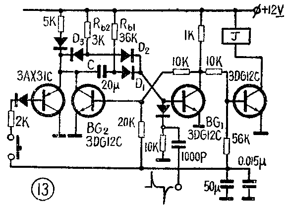
(6)单稳态电路由于电源波动,周围干扰或晶体管元件本身的不稳定,都会引起单稳态的翻转,造成误动作。为消除电源的暂态波动,可采用单级稳压的方式。图13是一种抗干扰性能较好的单稳态电路,通常单稳态电路作延时用时,常采用增加R\(_{b1}\)·C充放电时间常数来增加延迟时间,但Rb1阻值增加会使常饱和晶体管BG1的基流减小,晶体管脱离深饱和区域,这是使电路不稳定的主要原因之一,图13的电路中增加了R\(_{b2}\)、D2、D\(_{3}\)等元件,当BG1导通、BG\(_{2}\)截止时,电流IRb2由D\(_{2}\)、BG1的b、e极、电源形成回路;增加了BG\(_{1}\)的基流。当BG1截止、BG\(_{2}\)导通时,IRb2由D\(_{3}\)、BG2的c、e极、电源成回路,不影响Rb\(_{1}\)·C放电时间,使单稳态能可靠地避免误触发。

五、其它措施
(1)尽量缩短相互间的连接线,交流、直流、强电、弱电布线应分开。(2)插件板之间信号传输,保持常态为高电平,防止小信号干扰。(3)送到各电路的总复零信号,用二极管隔离,防止插件板间相互干扰。(4)为防止杂散高频干扰,采用金属隔离线作为传输线。(上海第二建筑工程公司机械施工队)(方朝勇执笔)