荧光数码管的数码字形是由若干段分立的笔划组成的,怎样能够控制各段的发光以达到显示数字的目的呢?这就需要了解它的译码电路是怎样组成的。它可以是每一位数字用一套译码电路——单位显示:也可以是多位数字共用一套译码电路——多位扫描显示。本文从单位显示和多位扫描显示译码电路的逻辑设计来说明荧光数码管的译码和显示。
单位显示

这种显示方式的方框图见图1,在四个触发器构成二——十进制计数器表示一位十进制数时,必须配以相应的译码电路,才能将数字显示出来。四个触发器状态的规定即代码的选取,可以是8421代码,也可以是其他编码方案,但译码电路是必不可少的。下面我们用8421代码为例,说明荧光数码管的译码逻辑设计。
令T\(_{4}\)、T3、T\(_{2}\)、T1为四个触发器,它们可以有16种不同的组合方式(见表),我们取0000、0001……1001十种状态分别表示0~9十个数字(在这里10~15是不会出现的项,称为禁止项)。表中也列出了这十个数字的相应逻辑表达式:当用与门作译码电路,只有所有输入端都是高电位时输出端才是高电位,所以当数字为“ 1”时,四个触发器状态为0001,这时只有T-\(_{4}\) 、T-3、T-\(_{2}\)、T1端是高电位,因此数字“1”的逻辑表达式为T-\(_{4}\)·T-3·T-\(_{2}\)·T1,同理可得其余数字的逻辑表达式。


当四个触发器状态为0000时表示数字0,这时我们要求在数码管里显示出0字;同理当四个触发器状态为1001时表示数字9,要求在数码管里显示出9字等等。以上海电子管三厂生产的YS27-3型端面管为例(见图2),这种字形连小数点在内共分九段,即九个阳极,在图上用字母a、b、c、d、e、f、g、h、i表示,图上的数目字2、3、4、5、8、9、10、11、12为每个阳极引出脚编号(管脚接线图见本刊1974年12期封三)。图3示出YS27—3的工作条件,灯丝由1.2伏电源加热而发射电子,电子受到处于+20伏电位的栅极加速向阳极a~i运动。阳极面上涂有发光层,它能受电子激发而发光,因此只要控制任意一阳极为+20伏,即能使这一阳极起辉;若控制某几个阳极一道起辉就能显示出我们所需要的字形来。例如当T\(_{4}\)、T3、T\(_{2}\)、T1的状态为0101时(即十进制数5),只要设法使a、b、d.g、h这五段阳极一道起辉,即成形。其它字形也可类似排出,这样就可以列出0~9对应阳极起辉的真值表。为便于对照,我们将对应数字触发器状态和逻辑表达式也列出于表中。从表中可以看出,在0~9这十个数字的显示过程中,阳极a除1、4两种情况外每次都要起辉,我们把起辉作为规定信号a,把不起辉作为非规定信号a-,就有a=1-·4-,该式的逻辑意义是:欲使a起辉,一定不是1也不是4的时候,换言之:阳极a起辉是在除去1、4以外的所有数字。获得这个结论的另一种逻辑推导是:欲使a不起辉,必定是1或是4的时候,即a-=1+4,则a=1+4-,根据逻辑代数反演律:1+4-=1-·4-,所以两种推导方法得出的结果完全一样。将所对应的逻辑式代入就得
a=1-·4-=T-\(_{4}\)T-3T-\(_{2}\)T1-·T\(_{3}\)T-2T-\(_{1}\)-。
同理可得出b起辉在不是1、不是2、不是3、也不是7的时候,可写成式子

i为小数点显示,视需要可另行控制或直接接电源+20伏。
对以上各逻辑式我们再举一个例子来分析。f=T-\(_{1}\)·4-=T-1·T\(_{3}\)T-2T-\(_{1}\)-,从真值表中可看到阳极f起辉在0、2、6、8这些数字,而这几个数字都是双数。在二进制数里,凡双数的末位总是0,因此就可以用T-1来概括所有将出现的双数,如果逢双数f即起辉,就有f=T\(_{1}\)的式子。但实际上在双数4时f不起辉,所以应把4剔除,得出逻辑式f=T-1·4-=T-\(_{1}\)·T3T-\(_{2}\)T-1-,其逻辑语言是:f逢双数即起辉但不包括4,这样逻辑就严密了。

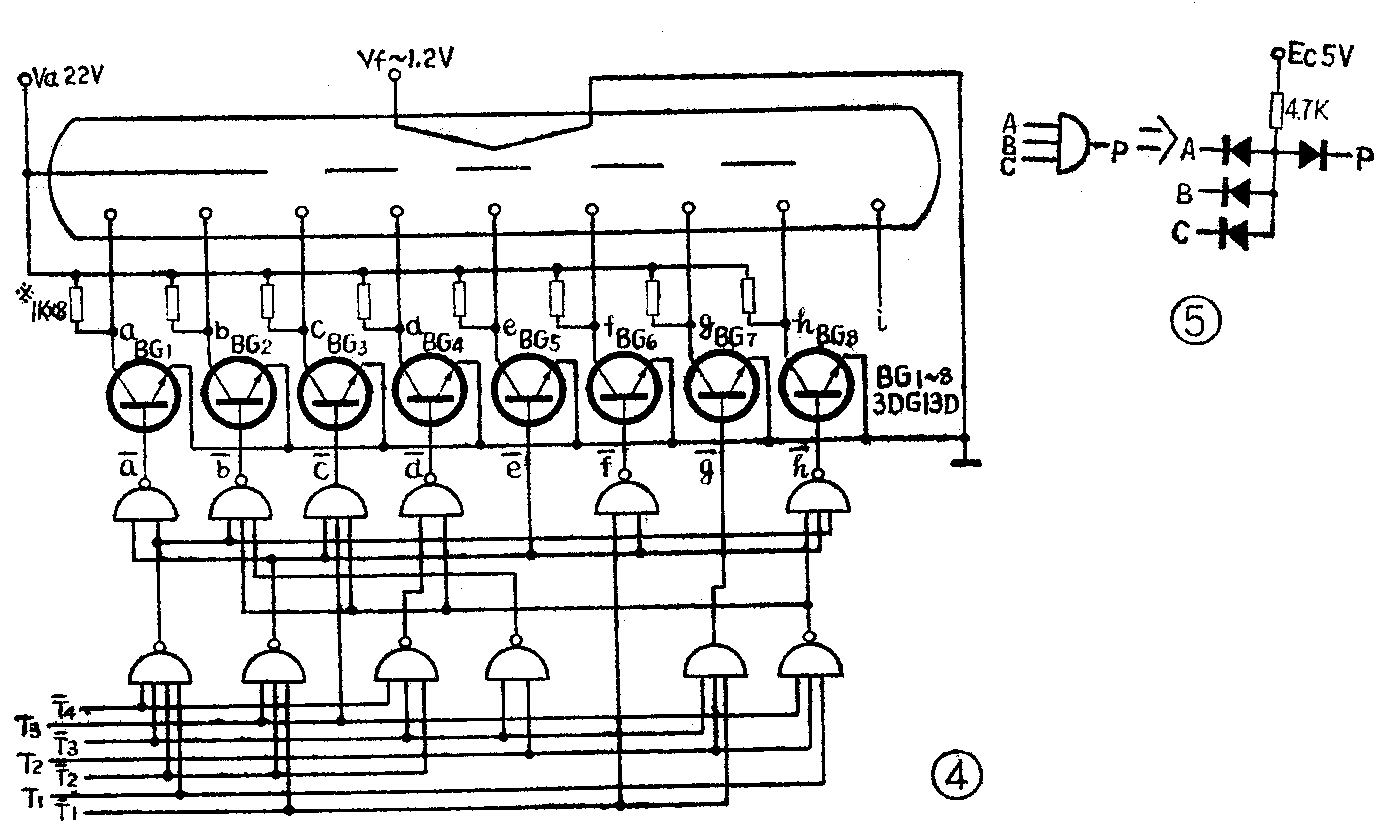
根据逻辑式,我们就可以用各种元件来设计和组成荧光数码管的译码电路,如用DTL或TTL集成电路与非门,可组成图4的形式。因为分析a~h的逻辑式可以看出,它包括T-\(_{4}\)T-3T-\(_{2}\)T1-、T\(_{3}\)T-2T-\(_{1}\)-、T-4T-\(_{3}\)T-2-、T-\(_{3}\)T2-、T\(_{3}\)T2T\(_{1}\)-和T-3T\(_{2}\)T-1-等基本项,我们用五个与非门和一个与门就可以实现这些逻辑功能,再用五个与非门和一个与门把这些基本项按照上列逻辑式进行组合,即可译出a-~h-各项。例如图4中译出a-的与非门,它有两个输入端:T-\(_{4}\)T-3T-\(_{2}\)T1-与T\(_{3}\)T-2T-\(_{1}\)-,和上列逻辑式是一致的。由于这种电路的信号电平最高到5伏,还不能够推动荧光数码管起辉,因此我们一律译出的是“非”信号(即a-~h-),再用BG1~BG\(_{8}\)三极管作倒相转换得到20伏的高电平信号,其集电极输出即可接数码管的阳极,集电极电阻应控制阳极电流Ia在2.5毫安,实验得出约1千欧左右,三极管可用3DG13D或NPN小功率高速开关管,BV\(_{ceo}\)在25伏以上的均可使用。图中g-门和c-门可用与扩展器,亦可以用二极管组成与门(见图5)。
多位扫描显示

这种显示的译码器与单位显示的译码器原理相同,优点是多位共用一套译码线路,这对六位以上的显示可以节省不少元件,但要用一套时序扫描脉冲,为此可以利用计数器已有的移位功能或已有的时序脉冲。图6是一种串并行二——十进制计数器的扫描显示装置。A\(_{1}\)B1C\(_{1}\)D1——A\(_{6}\)B6C\(_{6}\)D6构成有移位功能的串并行二——十进制计数器,CP为移位脉冲,使计数器周而复始地计数,译码器译出的是与它相衔接的四个触发器的状态,送到数字管的阳极等待扫描,所有数码管的对应阳极一一相连。我们要的是将第一位的状态通过译码器在第一位数码管y\(_{1}\)里显示,第二位在第二位数码管y2里显示出来,……。当A\(_{1}\)B1C\(_{1}\)D1的状态经译码器译出并送到了数码管阳极的同时,立即在BG\(_{1}\)的基极加一负脉冲P-Z\(_{1}\)使BG1由导通转截止,y\(_{1}\)的栅极就加进了45V的电压,从而只可能在y1显出数来,其余因没有加扫描电压,所以都熄灭。当第二位A\(_{2}\)B2C\(_{2}\)D2移到A\(_{1}\)B1C\(_{1}\)D1的位置上时,译码器译出的是A\(_{2}\)B2C\(_{2}\)D2的状态,也同样通过译码器送到了数码管的阳极,这一次我们是在BG\(_{2}\)的基极加P-Z\(_{2}\),使BG2截止,y\(_{2}\)便显出数来。第三位、第四位……依次循环显示。CP脉冲与P-Z扫描脉冲应做到同步,即CP将某一位移到了A\(_{1}\)B1C\(_{1}\)D1的位置时,P-\(_{Z}\)就加到某一位三极管的基极去。
在扫描显示中,由于栅极电压V\(_{g}\)是以脉冲形式加上去的,存在的时间非常短暂,以致显示的清晰度下跌,弥补的办法是升高Vg,根据YS27—3的栅极脉冲工作电压当占空比为1/10-1/16时取45—60V。显示的位数愈多,P-\(_{Z}\)的宽度愈窄,要保持一定的亮度就应升高栅极电压Vg。因此选用的三极管应具有高反压特性。另外,整机的工作速度往往取决于机内工作速度最低的元件,因此要选用开关速度快的三极管。(丁文涌)

