本文介绍一个选频声控接收机,我们可用它演示利用声音进行短距离遥控的实验。
电路原理
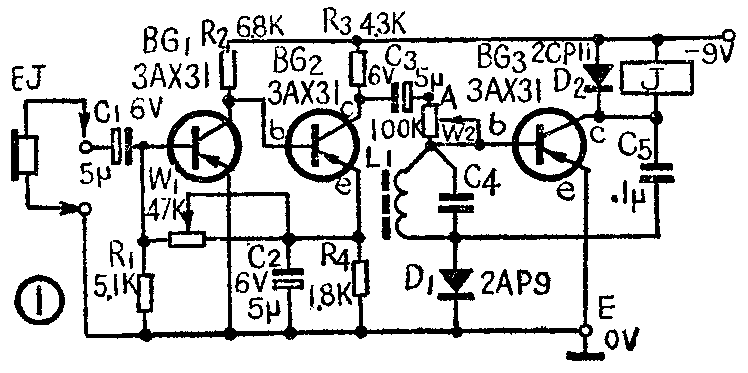
选频声控接收机的电路见图①。印刷电路见图②。电路图中EJ是小型耳塞机,用作传感器。声波信号由耳塞机接收后转换成相应的电信号,然后由BG\(_{1}\)、BG2组成的直接耦合音频电压放大器进行放大。放大后的音频信号再经W\(_{2}\),由L1和C\(_{4}\)组成的频率选择网络进行选频。当L1和C\(_{4}\)组成的谐振回路的谐振频率f0与声源发出的声波频率相同时,诸振回路将呈现很高的阻抗,所以只有频率为f\(_{0}\)的音频信号才能顺利地被送至BG3的基极,而其他频率的音频信号送来时,因为回路失谐而呈现低阻抗,信号被LC回路滤去,不能送至后级。所以只有当声源发出f\(_{0}\)的音频信号时继电器才工作,这样就实现了选频接收的目的。并联在继电器两端的D2,它的作用是防止继电器释放时瞬间电压过高而损坏BG\(_{3}\)。在作演示实验时,可把2.5伏的小灯泡串上3伏电池(也可用1.2伏灯泡串上1.5伏电池),然后串接在继电器J的常开触点之间(见图③),这样继电器工作时灯就亮。



元件选择与制作
本机所用的晶体管全为3AX31,其他型号的PNP小功率低频管也都能使用,但要求BG\(_{1}\)、BG2的β≥30,I\(_{ceo}\)≤500μA。要求BG3的β在80~100之间。EJ用800Ω或1500Ω的耳塞机。电路中电阻均用\(\frac{1}{8}\)瓦炭膜电阻。W\(_{1}\)和W2是WH\(_{7}\)型的微调电阻;C3、C\(_{4}\)、C5需用质量较好的电容。继电器可用JWX-1或JRC-5M型的,也可用其他类似的高灵敏继电器,要求内阻1KΩ左右,吸合电流7mA释放电流3mA左右。声源可采用体育教师用的金属哨子,其频率约为1700赫。
电感器L\(_{1}\)是本机中的关键性元件,它可用下列几种材料来制作。
1.我们曾用截面积3.5×5.5mm\(^{2}\)的小型变压器来代替,测得其初级线圈的电感量L\(_{1}\)为900毫亨,如果使回路谐振于1700赫,则由公式f=\(\frac{1}{2π}\)\(\sqrt{L}\)1C\(_{4}\)求得C4 应选用0.01微法。如果自己绕制L\(_{1}\),可找一个类似的变压器铁心和骨架,用0.08mm的漆包线绕1080匝左右,然后测一下电感量,再按上述方法求出相应的C4。如没有测电感的仪器,可在绕线时绕到1080匝左右抽出几个抽头,以便在调试时选择不同抽头来改变电感量,再配上C\(_{4}\),使回路谐振频率达到1700赫。
2.采用罐形磁盒。我们选用的磁盒规格为MXD\(_{1}\)—2000、GU—18×11、AL250(这种磁盒的直径为18mm,高是11mm),在其骨架上用0.09mm高强度漆包线乱绕840匝,绕好封固后装入磁盒内即能使用。这样绕制的电感器它的电感量约为180毫亨,配上0.05微法的电容器C4、使谐振回路的频率f\(_{0}\)达到1700赫。将磁盒固定在印刷线路板上时,不能用铁螺丝,而要用铜质螺丝。
3.用磁环。我们选用MXO—2000、φ10×φ6×5规格的磁环,用直径0.08mm以下的高强度漆包线穿绕540匝,L\(_{1}\)约为180毫亨,再配上0.05微法电容C4即可。
调试
1.低频放大级的调试:将该级的元件全部焊好并核对无误后,接通电源。调节W\(_{1}\),使BG1、BG\(_{2}\)的集电极电压UC1,U\(_{c2}\)分别为-2V和-4.5V,如果改变W1的阻值时,U\(_{c1}\)、Uc2没有变化,则说明线路或晶体管管脚接错,需仔细检查找出故障。然后将万用表量程旋钮放在交流电压10V档,二表棒跨接在输出端A点和地线E之间,当吹响哨子时,表针应有明显摆动,一般在3V左右。哨声一停,表针应指在零点。若此时仍有偏转,说明C\(_{3}\)漏电或放大器自激。解决自激的方法是增大W2的阻值或换用β低些的晶体管,或者在BG\(_{1}\)的基极与集电极之间接入一个100P的电容。
2.选频回路和功放级的调试:将元件焊接好,接通电源,使W\(_{2}\)调节在约\(\frac{1}{3}\)阻值的位置,此时BG3的基极电压U\(_{b3}\)和集电极电压Uc3分别为0V和-8.9V左右,即BG\(_{3}\)截止。吹响哨子,Ub3和U\(_{c3}\)应分别变为-0.3V和-0.1V左右,此时BG3饱和导通,继电器即吸动。若其他频率的信号,例如讲话的声音也能使继电器吸合,可将W\(_{2}\)适当增大些;反之若发现继电器虽能吸合,但灵敏度不高或距离拉不远,可将W2适当减小,在一般情况下即能提高接收机的灵敏度。如果减小了W\(_{2}\)阻值后,接收距离还是拉不远,这可能是C4的容量误差太大或L\(_{1}\)内部线圈部分短路,应更换L1或C\(_{4}\)来解决。
上述的声控接收机只有当哨子吹响时继电器才吸合,而停吹时继电器立即释放。如果要把它用于生产实践中还需加上延时装置或自锁电路。下面我们举例说明。
机械延时装置
这里介绍一种机械延迟装置,它能控制一个电动机的转动。如图④(a)所示,转盘Q是由电动机D经减速后带动的印刷电路板,S处是绝缘部分。R为一个电刷,它的触点平时与铜箔(图中阴影部分)不接触。当继电器J吸合时,电路E\(_{+}\)、m、n、D、E-接通,D转动,随着转盘Q也转过了一个角度,使电刷R的触点与铜箔部分相接,这样即使J释放,但电路E\(_{+}\)、Q、R、D、E-接通,如图4(b)所示,因此D仍能继续转动,直至重新转至绝缘部分与R的触点相接时D才停转。至于D旋转的时间可由减速齿轮的速度比决定,可以转几分钟或几十分钟。

继电器自锁电路
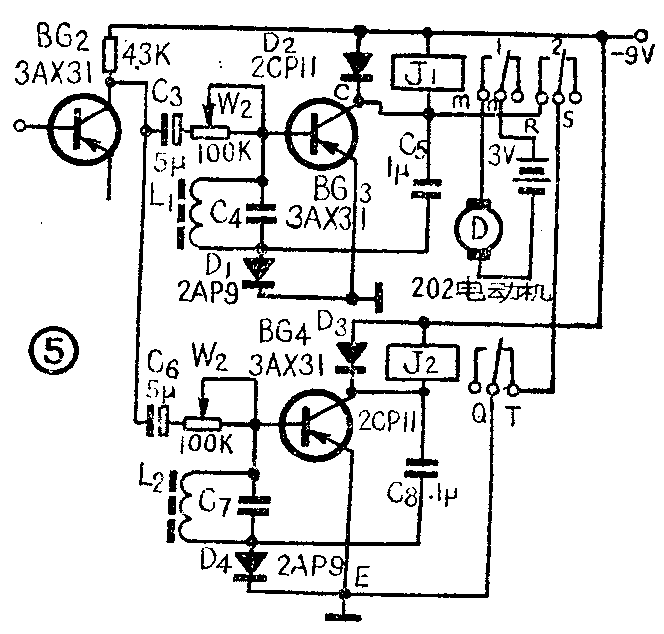
如果在声控接收机的音频放大器后面装上二个不同频率的选频回路和功放级(见图5),就成为一个实用的二通道声控接收机,该机的所有元件数据及通道频率均在附表及图5中标明。哨子甲可利用市售的金属中小型哨子,哨子乙可用市售塑料中小型哨子。这样只要用哨子甲(1700赫的声源)吹一个短暂的声音,继电器J\(_{1}\)就吸合,而且即使停吹哨子,J1继续能保持吸合;如果用哨子乙(2450赫的声源)吹一个短暂的声音,J\(_{1}\)立即释放。下面仍以启闭一个电动机为例说明此种自锁线路的工作原理。当收到1700赫信号时,BG3导通,J\(_{1}\)吸合,它的第一组转换触点n与常开触点m接通,电动机旋转。同时第二组转换触点S与常开触点R也接通,电路中C、R、S、T、Q、E成为通路,即BG3的集电极对地短路,这时即使停止信号输入,J\(_{1}\)两端保持9V电压,J1仍吸合,电动机D将不停地转动。当收到2450赫信号时,BG\(_{4}\)导通,J2吸合,它的转换触点Q与常闭触点T断开,BG\(_{3}\)的集电极不再对地短路,J1释放,D立即停转。(上海第59中学电子工场)

通道 谐振 电感量 电容器 声源
频率 (毫亨) (微法)
1 1700 (L\(_{1}\))900 C40.01 哨子甲
2 2450 (L\(_{2}\))900 C70.0056 哨子乙