在自然界中,制造硅管的原料二氧化硅资源丰富。用硅管做成的收音机技术指标好、性能稳定,电路简单,成本低廉。因而,无论对于业余爱好者还是对于生产工厂用硅管制做收音机是值得大力提倡的。硅三极管饱和电压小、热稳定性好,故很适宜做1.5伏低电压收音机。
一、电路原理简述
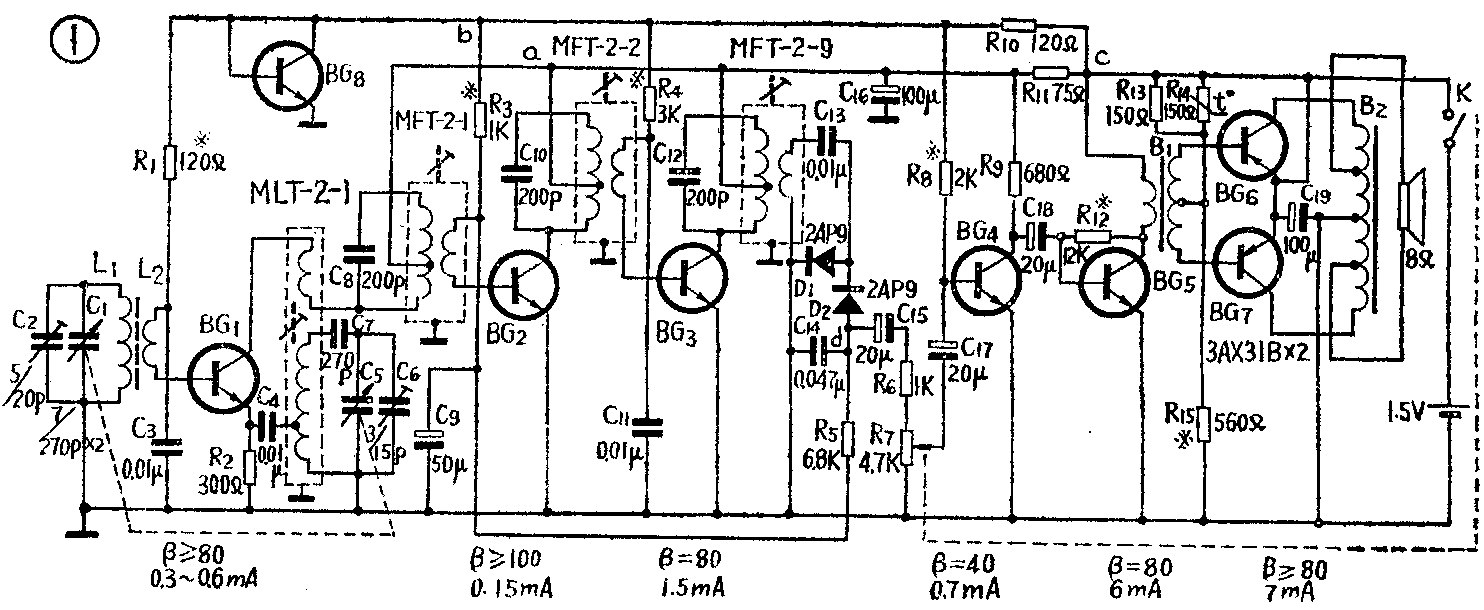
图1是一种用1.5伏低电压电源供电的硅管收音机的电路图。BG\(_{1}\)为变频管。BG2、BG\(_{3}\)分别为第一、第二中频放大管。D1、D\(_{2}\)组成倍压检波。检波后的音频电压送至BG4、BG\(_{5}\)作低频放大。BG6、BG\(_{7}\)为功率输出级。由于硅管热稳定性好,故可将发射极电阻等各个稳定工作点的元件统统取消,因此电路大大简化。

R\(_{1}\)0和BG8构成稳压器,当电源电压下降时,这种电路比只用一个PN结稳压效果较好。
硅管自动增益控制性能较差,制作中应注意。本机采用下列措施提高自动增益控制性能:①采用输出电压高的中周;②倍压检波;③BG\(_{2}\)用高β管且发射极接地。
R\(_{11}\)和C16组成的滤波器,以及电阻R\(_{6}\),都是为了防止整机自激而用。R12是负反馈电阻,用以改善降压特性和减小失真。本机印刷电路图见图2。

二、元件选用
本机中一般的小功率硅管均可采用。各级管子所要求的β值如图1中所注。其中BG\(_{1}\)管的β值不宜太小,否则不易起振;BG2的β值小了自动增益控制不够。BG\(_{3}\)没有要求。末级两只3AX31B,要求β≥80,并应选饱和电压小的管子,因为1.5伏低电压机的末级管是在低电压大电流下工作的,只有选用在大电流下饱和电压降小的管子,才能输出较大的功率,而目前的硅管还达不到这个要求,故末级功放仍采用锗管,例如3AX31B、3AX81B等。
变压器的绕法见图3和表2。图中 n、φ、R分别表示匝数,直径(毫米)、直流电阻(欧)。

输入变压器应双线并绕。输出变压器也要双线并绕,并且要绕成自耦式的。对于不会双线并绕的业余爱好者,可以按原理图依次卷绕,并在指定匝数处出头。输出变压器可以按图4左边原理图绕制,绕制中依序号顺序抽头。如要求对称性好,可按图4右图方法绕制,即I一I′双线并绕,Ⅱ一Ⅱ′双线并绕,各线圈彼此按图示连接。前一种绕制法容易,不易损坏,但对称性稍差,后者与之相反。

用上述三种变压器,收音机可分别得到120毫瓦、110毫瓦和80毫瓦的不失真输出。最大功率输出大于150毫瓦。这些变压器可用于硅管机,也可用于锗管机,其他元件要求情参看本刊1974年第6期《低电压晶体管收音机》一文。
三、安装与调试
要安装好1.5伏收音机,关键元件必须符合设计要求。所有其他元件也必须一一检测,符合要求才能使用。对于业余爱好者自制的输入变压器,最好不要用万用表R×1档去测量,以防测坏,因为两组线圈双线并绕,测量时,断表瞬间有很高电压加在两组线圈的线匝间,易于击穿。如非测不可,应在不插铁心时测,或先短路表笔后松变压器的线头。
安装宜从末级装起,装好一级后通电调偏流,然后一手摸电源,另一手用金属物点基极,有“喀啦、喀啦”声即表示良好。断电,再焊前一级。这样依次从后至前,故障排除于焊接之中。焊完了,也就基本成功了。各级偏流数值如图1中所注。全部装好后,用绝缘把螺丝刀点天线,这时应有“喀啦、喀啦”的声音,表示正常,便可开始调跟踪,其方法和普通收音机一样,故不累赘。
制作中常见的故障列于表3供参考。这里只列出了1.5伏机所特有的一些问题,和一般收音机相同的故障未列出,请参阅有关文章。(徐业林)


