在一般业余条件下,总希望用一些简单的工具和方法来调整电子管收音机的中频变压器,使它准确地调谐在465千赫中频频率上,以取得良好的收音效果。
中频变压器(以下简称“中周”)在出厂时都已调在规定的465千赫频率上,但装到收音机里以后,由于底板布线之间存在或大或小的分布电容,以及电子管的极间电容和电源电压高低变化等因素,都会使中频失谐。所以整机装好后还需调整一下中周。
一、不用仪器调中周
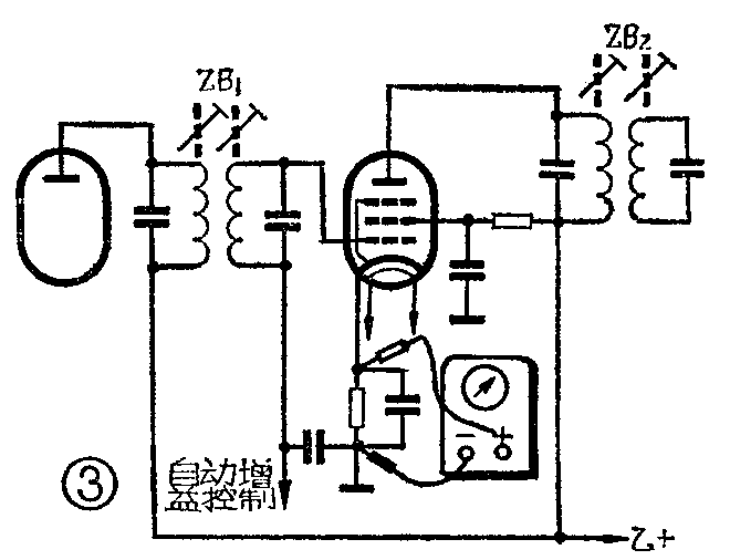
在调中周之前,首先在中波段的低端600千赫附近收听一个电台,例如640千赫中央人民广播电台,调准到电台上。由于准确地调谐到了所接收的电台频率,检波负载电阻上的直流负电压也最大,这时自动增益控制(一般以AGC表示)作用也最大,所以就有一个较大的直流负电压加到调谐指示管6E1的栅极上(见图1),使它的屏极电流减小,从而在屏极电阻R上的电压降减小,屏极电压升高,控制棒上的电压也随之升高,控制棒与荧光屏之间的电位差就小,控制作用就减小,荧光屏的发光面积就大,阴影面积变小。根据这个现象,我们可以通过观察荧光屏发光面积的大小,来判断中周是否调准。

调整的步骤是:先调输出级中周的次级,再调初级,然后调输入级中周的次级,再调其初级,如图2所示。每次调整均按荧光屏面积调到最大,即阴影最小为调准。

二、万用表调中周
上述自动增益控制作用最强时,中放管6K4栅极上的直流负偏压也最大,使得中放屏流减小,从而在中放阴极电阻(图中表笔所接)R\(_{k}\)上的自生偏压也减小。自生偏压(或叫自给偏压)等于Ia×R\(_{k}\)(Ia是屏流)。R\(_{k}\)不变,Ia减小时,自生偏压也减小。因此,我们可用万用表直流电压25伏档或更小档,如图3所示测量阴极电阻R\(_{k}\)两端的电压降。测量时黑表笔接地端。并按图2的调整步骤调各级中周的磁心,以Rk上的电压调到最小为准,由后至前反复调几次,直到电压指示无法减小为止。

三、利用陶瓷滤波器调中周
半导体收音机里用的2L465A陶瓷滤波器,对各种频率的阻抗是不同的,在它的谐振频率465千赫时,它所呈现的阻抗最小,见图4。因此,把它接在中放阴极电路,465千赫中频信号的负反馈就小,中放增益大,从而就提高了对465千赫信号的选择能力。这里利用它的选频作用,将它接在中放电路里和上述方法结合起来调中周,就能将中频频率调得更准确。

具体方法是:①将2L465A陶瓷滤波器接入阴极电路代替图3中放管阴极旁路电容(R\(_{k}\)旁并联的)Ck;②按照上述图2的调整步骤,将自生偏压调到最小;②再将阴极旁路电容并联在阴极电阻R\(_{k}\)的两端,看并上时电表的指示或阴影面积是否减小。如不减小,说明各级中周已准确地调在465千赫中频上。如有减小,说明中周是调在了偏离465千赫的频率上,陶瓷滤波器对偏离465千赫的中频有一定阻抗,形成一定的负反馈使增益减小,经检波后取出加到中放管栅极的AGC负压也相应小些,屏流也不是减到最小,从而阴极电阻两端的自生偏压也不是最小。这时并上Ck后,由于C\(_{k}\)对465千赫和465千赫附近的频率来说,阻抗都很小,抵消了陶瓷滤波器的作用,所以阴极自生偏压将进一步减小。遇到这种情况,可稍稍改变本振线圈磁芯的位置,或将双连略为偏调一些(但仍要能听到原来电台的声音),使本振频率适当变化,再按上述①②调整过程进行调整,直到并上电容Ck后,电压表指示或阴影面积不再减小为止,就调准在465千赫上了。
四、如何调整已调乱的中周
中周是超外式收音机的心脏。中周失谐,就会导致收音机灵敏度降低或选择性变劣,甚至无法收音。因此,在调整中周时必须按一定的步骤进行,不可随便乱调,否则容易调乱。
对于原先装在收音机里被调乱了的中周,可先打开电源开关,让收音机先预热半分钟,然后将音量开关开得稍大一点,就能听到微弱的交流声,这时可用天线尾线擦底板,或用左手拿螺丝起子(手指贴在金属部分)去碰触中放管6K\(_{4}\)的栅极(1脚),一般都能听到咯咯声,同时按图2的步骤,右手拿没有感应作用的起子调输出中周的磁芯(先调次级线圈磁芯,后调初级的)使咯咯声最响。然后用天线尾线擦底板或用螺丝起子去碰触变频管的信号栅(7脚)或双连定片,右手调输入中周的次级线圈、初级线圈的磁芯至咯咯声最响。这时就能收听到电台的播台了。但这时的中频频率只不过是调在和465千赫中频相接近的频率上,然后再按前述方法调准中周。
五、调整中周时应注意几点
1.在调整中周之前,应检查收音机变频级是否正常工作,可用螺丝起子去触碰变频管6A2的信号栅(7脚)或双连的定片,如扬声器能发出较大的咯咯声,说明变频级在工作。收到的信号是经变频后送到中放级去的,这时调中周才有意义。如触碰后没有咯咯声,则说明变频级没有工作,中放收到的信号可能不是经差频后的中频,而是外来的高频信号,应排除故障后才能调中周,否则越调越乱。
2.在调中周时,一般可收听信号较弱的低端电台,同时要将天线尾线团起来,使输入信号尽可能小些,这样信号较稳定,调谐时音量大小变化比较明显,易于调准。
3.在调中周的过程中,不能任意变换所收的电台,即不能旋动双连可变电容器。否则先调好的中周和后调好的中周谐振频率将不一致。(上海59中学 毛伊杰)