伟大领袖毛主席教导我们:“报纸的作用和力量,就在它能使党的纲领路线,方针政策,工作任务和工作方法,最迅速最广泛地同群众见面。”为了使中央的报纸更迅速地送到全国人民的手里,我们组成了工人、干部和技术人员三结合的攻关小组,坚持“独立自主、自力更生”的方针,以毛主席的光辉哲学思想指导战斗,研制成功了快速报纸传真机,它可以在5~6分钟时间内,通过载波或微波电路,以传真电报的方式,将一整版报纸的全部内容和形式,准确迅速地传送到祖国各地的报纸代印点。它采用光电扫描发送,感光底片接收,底片经暗室处理后即可制版印刷,大大提高了报纸的发行速度。
1.传真信号的发送与接收
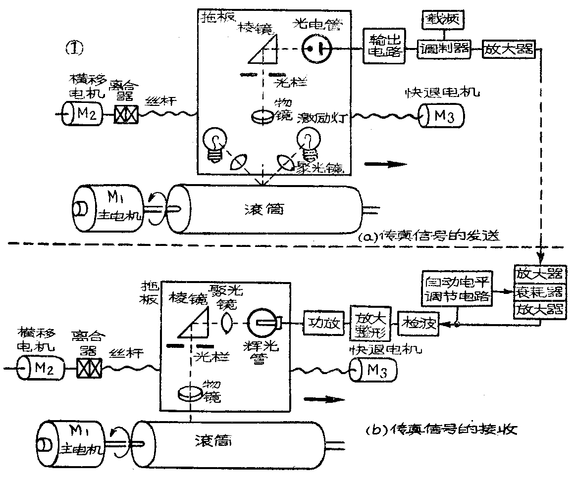
报纸传真和其他传真的基本原理是一样的。在发送端将欲发送的图象分解成很多微小单元,通过光电变换元件,依照一定的顺序将这些单元转变成电信号,电信号的大小与所发送的单元黑白程度成比例,这些电信号通过传输系统一有线或无线电路,传送到接收端;在接收端,把所收到的电信号通过电光变换元件,再转变成和原来黑白程度一样的微小单元,最后把这些微小的单元依照与发送端同样的顺序合成图象。将图象分解成很多微小单元的过程或相反的合成过程称为扫描。——本机采用滚筒光电扫描方式(如图1所示)。在发送端,发报拾取信号,采用泛照射对称照明系统,两个6伏3瓦的激励灯,以一对平凸透镜聚光,用45度角对称地把光点1比1投射到滚筒表面上,两光点重合,其中心处在放大成象物镜的光轴上,从贴在滚筒表面上的报纸样张反射回的光线,经一组显微物镜放大约10倍后,投于光栏面上,经光栏孔分解后的图象信号,通过全反射棱镜投入光电管阴极面上,光电管便把强弱不同的光信号变成相应的电信号,由于光点在图象上的扫描运动,光电管输出的便是一系列电信号,这就是发报措取信号的原理。

从光电管输出的一系列电信号经放大后送至调制器,调制后的信号由发投放大器放大至额定输出电平送到收方。
在接收端信号经放大、检波、整形后送给辉光管。辉光管是一种充气管,它所发出的光的强弱是随通过辉光管的电流大小而变化,使强弱的电信号变成强弱的光信号,经一组对称的双胶透镜聚光把光信号放大后,射到光栏孔上,通过光栏孔的光信号,经一组显微物镜,缩小约8倍成象于贴在收报滚筒表面的感光胶片上进行收录。
2.同步系统
在传真通信中,整个的图象是被分解为一系列的单元发送的,在接收端,把图象单元合成为图象时,应当保持各单元相对位置关系的正确性。为了满足这个要求,收发两端扫描一行的时间必须相等,这就叫同步。不同步时接收下来的图象发生歪斜。
收发报机的扫描系统由同步电机带动以保证收发报机滚筒同步运转。电机的电源频率也必须是稳定的。
本机采用独立同步方式,就是收、发传真机各用一个独立的同步电源,各自保持频率稳定度满足一定的要求,收、发传真机中转动系统分别由本方的同步电源来策动。为了使传真收报机接收的底片在有效宽度352毫米之内偏斜误差不超过1毫米,这就要求同步电源的稳定度为±0.68×10\(^{-7}\)。为了满足这样的稳定度,同步电源的主振器采用晶体振荡器,并且放在恒温槽内。主振频率经分频后,得到整机所需用的各种频率。一个主振器可供四部传真机用。
3.自动对相系统
在传真通信中,除了要求收发两端同步之外,还要求同相。这就是说当发送端扫描到图片边缘时,接收端也应当扫描到图片的边缘,在不同相时,接收图片的图象被割裂,因此要求收发双方扫描的初始相位相同。开机后,收发报机必须先对好相位。本机采用自动对相,其方框图见图2。

本机的相位信号是这样产生的;在收发报机主电机的轴上都装有一个铜环,在铜环的外圆上镶有一块软铁钉,这块软铁钉是表征滚筒起始位置的。在靠近铜环的地方装一个磁头(即在一块永久磁铁上绕有若干匝线圈)。当滚筒旋转时,铜环上的软铁钉通过磁头时便切割磁力线,在线圈中产生感应脉冲。这个感应脉冲经过放大整形成为对相的相位脉冲。在发送端该脉冲经调制器调制到传真信号的传输频带,经由传真信号同一途径传送到接收端。在收端经检波、放大、整形后就可与收端相位脉冲进行比较对相,对相过程有表头指示。
收报机在对相完成以前,主电机是由副振荡器提供驱动信号,转速稍低于发方,收发双方的相位脉冲在驱动门进行比较,一旦相遇则驱动门输出一个脉冲给对相监测电路。这时频率转换门立即输出主振器信号给电机驱动系统,使收发双方的电机按相同的转速旋转,相位脉冲下一次也相遇,驱动门再输出一个脉冲,这样连续几次相遇以后,监测电路才送出信号给应答回控系统,使它送出应答信号给发送端,表示对相已完成,并锁定自动对相电路,直至停机复原。
4.应答回控及导进控制系统
接收端在对相完成以前,由对相监测电路送出一个“0”信号(地电位)给应答回控系统的与门,这时与门的另一个输入端虽有自分频器来的应答信号,但由于“0”信号的存在,故与门没有输出(见图3a)。在对相完成以后,对相监测电路改送“1”信号(正电位)给与门,故与门输出应答信号,经应答信号发送电路和外线变压器送至应答外线,经音频通路送至发送端。

在发送端,应答信号经外线变压器和应答信号接收电路至与门(见图3b)。该与门有五个输入端,其中一个是由分频器来的导进信号,经整形后等待于此。另外四路分别接至四路应答信号接收电路,因本机可同文工作,一部发报机可以同时对四部收报机。若不需四路同文工作,可由四个开关控制任意组成三路、二路或点对点的通报。在应答信号未到之前,各路均为“0”电位,故与门无输出。在各路应答信号到达后,这时与门即输出导进信号,且分成两路,一路经延时输出至导进继电器推动电路,使导进继电器动作,控制发方导进(拖板横移),另一路经或门电路沿着相位信号相同的途径送到收方,经导进信号接收电路、延时电路,推动导进继电器动作,使收方拖板横移。
5.联络监听系统
为便于收、发报值机人员进行业务连系和监测机器工作情况是否正常,本机还没有联络监听系统。
6.本机主要特点
本机采用可装卸的滚筒。把贴有感光底片的收机滚筒放在暗箱内,收发投机均可在明室工作,改善了值机人员的劳动条件。并且每部机器都配有几个滚筒,可事先装好原稿或底片,以提高电路利用率。
采用了高稳定同步电机及同步控制和抖动微调电路,使整机运转稳定、抖动较小。
本机还没有两种转速和两种扫描线密度。通常采用24线/1650转,传完一版报纸只需5分多钟。在传送重要图片时,可采用36线/1100转,用11分多钟传完一版报纸,可以得到更高的传输质量。
操作方便,自动化程度较高。本机在按下“电源”和“启动”按钮后,即开始自动对相,对好后,收发双方即自动导进收发报。在通报过程中可自动进行电平调节,收发完一版报文后,即自动停机,光学拖板自动退回原位,整机自动复原,同时将外线自动倒至已经启动的另一部机器,继续收发第二版报文。
本机适用于有超群频谱(312~552千赫)的载波或微波电路,只要有符合要求的线路联接设备接续,即可使用本机,其通路构成情况如图4所示。(马真)
