走进自动化邮局的营业厅,可以看到一排整齐的设备,上面标着“邮票出售机”、“报纸出售机”、“明信片出售机”字样。所有这些设备都是我国邮政工人遵照毛主席独立自主,自力更生的教导,自行设计制造的。如果你想要买一张8分邮票,可以从8分邮票出售机的投币口投入8分硬币,无论是投入八个1分的硬币,或四个2分的硬币,或一个5分一个2分一个1分的硬币,只要是累加等于8分时,机器的出售口就会送出一张8分邮票。面板上的数码管能随时显示出你所投入的钱的总数。如果你投入的硬币数多于8分,机器还会将多余之款自动找出。遇有投进去的硬币不是人民币,或者邮票快要售完、硬币快要找完等情况时,机器还能自动发出告警信号,通知值班人员及时进行处理。
自动出售机怎样能完成这些动作呢?下面以8分邮票出售机为例来做一说明。
整机主要部件
图1是邮票出售机的方框图,它有以下几部分:

1.投币架
投币架上面有一投币口,当你把1分、2分或5分的人民币投入投币口时,投币口后面的闸门就打开,将硬币经鉴别后落入存币盒。如果用非金属品投入投币口,闸门不动作。
2.单元电路板
(1)封门告警板:负责控制开闭投币口的闸门,并且在出现下列情况时发出告警信号,例如投入的硬币不是人民币;邮票快售完;找币器中的硬币快用完;售票机连续出票等情况时,都会发出告警信号。
(2)鉴币板:用来鉴别所投入硬币的币值,然后向计数板送出计数信号。
(3)计数显示板:接受从鉴币板送来的信号,进行累计,并用数码管显示出投入硬币数,同时向执行板送出“出票”、“找币”信号。
(4)执行板:控制执行机构完成出售物品的动作,控制找币器的找币动作,然后向计数板送出复位(置零)信号,使整个电路恢复原状,数码管显示“0”或熄灭,准备接受了一次再动作。(图1中“出票译码”与“找币控制”间应有箭头向下的连接线,图中漏画。)
(5)电源板:负责供给全机所用的各种直流电源。包括-6伏、+12伏二组晶体管用稳压电源,一组+160伏数码管用稳压电源和一组不稳压的+70伏电磁铁工作电源。
3.执行机构
从电路板给出的电信号,使马达带动相应的机械结构动作,完成送出一张8分邮票的动作。
4.找币器
由二只电磁铁在电路的控制下,把分别存放在二只找币筒中的1分、2分硬币打出来,可组合成找1~4分四种情况。
电路原理
下面简单介绍几块主要电路板的工作原理。
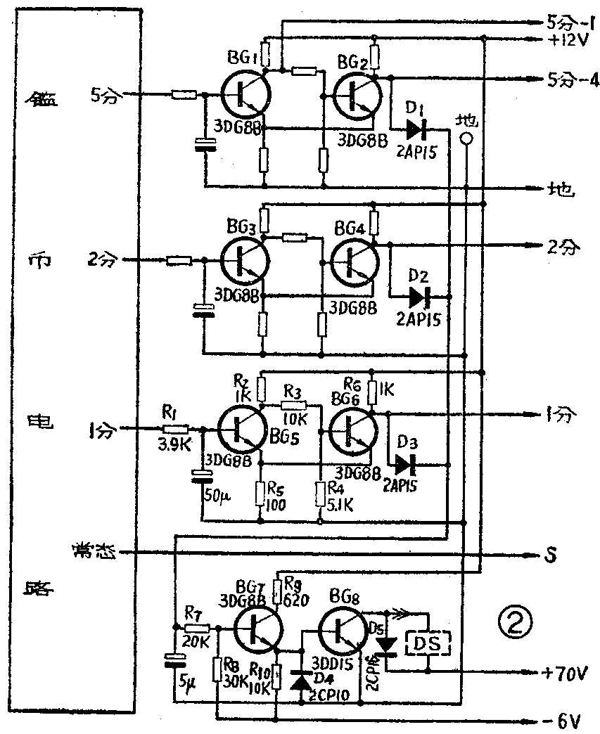
1.鉴币板。图2是鉴币板原理图,它包括鉴币和收币二部分。当硬币通过投币口进入硬币通道(简称币道)后,由于各种硬币的尺寸、电磁特性各不相同,鉴币电路对它们的反应也不一样,如投入的是1分硬币,鉴币电路的1分端即呈高电位,促使由BG\(_{5}\)、BG6组成的射耦双稳翻转,即BG\(_{5}\)导通、 BG6截止,BG\(_{6}\)集电极呈高电位, D3导通。

D\(_{1}\)、D2、D\(_{3}\)组成一个或门电路,当鉴币电路的1分、2分或5分任一端呈高电位时,或门输出端即呈高电位,收币部分的 BG7、BG\(_{8}\)导通,收币电磁铁DS吸动,硬币便落入存币盒内。
硬币落入存币盒后,鉴币电路复原,BG\(_{5}\)截止, BG6导通, BG\(_{6}\)集电极从高电位变为低电位,这个负跳变输出到计数显示板,使计数电路1分单元翻转,记下了1分钱数。
如投入的是2分硬币,电路的工作原理和1分相同。由于计数电路只能输入1、2、4、8四个数码,所以如果投入的是5分硬币,当射耦双稳翻转时,就先向计数电路送去一个5分\(_{-}\)1(1分)计数信号,当射耦双稳还原时,又送出一个5分-4(4分)计数信号。
2.计数显示板。计数显示板包括计数电路、译码电路、数码管显示电路和计数信号输出电路(图3)。

(1)计数部分由四级双稳态电路按8、4、2、1编码组成,它和通常计数电路不同之点是采用多路输入,除了正常的由上一级双稳送来的进位信号外,第一、第二、第三级双稳都又可输入从鉴币板送来的触发信号:第一级双稳可输入1分和5分\(_{-}\)1信号;第二级双稳可输入2分信号;第三级双稳又可输入5分-4信号。
计数电路的复位由执行板控制,当我们开机时,执行板就送出一个复位脉冲,使四级双稳右边的管子都导通,呈“0”状态。当我们投满所售邮票面值的硬币后,计数板向执行板发出出票信号,使执行机构送出一张邮票;执行板随即送回来一个复位脉冲,使四级双稳又全部置零。
(2)译码显示部分采用二极管组成八组正与门作译码电路,只有当某一组正与门电路的所有输入端均呈高电位时,这组正与门的输出端才为高电位。译码电路的输出控制十个高反压开关管,当相关的正与门电路输出端变高电位时,该开关管导通,数码管相应的数字就点燃显示出来了。
考虑到最多可能投入的硬币数是在出售10分邮票时,买邮票的同志投入9分硬币后再投入一个5分硬币(9+5=14),而四级双稳组成的计数电路可以表示0~15共十六个数码,所以我们只用了一组四级双稳组成的计数电路,而在显示译码电路上用了“奇偶鉴别”和“十非”电路来使电路简化。
“奇偶鉴别”电路由二极管D\(_{1}\)、D3和D\(_{2}\)、D4组成,按照二进制计数法,当输入脉冲个数为奇数时,第一级双稳的1为高电位、1-为低电位;偶数时1为低电位、1-为高电位。利用这个规律,使奇数显示开关管的发射极受第一级双稳1-端控制、偶数受1端控制。
在这里个位数显示管既要显示个位数的0~9,又要显示十位数10~15中的0~5,所以加了一个由BG10等组成的“十非”(1-0)电路,使开关管BG\(_{0}\)~BG5分别受二组译码电路来控制(我们把它叫做一位数译码电路和二位数译码电路),这二组译码电路又由“十非”电路来决定那一组起作用。当所投硬币不满8分时,第四级双稳左管集电极8-呈高电位, BG\(_{1}\)0的发射极亦为高电位,BG10截止,输出高电位,使一位数译码电路起作用。当等于或超过10分时,8-呈低电位,BG\(_{1}\)0的发射极亦为低电位,而这时2或4中必有一端输出为高电位(因为要等于或超过10分,必须是8十2、8+1+2、或8+4,因此第二级或第三级双稳必须有一级处于翻转状态),使BG10、 BG\(_{11}\)同时导通,BG10导通后1-0输出低电位,封闭一位数译码电路而使二位数译码电路起作用,同时BG\(_{11}\)导通使十位数码管显示“1”。
例如:我们先投入一个5分硬币5分\(_{-}\)1。5分-4二个输入信号先后使第一、第三级双稳翻转,1、4输出高电位,这时只有D\(_{24}\)~D26这一组译码电路三个输入端都是高电位,因此输出高电位加到BG\(_{4}\)、BG5的基极,而同时由于第一级双稳的翻转,“奇偶鉴别电路”使BG\(_{0}\)、BG2、BG\(_{4}\)、BG6、BG\(_{8}\)的发射极处于高电位;BG1、BG\(_{3}\)、BG5、BG\(_{7}\)、BG9的发射极处于低电位。BG\(_{4}\)、BG5的基极电位虽然相等,但由于发射极电位不同, BG\(_{5}\)导通、BG4不导通,数码管就显示出“5”来了。
我们再投入2分硬币一个,第二级双稳翻转,2为高电位、2-为低电位,使D\(_{24}\)输入端变低电位,“5”熄灭;而译码电路D30~D\(_{32}\)的输入端此时都是高电位,“7”字就亮了。
接着再投入5分硬币一个,5分\(_{-}\)1脉冲使第一、二、三级双稳翻回“0”状态,第四级双稳翻转到“1”态,跟着5分-4。脉冲使第三级双稳又翻转为“1”态,四级双稳呈“1100”状态,即4、8端均为高电位。D\(_{21}\)~D23组成的与门三个输入端都呈高电位,输出端呈高电位,BG\(_{2}\)导通,“2”字点亮,同时BG11亦导通,十位数的“1”亦点亮,这样就显示出“12”来了,完成7+5=12的动作,并且把我们投入的硬币总数显示出来了。
(3)图3中BG\(_{21}\)~BG24这部分称为计数信号输出电路,增加这一级非门是为了使计数输出信号有足够能力驱动后面的电路来控制找币、出票等执行机构。
3.执行板。图4是执行板电路原理图,可以分成出票译码电路、找1分控制电路、找2分控制电路和找4分辅助电路、复位脉冲形成电路、马达控制电路、长出票告警电路等部分。

(1)出票译码电路的主要部分是由D\(_{1}\)~D19组成的六个与门电路和一个或门电路,图4实线所示为出售8分邮票的出票译码电路。在没有投币时,计数电路全部置零,所有与门的输出端都被箝在低电位,控制电路不动作。当投币到8分时,四级计数双稳呈“1000”状态,计数信号输出电路中只有BG\(_{24}\)输出高电位,出票译码电路中只有“8入”为高电位,使二极管D13输出端亦呈高电位, D\(_{19}\)导通,使马达控制电路开始工作。同时由于其他三级双稳都为“0”态,“ 1入”、“ 2入”、“ 4入”都为低电位,所以虽然D14、D\(_{15}\)、D17输入端为高电位,但找1分、找2分、找4分都没有信号输出。
如果投进去硬币总数是9分,四级计数双稳呈“1001”状态,“ 1入”、“ 8入”都呈高电位,除D\(_{13}\)输出端为高电位外,D1、D\(_{14}\)组成的与门也输出高电位,使找1分控制电路也开始工作。如果投入硬币总数是10分,四级计数双稳呈“1010”状态,“2入”、“8入”呈高电位,D5、D\(_{15}\)组成的与门输出端为高电位,使找2分控制电路工作。
(2)找1分控制电路由BG\(_{1}\)~BG3等组成,受出票译码电路中找1分端输出信号所控制。当找1分输出端呈高电位时,BG\(_{1}\)导通, C1开始充电瞬间,由于电容器两端电压不能突变,高电位经D\(_{26}\)加到BG2基极,BG\(_{2}\)、BG3导通,找1分电磁铁DZ\(_{1}\)吸动,从1分找币筒中打出一个1分硬币。 C1充电到一定程度后,BG\(_{2}\)、BG3截止,电磁铁DZ\(_{1}\)复原。
(3)图4中BG\(_{4}\)~BG7部分是找2分、找4分控制电路。BG\(_{4}\)、BG6、BG\(_{7}\)组成找2分控制电路,它的工作原理和找1分的相同。
当需要找4分时,就是等于找2分电磁铁需要动作二次,打出二个2分硬币。从出票译码电路找4分输出端送来的高电位信号,经D\(_{23}\)加到BG4、BG\(_{6}\)、BG7,使电磁铁DZ\(_{2}\)动作一次,此时,找4分辅助电路BG5在平时由于R\(_{18}\)的偏置而导通,BG5对BG\(_{6}\)没有影响。而电容C3在找4分信号送来的同时,由于高电位使D\(_{29}\)反偏,C3开始经R\(_{l6}\)、D30、BG\(_{5}\)的发射结被充电,当出票后计数电路复位,出票译码电路找4分输出端又恢复低电位,D30正端被D\(_{28}\)箝在低电位,D30截止,电容C\(_{3}\)开始放电,对BG5加上反向基流,使BG\(_{5}\)截止, BG5集电极呈高电位,使BG\(_{6}\)、BG7又一次导通,找2分电磁铁DZ\(_{2}\)又动作一次,再次打出一个2分硬币,这样便完成了找4分的全部动作。
(4)图4中BG\(_{8}\)~BG11这部分为复位脉冲形成电路,利用装在出票架撕票轮上的一组铜环接点的通、断来反映出票动作情况。平时两铜环是相接触的,使BG\(_{8}\)截止、BG9导通、BG\(_{1}\)0截止,虽然BG10的集电极呈高电位,但在出售机不动作时,电容C\(_{5}\)充满电以后充电电流基本为零,相当于开路, BG11输出为低电位。
在送出邮票时,邮票从二个铜环中通过,把上、下铜环隔离开,BG\(_{8}\)导通、BG0截止、BG\(_{1}\)0导通,C5通过BG\(_{1}\)0放电,BG11基极仍处于低电位。
当邮票被撕断送出后,铜环重新相接触,BG\(_{8}\)截止、BG9导通、BG\(_{1}\)0截止,BG10集电极由低电位变成高电位,由于C\(_{5}\)开始时相当于短路,这一正跳变经D36加到BG\(_{11}\)的基极,使BG11瞬时导通, BG\(_{11}\)的发射极输出一个正脉冲信号到计数电路,使四级计数双稳都置零。
(5)BG\(_{12}\)~BG14这部分是出票马达控制电路,它受出票信号的控制,用以控制出票马达的转动和停止。当有出票信号时, BG\(_{14}\)导通,接通了由D40~D\(_{43}\)组成的桥式控制电路,使得串连在交流回路中的马达转动,通过机械的配合作用把一张邮票送出来。当邮票送出后,计数器复位,出票端恢复低电位, BG14截止,该晶体管中无电流流过,因此桥式控制电路的交流侧也无电流,马达就停止转动。
(6)长出票告警电路。如果出了故障,计数器不能复位,则会使马达继续不停地转动,邮票一张接一张地送出来,这种现象叫做“长出票”故障。由BG\(_{15}\)~BG17组成的这部分电路,就是当机器发生这种故障时自动告警、并使马达停止运转用的。它的工作过程是这样的:在出票时, BG\(_{12}\)的输出除了使BG13、BG\(_{14}\)导通外,还同时经R44向C\(_{8}\)充电。当出现长出票现象时, C8两端电压不断升高,超过双基极二极管BG\(_{15}\)的峰点电压,BG15导通,C\(_{8}\)快速放电,BG15又很快截止,从基极输出一个正尖脉冲加到BG\(_{16}\)的基极。BG16、BG\(_{17}\)组成告警双稳电路,正常状态是BG17导通、BG\(_{16}\)截止,这时翻转成为BG16导通、BG\(_{17}\)截止。BG11由于从BG\(_{17}\)集电极送来的高电位而输出一个复位脉冲,使计数器复位。BG16集电极接到告警电路,使告警电铃响,待工作人员把故障处理完毕,按下“长告警复位”按钮,使BG\(_{17}\)集电极接地,告警双稳电路复位,电铃停响。
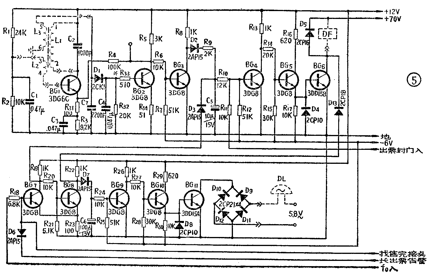
4.封门告警板。图5是封门告警板电路图。它由感应开关电路(BG\(_{1}\)~BG3)、封门电磁铁开关电路(BG\(_{4}\)~BG6)、告警控制电路(BG\(_{7}\)、BG8)及告警铃控制电路(BG\(_{9}\)~BG11)组成。工作过程简述如下:在投币口上部装有绕在一根磁棒上的线圈 L(L\(_{1}\)、L2、L\(_{3}\)),在没有投币时LC回授式振荡电路起振,振荡电压经D1整流后使BG\(_{2}\)导通、BG3截止。当投币时,金属硬币接近投币口上部的线圈时,由于金属引起的涡流损耗,使振荡回路停止振荡,BG\(_{2}\)截止、BG3导通,使原来导通的BG\(_{4}\)变截止,它的集电极变高电位,经BG5使BG\(_{6}\)导通,封门电磁铁DF吸动,投币口开门,使金属硬币能投进去落入币道进行鉴币,硬币离开磁棒后,BG1~BG\(_{6}\)都复原,投币口又被封住。当非金属物靠近线圈时,对振荡回路没有影响,所以封门电磁铁不吸动,投币口不开门。在出票时,从执行板送来高电位经R11加到BG\(_{4}\)的基极,BG4导通,此时即使感应开关电路动作,电不能使BG\(_{4}\)截止,因而封门电磁铁不能吸动,投币口关闭不让再投币,直到完成出售一张邮票动作、出票信号消失后,才能继续投币。

告警控制电路有三个输入端:一是执行板送来的长出票告警信号,一是找币器硬币找完、邮票售完信号,另一是鉴币板送来的常态信号。正常工作时,常态信号使BG\(_{7}\)导通、 BG8截止, BG\(_{8}\) 集电极的高电位经D7使BG\(_{8}\)导通并使C6充电, BG\(_{11}\)因 BG10输出低电位而截止,交流电铃中无电流。当投入硬币后,BG\(_{7}\)、BG8翻转,但由于C\(_{6}\)的放电作用,使BG9仍然处于导通状态,所以电铃不会告警。如果投入的不是人民币,收币电磁铁不会动作, C\(_{6}\)经一段时间放电后不能维持BG8导通,电铃就响传告警,同时BG\(_{7}\)又使BG4导通,将投币口封闭。此外当找、售完接点接地,或长出票告警电路送来低电位时,BG\(_{7}\)、BG8也翻转,也能使电铃工作和封闭投币口。
以上我们以8分邮票出售机为例来介绍JS4AI型自动营业出售机,只要将出票译码电路中的二极管及计数双稳电路中复位二极管部分地改接,并将计数至数码管的连线进行相应的改接,就可以做出售其他面值邮票的出售机。明信片、报纸和信封等的自动出售机原理也是相同的。(江苏省邮政机械厂)