生产单位常常需要有一个共同的时间标准,常用一台母钟来驱动许多子钟一齐工作,本文介绍我们自己制作的一种晶体管数字式母钟以及控制子钟和自动报时系统。图1是母钟的方框图,主要分成4千赫频标、时基分频、计时、译码显示、报时、半分脉冲输出电路和电源等部分。

单元电路
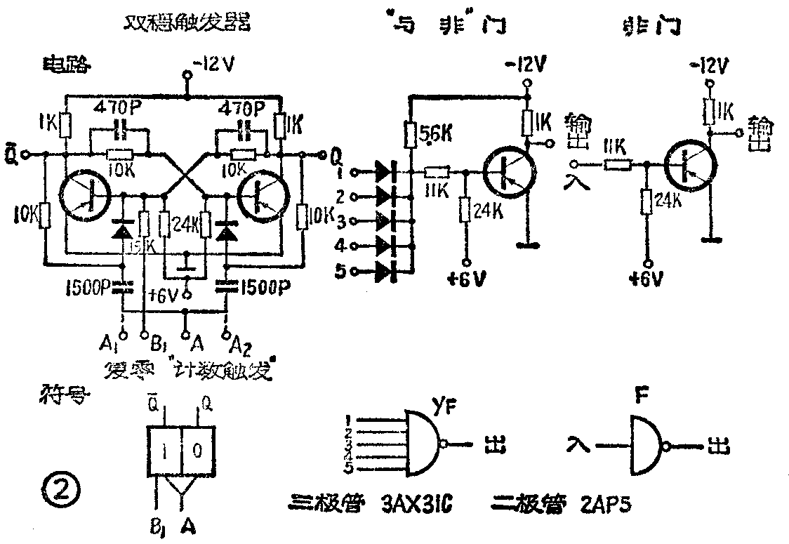
这台数字钟用的基本单元电路有双稳态触发器、与非门、非门等三种,它们的电路和符号见图2,这些电路原理本刊以前已经介绍过,这里不再解释,各单元电路中的三极管均采用3AX31C,二极管均采用2AP5。

电路的逻辑状态规定为:信号电平在-30伏~-6伏间称为“1”态,在-2伏~+6伏间称为“0”态,晶体管处于截止状态称为“1”态,处于饱和导通状态称为“0”态。
4千赫频标和时基分频电路
4千赫频标电路由晶体振荡、缓冲放大和脉冲成形三部分组成,见图3。BG\(_{1}\)、BG2和4千赫石英晶体组成反馈放大式振荡电路,微调电容5/27P用来微调振荡频率。从BG\(_{2}\)集电极输出的4千赫信号先经BG3放大,然后由BG\(_{4}\)、BG5组成的射极耦合触发器整形,成为前后沿陡削的4千赫方波。石英晶体密封在一个双层隔热筒中,虽然没有用恒温槽,母钟误差仍可达到小于0.5秒/24小时。

时基分频电路由三级十分频和一级四分频电路组成,把4千赫信号分频10×10×10×4=4000次,就可得到标准的秒脉冲作为电子钟的基本计时单位,见图4,同时还引出一个半秒脉冲作为调整脉冲。

四分频电路由二级双稳态触发器组成。十分频电路由四级双稳态触发器组成,四级双稳态组成的计数电路,可以有十六种变化状态,要使电路在接受十个脉冲时就返回到起始状态可以有很多方法,我们采用的电路见方框图5,它是在十六分频电路的基础上,使第四级双稳态分别受第二级和第三级的触发,并加了一些反馈元件(电阻和电容)组成的。在输入0~3个脉冲期间,电路状态的变化和十六分频电路是一致的,当输入第四个脉冲时,第三级双稳由于受第四级双稳低电位的反馈,迫使它不能翻转,而第四级双稳由于受到第二级双稳的触发而翻转,同时又向第二级双稳反馈一正脉冲,迫使第二级双稳返回到前一状态。因此四级双稳态的状态由“0011”跳跃到了“1010”(见表1),一下跳过了六个状态,这样就可以使在第十个脉冲到来时,电路回复到“0000”状态,并输出一个进位脉冲至下一级计数电路。


计时电路和译码显示电路
对秒信号进行计数,并把累计结果显示出来,就可以得到秒、分、小时数。秒和分的计时电路各用一级十分频、一级六分频电路组成,小时的计时电路用一级十分频、一级四分频和一个复零电路组成,见图6。

六分频电路是由三级双稳态触发器构成,见图7。从图7可以看出,第二级双稳触发器受第三级双稳触发器的反馈触发,当输入第四个计数脉冲时。第二级应由“1”变为“0”态,第三级应由“0”变为“1”态(见表2),但由于反馈电容的作用,第三级反馈一个正脉冲使第二级又“返回”前一状态,这样就可以使当输入第六个计数脉冲时,三级双稳触发器都翻转为“000”,完成逢六进一的作用。


小时的计时电路用了一级十分频、一级四分频电路,它最多可以计数到40,但我们只需要计数到24小时,所以加了一个复零电路,当计数到24时,复零电路被启动,产生一个复零脉冲,使所有计数器都复零。于是计数电路又从00时00分00秒重新开始计数。复零电路见图8。它由与非电路、单稳态触发器和微分放大器组成。当小时位计数至24时,小时位显示器的十位数字管阴极“2”(S\(_{Ⅵ2}\))和个位数字管阴极“4”(SⅤ4)发光,与非电路的两个输入端S\(_{Ⅵ2}\)和SⅤ4都为“1”态,所以与非电路的输出为“0”态,这个正的电压阶跃触发单稳态触发器翻转。BG\(_{3}\)输出一个正的矩形脉冲,通过0.lμ电容11K电阻组成的微分电路,由二极管D4取出正向尖脉冲。再经BG\(_{4}\)、BG5放大后输出到复零线上,使各级计数器都复零。由于这个过程是很快的,实际上不可能看到时位显示器的个位数字管“4”辉光,全部显示器都已复零了。把开关K\(_{4}\)扳向“人工”位置,并按下按钮N4,也可以触发单稳态触发器翻转,实现人工复零。

秒、分、时各位计数器都可以进行人工调整。把K\(_{1}\)、K2、K\(_{3}\)扳向“调整”位置,并按下相应的按钮,半秒脉冲就可以进入相应的计数器。调整到所需要的数字后,把开关再扳回“计时”位置,就可继续正常计数。
译码、显示电路是把计数器各级双稳态的不同状态组合进行译码,并控制辉光数字管相应的阴极辉光显示出数字,这样“小时”“分”“秒”都可以直接从数字管上读出来了。译码采用电阻——二极管电路,显示用SZ-1型数字管。
半分脉冲输出电路和子钟

半分脉冲输出电路原理见图9。采用两个与非电路YF\(_{1}\)、YF2,一个在每分钟第00秒动作,另一个在每分钟第30秒动作。

与非门YF\(_{1}\)的两个输入端分别接秒位显示器的SⅡ0和S\(_{Ⅰ}\)0端。每当计数到00秒时,这两个输入端都为“1”态,则YF1输出为“0”态。由图10可看出,YF\(_{1}\)输出一个宽度为“1秒”的正脉冲。与非门YF2的两个输入端分别接秒位显示器的S\(_{Ⅱ3}\)和SⅠ0端,每当计时到30秒时,YF\(_{2}\)输出一个宽度为1秒的正脉冲,这两个脉冲分别经非门F3、F\(_{4}\)和F5、F\(_{6}\)放大,推动两个继电器交替动作。当J00吸动时,外线a端为-24伏、b端为地,当J\(_{3}\)0吸动时,外线上极性相反,a端为地、b端为-24伏,这样,接在外线上的子钟就可以得到幅度为24伏、宽度为1秒、极性逐次更替的半分脉冲。

分散安装在各处的子钟,都受母钟输出的半分脉冲来驱动。子钟的构造如图11,它的工作原理类似一个极化继电器,两个带铁心的线圈固定在一个永久磁铁上,当有一个24伏脉冲输入时,由于两个线圈绕线方向相反,所以电流所产生的磁通的方向在其中一个铁心上和永久磁铁的磁通相同,在另一个铁心上则相反,也就是说磁通在一边被加强,而在另一边则被削弱,这时衔铁因两端受力不平衡而倒向一边,推动爪随之摆动,并推动齿轮转动一个角度,半分钟后下一个脉冲到来,脉冲的极性改变了,所以衔铁被吸动倒向另一边,又推动齿轮转动一个角度,这样循环动作,带动分针每小时转一周,再通过齿轮变换带动时针转动。子钟也可以做成数字式电子钟用秒脉冲或分脉冲来驱动。
当开关K\(_{5}\)扳向“调整”位置时。F8和F\(_{5}\)直接接到F1和F\(_{2}\),引入两个相位相反、周期为2秒的脉冲。继电器J00和J\(_{3}\)0就以两秒钟为周期交替动作,把子钟指针很快调整到所需要的位置。
我们可以看到,从母钟的秒、分、小时各位计数器,不仅可以直接引出秒、十秒、分、十分、小时等时间脉冲,还可采取上述形成半分脉冲的方法,取得任意间隔的时间脉冲,供各种自动控制设备使用。
母钟驱动子钟可以分为若干路,所以继电器驱动电路可以有若干组互相并联。每路都有一个监视子钟。由于外接子钟都是感性负载,为了保护继电器接点,外线端加有电阻、电容消火花电路。

当外线发生短路故障时,熔断告警电路(图12)起告警和保护的作用。当熔丝正常时,BG\(_{1}\)导通、BG2截止,分路告警灯不亮。如果熔丝熔断,-24伏断开,BG\(_{1}\)截止、BG2导通,公路告警灯亮。警铃电路是一个或非电路,只要任一路输入为“1”态,BG\(_{3}\)就导通,告警铃响。
报时电路
母钟当计时到每一整小时,能发出象广播电台那样的报时信号,五响预时声和一响整时声,最后一响即为整点信号。报时电路见图13。

预时声电路的与非门YF3有4个输入端。当每一小时计时到59分50秒至59分59秒期间,S\(_{Ⅳ5}\)、SⅢ9、S\(_{Ⅱ5}\)三个输入端才都为“1”态,显然这时YF3的输出就只由F\(_{1}\)来的2秒脉冲来决定,见图14,所以当计时到第59分50秒时,YF3开始输出一串正脉冲,经反相器F\(_{7}\)控制一个800赫预时声振荡器,发出每秒一次、间隔为1秒的五响预时声。

当计时到00分00秒时,与非电路YF\(_{4}\)的四个输入端都为“1”态,YF4输出一个正脉冲,经F\(_{8}\)反相,控制整时声电路产生一响整时振荡,频率为1000赫。
电源
为保证不间断的工作,母钟电源由两部分组成,一部分是从220伏交流市电经变压器、整流电路、滤波电路或稳压电路得到稳压的-12伏,+6伏,-24伏和不稳压的+130伏,-60伏五种电压。另一部分是由-24伏蓄电池用直流变换器供电。两部分电路用继电器自动倒换。
通过实际使用,我们认为晶体管数字式母钟还可以作以下改进:1.改用硅管,2.增加相位校正电路改善误差校正的方法,3.采用自动定时显示,延长数字管使用期限,4.半分脉冲输出电路用晶体管代替继电器,实现全晶体管化。(长治)