MF—15型袖珍万用电表测量直流电压有五档,即10伏、50伏、250伏、500伏、1000伏,在一般的无线电修理工作中,测量1000伏直流电压的机会不多,而测量2.5伏以下的直流低压的机会确很多,如测量晶体管的发射极电压、基极电压等。若用10伏档测量,由于指针偏转太小,不能准确地测出电压值。这里我们介绍一个把1000伏档改为2.5伏档的小经验。
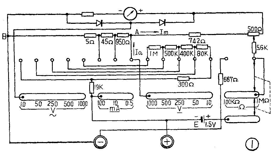
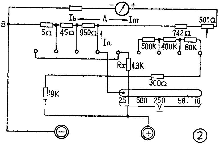
图1是MF-15型万用表的电路图。改装时,可以把原来测量1000伏档的1兆欧电阻去掉,另外按图2的方法接上一个4.3千欧的电阻R\(_{x}\)即可。Rx的阻值可以按以下的方法计算出。

表头刻度盘上标有2000Ω/V,表示每伏电阻为2000欧。现以10伏档为例来说明如何求得R\(_{x}\)的阻值。在图1中,我们取A、B两点,假设这两点间的电阻为Rab。当转换开关置于10伏档时,电表的内阻应为2000Ω/V×10V=20000欧,从电路图1中可以得出等式20000Ω=19000Ω+300Ω+R\(_{ab}\),因此Rab=20000-(19000+300)=700欧。求出R\(_{ab}\)后,再从图2求Rx。当转换开关置于2.5伏档时,电表内阻应为2.5×2000=5000欧,即R\(_{x}\)+Rab=5000欧。所以R\(_{x}\)=5000-700=4300欧=4.3千欧。用其它电压档求得的Rx也是一样的。

2.5伏档的读数可以看250伏直流电压档的刻度线,然后折算。这样改装后,交流1000伏档也相应地改为2.5伏交流档,而测量交、直流电压其余各档及测量直流电流、电阻各档都不受任何影响。(陈益伦)