三、变频原理
从上期图2电路可以看出,由磁性天线接收到的广播信号e\(_{S}\)经输入线圈B1耦合到基极线圈,加到变频管的输入端(一端直接接基极,另一端经C\(_{5}\)2的抽头2接地加到发射极e上去);本振信号e\(_{B}\)由耦合电容C5加到基极,另一端通地与e相接。我们可将信号电压e\(_{S}\)和本振电压eB同时加到基极的情况,画成如图5的简化等效电路,输出端接的是中频回路。

实践证明,当两个不同频率f\(_{S}\)、fB的信号e\(_{S}\)、eB同时加到混频管输入端e~b时,由于晶体三极管的非线性作用,在输出端e~c间,除了会产生这两个信号的基波成分f\(_{S}\)、fB外,还会产生很多新的频率成分,如和频(f\(_{B}\)+fS)、差频(f\(_{B}\)-fS)以及各种谐波成分。这个过程我们叫它“混频”。由于接在变频电路输出端的中频变压器回路是调谐在f\(_{B}\)~fS上的,所以只有差频成分得以通过,而其他频率的成分则统统被这一回路滤除。在超外差式收音机中,总是使本振频率f\(_{B}\)比信号频率fS高一中频465千赫,即差频f\(_{B}\)-fS=465千赫,而将中频变压器BZ\(_{1}\)与C7组成的并联谐振回路调谐在465千赫上,所以混频的结果,只有465千赫的中频才能通过BZ\(_{1}\)耦合到下一级中频放大器去。例如,当输入回路调谐在640千赫(fS)时,本机振荡回路就调谐在640+465=1105千赫(f\(_{B}\)),混频以后就能差出465千赫,送到中放去,这样就能收到640千赫的电台信号。
四、常用变频电路
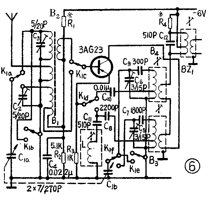
图6是一种常用中、短波超外差收音机的变频电路。图中,与天线相连的线圈是天线耦合线圈;B\(_{1}\)是短波输入线圈;B2是中波输入线圈;B\(_{3}\)是短波振荡线圈;B4是中波振荡线圈;L是短波提升线圈。收音机工作在中波段或短波段是用波段开关K\(_{1}\)来控制的。K1有K\(_{1a}\)…K1f六把连动的主刀片,六组双接点,相当于六把连动的单刀双掷开关。图中K\(_{1}\)是在接收中波的位置。收短波时六把刀一起转换到另一组接点上。

由于接有旁路电容C\(_{4}\),相当于基极交流接地,故属于共基电路。广播信号电压eS是由基极加入的,本振信号电压e\(_{B}\)则是经C10(或C\(_{8}\))由发射极加入的,故可画成如图7的等效电路。这种电路叫做“共基调发”电路。下面来谈它的特点。

1.避免吸收现象:图6中,当K\(_{1}\)接到短波时,中波输入线圈B2的初级是通过开关接地刀K\(_{1b}\)接地而短路的,这是为了避免吸收现象。因为收短波时,若中波输入线圈B2处于开路状态,虽然调谐电容C\(_{1a}\)已接到短波输入回路中,但杂散电容仍存在,当杂散电容与B2线圈两者的谐振频率正好落到短波频率覆盖范围内某一点时,就会吸收短波段那一频率点上的电磁波能量,使该点的灵敏度大大降低。同样,中波振荡回路也通过开关K\(_{1}\)的又一个接地刀K1e接地短路,否则也会对短波振荡产生吸收现象,使短波振荡在那一频率点上幅度大大降低,严重影响变频增益。
2.短波提升器的作用:当K\(_{1}\)接到短波位置时,接发射极的K1d刀在将短波振荡回路接入的同时,也将C\(_{11}\)和线圈L组成的短波提升器接入。短波提升器实际上是一个LC串联谐振回路,谐振频率为中频465千赫。我们知道,串联谐振回路谐振于某一频率时,对该频率呈现的阻抗很小。由于发射极电阻R3上没有旁路电容器并联,R\(_{3}\)对直流和交流均有负反馈作用,但当它两端并联上C11L短波提升器后,负反馈成分中的中频分量就通过C\(_{11}\)L的很小的串联谐振阻抗短路到地,从而减小了中频负反馈,提高了混频增益,尤其在短波段的低端,其混频增益有时可提高4~5倍。
短波提升线圈L的电感可用f=1/2π\(\sqrt{LC}\)公式计算,如图6电路,C\(_{11}\)=510微微法,f=465千赫,可算出
L=\(\frac{1}{4π}\)\(^{2}\)f2C=25330;0.465\(^{2}\)×510=230微亨。
线圈L绕制要求自身电容越小越好,最好采用蜂房绕法,其Q值要求不高,Q≥20就行了。
中波段不需要加提升器,因为耦合电容一般都很大,对465千赫中频的容抗已很小,已经起到了比上述提升器还要好的效果。
3.谐波变频电路:图6的短波段采用了谐波变频。这是为了减少牵连和人体感应。它是利用本机振荡的二次谐波频率同外来信号频率之差等于465千赫中频来实现变频的。例如短波段的频率范围为4~12兆赫,则本振应为4.465~12.465兆赫。由于本振频率用的是二次谐波,所以本振的基波实际上只有2.2325~6.2325兆赫,比信号频率低多了,频率牵连现象、人体感应就大为改善,调整时就方便多了。但二次谐波的幅度比基波要小,变频增益能满足吗?可以满足的。因为对本振电压的幅度要求并不算大,只要适当加强基波振荡就行了。一些多波段的收音机,采用这种方法还可以减少一个短振线圈,使结构简化,例如用基波作短波Ⅰ的本振,用二次谐波作短波Ⅱ的本振,就可省掉短波Ⅱ的振荡线圈。
牵连现象是怎么回事?从图2可以看出,输入电路通过基极线圈实际上已直接成为本振负载的一部分,因而输入电路的参数变化,也会影响本振频率,使它也发生一些变化,好像本振频率被输入回路的频率所牵制一样。当输入信号频率与本振频率很接近时,这种频率变化使两者更为接近,且频率越高越严重。例如信号为12兆赫,本振就为12.465兆赫,两者就很接近,在调整收音机时,由于人体感应或其他因素影响,使本振回路的参数发生变化,本振频率很可能完全被信号频率牵连,本振信号变得与输入信号一样,从而破坏收音机正常工作,以致产生啸叫、自激。但中信号频率为535~1605千赫,本振频率为1000~2070千赫,两者相差很远,故牵连的可能性很小,所以共发调基的变频电路不宜用于短波段,几乎只用于单波段收音机中。
在共基调发变频电路中,输入信号与本振信号是分别从基极与发射极加入的,由于发射结的隔离作用,上述牵连现象就要小得多了,因而这种电路多被8管以上多波段收音机所采用,但它要求的本振电压幅度要大些,故本振耦合电容C\(_{1}\)0用得要大些。
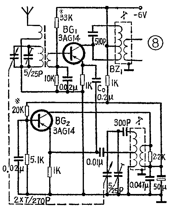
4.其他常用变频电路:图8是8管以上多波段收音机常用变频电路(图中仅画出中波段)。这里用两个管子分别作混频(BG\(_{1}\))和本振(BG2),通称为他激式变频器,前面只用一个管子的称自激式变频器。图8中混频电路和本振电路都属于共基调发电路。信号电压由基极线圈加到BG\(_{1}\)管的基极,本振电压经耦合电容C0加到BG\(_{1}\)管的发射极,故等效电路仍如图7,但由于有单独的本振,故调整方便,性能较好。

六、变频管的选用和电路调整
1.变频管的选择:收音机机内噪声的主要来源是本机振荡器,如果兼作混频和本振的变频管噪声较大,收音机喇叭里沙沙声就会很大。
其次,变频管的基区扩散电阻r\(_{bb}\)要小。rbb大了,输入信号和本振信号在r\(_{bb}\)上的损耗就要加大,混频效果就差。一般高频管的rbb较小,频率高于10兆赫的管子,r\(_{bb}\)小于150欧,高达几百兆赫的锗管,其rbb可降到十几欧,硅高频管可做到几欧;而低频小功率管的r\(_{bb}\)则大到几百欧。
变频管集电结电容C\(_{c}\)要小。通过Cc输出信号会反馈到输入端。低频时,容抗大反馈量小,C\(_{c}\)可不考虑;高频时,容抗小反馈量大,Cc的影响就不能忽略,这时会引起输入、输出信号电压的相位差不是180°,相位差的大小与频率有关。如C\(_{c}\)构成的内反馈是负反馈,则要降低混频增益,如是正反馈,则易造成工作的不稳定,结果都不好。频率高于20兆赫的管子,其Cc大致小于20微微法,高频硅管的C\(_{c}\)可做到几个微微法,甚至小于1微微法。
收音机用的高频管,由于工作频率还不算太高,故大多列出截止频率f\(_{α}\)或fβ。f\(_{α}\)和fβ高的管子,其r\(_{bb}\)和Cc也小。对截止频率的要求不同,共基电路比共射电路要求可低些。用于本振的管子要求高些,兼作混频和本振比单作混频的要求高。一般应保证截止频率f\(_{α}\)或fβ比工作频率高三倍以上,例如,截止频率为30兆赫的高频管3AG11单作本振时只能工作到10兆赫,如单作混频则用得可较高,可到20兆赫。
此外,管子的β要够高:变频管的β要求范围较宽,最好在50~150间选用;单作混频的管子β要求可稍低;本振管则应高些,否则不易起振。兼作混频和本振的变频管则要兼顾。
2.工作点的确定:单作本振的管子必须保证有足够的本振电压幅度,因为这影响混频增益,e\(_{B}\)大,混频增益高。但还要考虑本振的降压工作性能,即电池电压下降到标称值的3/4时,本振应能正常工作。从这两点考虑,本振管直流工作点要选高些,例如用6伏电池供电,如本振管集电极电流调到Ic2=0.8毫安,电池电压降到2伏时,本振才停振;而如I\(_{c2}\)=0.6毫安,则电池电压降到3伏本振就停振了。但本振管的工作点也不能调得过高,否则本机噪声将增大,且振荡波形也要失真,谐波成分增大,在喇叭中出现“咯、咯”叫声。另外,混频增益也并非随本振电压eB的增加而成线性增大,因为混频管总是工作在小电流、非线性状态,本振电压太大反而会引起混频增益下降。一般总把本振直流工作点调到:使本振电压经耦合电容送到混频管发射极时仍能保持e\(_{B}\)=100~200毫伏(发射极电阻两端测量),这样效果较好。图8电路中,BG2管的I\(_{c2}\)=0.4~0.8毫安比较合适。
对于兼作本振和混频的管子,要兼顾本振和混频两方面要求,调整要困难些。尤其是多波段变频电路,还要考虑中、短波的不同需要。因为在中波段,集电极电流调到0.3~0.5毫安,本振电压就可达到150~250毫伏,但这样的直流工作点对短波振荡工作还是不稳定的,还必须适当提高集电极电流,例如图6中变频管要调到I\(_{c2}\)=0.5~0.7毫安才合适,但这样满足了短波振荡需要,中波振荡就嫌强了,引起啸叫无法工作。怎么办?通常可在中波振荡线圈的次级并联上一个适当的电阻(如图8本振线圈次级并联有2.2千欧电阻),以降低振荡回路的谐振阻抗,减弱振荡强度。阻值越小,作用越显著,但阻值不宜太小,否则会使中波灵敏度下降。(金国钧)