我厂冲压件数量很大,冲床较多。为保证生产安全,我们自制了一种具有五路光线的光电自动保护装置。它由光源、探头、光电放大器、中间继电器等部分组成,在光电放大器部分,采用了简单的或门电路。光源固定于冲床一侧,探头固定于冲床的另一侧。调整光源和探头的聚光镜位置,使五条光线对准聚焦于五只光敏二极管上。这时,冲床正常工作。当操作者取放工件或不留心将手伸于冲头下面,手指头将光线挡住。只要有一只光敏二极管不受光,灵敏继电器即吸合,中间继电器释放,切断了冲床电源,保证安全生产。
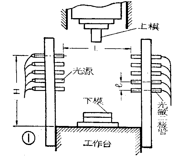
图1为冲床光电自动保护装置的光源、探头安装示意图。聚光镜与光敏二极管间的距离L依冲床工作台面大小而定,高度H按冲床行程来调整。各路光线间距l可按需要而改变,最小距离为15毫米。光源及探头安装在下模前方两侧,以冲头落下时不挡住光线为准。此种保护装置也可应用于剪板机、裁纸机以及其它需要多路保护的场合。

图2为冲床光电自动保护装置电原理图。以第一个放大器为例说明其工作原理:光敏二极管D\(_{1}\)同R1一起构成BG\(_{1}\)上偏流电阻。当光线照射于D1上时,它的阻值很小,BG\(_{1}\)基极电流Ib很大,管子饱和导通。集电极输出低电位,BG\(_{6}\)处于反向偏置而截止,继电器J1处于释放状态,中间继电器J\(_{2}\)接点闭合,冲床正常工作。当光线被挡住时,D1的阻值很大,BG\(_{1}\)因Ib极小而近于截止,集电极输出高电位,经电阻R\(_{4}\)加于BG6基极上,BG\(_{6}\)饱和导通,继电器J1吸合,J\(_{2}\)动作,其常闭接点断开,冲床停止工作。电阻R1、R\(_{5}\)、R9、R\(_{13}\)、R17是保护光敏二极管的限流电阻。R\(_{4}\)、R8、R\(_{12}\)、R16、R\(_{2}\)0构成一个简单的或门电路,当D1至D\(_{6}\)中的任何一个或几个同时不被光线照射时,均能保证BG6饱和导通。R\(_{2}\)、R6、R\(_{1}\)0、R14、R\(_{18}\)主要用于调节电路光照灵敏度。为了使BG1~BG\(_{5}\)导通时BG6更可靠地截止,在BG\(_{6}\)发射极串入两只硅二极管,R21为二极管提供了一条直流通路,从而使BG\(_{6}\)发射极到地始终有1.4V左右的压降。若BG1~BG\(_{5}\)导通时,Uc1~5≈0.1V,则此时BG\(_{6}\)基射极间处于反向偏置,保证了BG6可靠地截止。(邯郸市无线电厂)
