在多波段超外差式收音机、电视机及万用表等仪器中,都需要用多档多接点的开关换接电路。这种开关叫做波段开关。例如,在收听中波段广播时,我们要用波段开关把收音机中工作在中波段的输入回路、振荡回路及其他需要换接的电路同时接通;在收听短波段广播时,也要用波段开关进行相应的电路换接。
下面我们把收音机中常用的波段开关的种类、构造和使用作一简单介绍。
种类和构造
收音机中常用的波段开关,有旋转式、拨动式、按键式三种。每一种按规格还分为几“刀”几“掷”。有多少“刀”,波段开关就可以同时接通电路中多少点;有多少掷,波段开头就可以换接电路几次。
一、旋转式波段开关:它的结构由开关片、跳步定位机构、轴、轴套以及各种装配件、固定件组成,外形及电路符号见图1。

旋转式波段开关的开关片上接点的数目和位置,决定了波段开关的规格和用途。图2(a)是共三刀三掷开关的开关片结构图(图下方的箭头,表示主轴按逆时针方向旋转)。开关片由绝缘材料制成,中间的圆形绝缘片上铆有三个金属片,中心穿孔,并与主轴套在一起,能随主轴转动,这叫“动片”;装在动片外面并铆上十二个接点焊片的绝缘片是定片。在十二个接点焊片中,有三个接点焊片I、Ⅱ、Ⅲ始终和对应的动片连接,叫作“刀”;每个刀逆的针转动时可分别与三个接点连接,即每个刀有三个位置,称为三“掷”(三位)。如果把波段开关上的接点分组编号,如图2(b)所示,整个开关分成三组,每个刀逆时针旋转时可分别与1、2或3接点连接,在接线时就很方便了。

波段开关的“刀”一般用字母“D”表示,“掷”用“W”表示。图3示出了四种规格的开关片结构图,其中(a)是一刀十一掷(b)是二刀五掷,(C)是三刀三掷,(d)是四刀二掷。

二、拨动式波段开关:收音机中常用的有六刀双掷、六刀三掷和双刀双掷等规格。图4是六刀双掷拨动式波段开关外形图。它共有十八个接点焊片,分成六组,每组三个接点。其中接点“2”始终与动片相连,是“刀”。当开关往上拨和往下拨时,接点连接情况分别如图5(a)、5(b)所示。


这种波段开关刀数多、体积小,可以直接装在印刷板上,适宜袖珍式收音机用。
三、按键式波段开关:图6是一种互锁式按键开关外形图。它由结构相同的五个开关K\(_{1}\)~K5组成。图7示出了其中一个开关K\(_{1}\)的结构。它有12个接点,分成四组,每组中间的焊片是“刀”。开关没有按下时,金属片把接点“1”和“2”连结;当开关按下时,“2”与“3”连接,并且内部“锁住”不再弹回原来位置,如再按下其它四个开关中的任何一个,K1才恢复原状。这种波段开关适宜在体积较大的多波段收音机中使用。


使用常识
波段开关各接点必须接触可靠,接触电阻要小。选用波段开关时,可以用万用表欧姆档量一下各“刀”与对应接点间的接触电阻,这时表针应指零;若表针晃动不停或阻值很大,说明接触不良。此外,要旋转一下主轴,看看是否灵活;听听跳步声,是否清脆。还要检查一下是否出现“刀”停在两个接点中间的现象。
把波段开关接入收音机电路时,首先要分清哪些是“刀”,哪些是“掷”,分组编号。在电路中要弄清哪些是中波段用的元件,哪些是短波段用的元件,然后按电路连接到波段开关上。为了避免接错,可用不同颜色的接线区别不同波段。
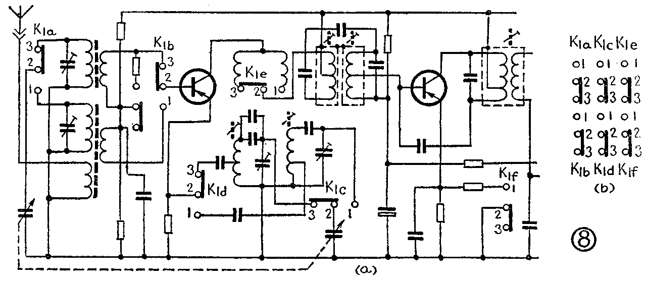
由上表可以看出,总的原则是用K\(_{1a}\)和K1b控制输入回路的换接,用K\(_{1c}\)、K1d和K\(_{1e}\)控制振荡回路的换接,用K1f控制第一中放级工作状态的换接;每一组接点中,接点“1”和电路中对应于短波殿的各点相接,接点“3”和对应于中波段的各点相接,以达到上下拨动开关时转换波段的目的。图8(b)是波段开关置于中波位置时接点的连接情况。
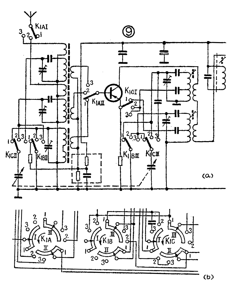
图9(a)是三波段收扩两用机的前级电路。波段的转换用了一个九刀三掷旋转式波段开关K\(_{1}\),见图9(b)。波段开关接在中波位置。(工人 林永恩)


