随着我国电子工业的迅速发展,晶体管脉冲逻辑线路得到了广泛的应用。这里向同志们介绍一个简便的脉冲逻辑测试笔。它可以指示出脉冲的有无和电平的高低。在检修工作中能帮助我们迅速的找到故障,是一个简单得力的工具。

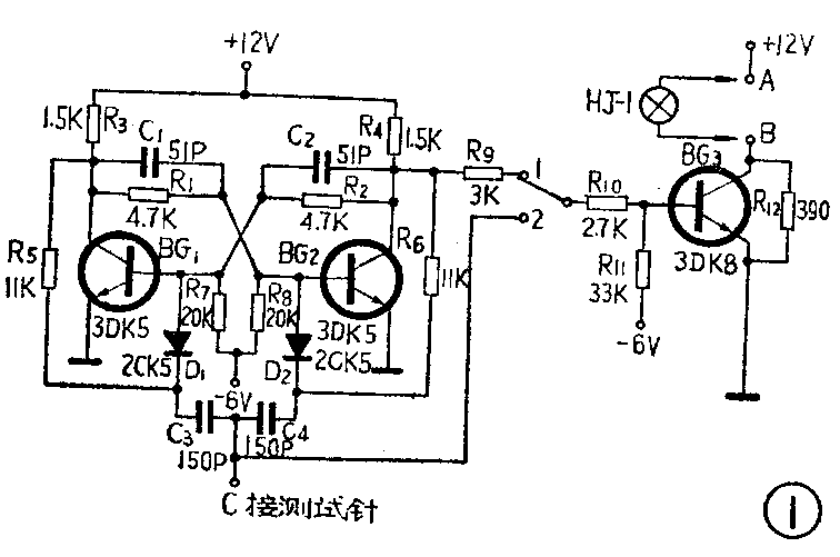
图1是它的线路图。由一个计数触发器和一个灯光显示放大器组成。计数触发器的工作原理请参阅本刊74年第5期“双稳态触发器”一文。此图是按测试0~+3V的脉冲逻辑线路设计的。由于各种设备所采用的逻辑电平不一定都是这样,所以同志们可以根据自己的具体情况,设计相应的触发器和灯光显示线路来组装。最好和要测试的设备中的线路一致,这样容易匹配,同时可以直接利用设备中的电源装成一块插件,插在备用插座内。
脉冲测试
将开关拨到“1”的位置,测试笔触针插到测试点上。如果有连续脉冲,则计数触发器不断被脉冲触发而连续翻转。接在触发器输出端的灯光显示放大器推动灯泡一亮一熄不停的闪动。如果所测试的脉冲频率较高,则看不出灯光闪动,但比正常的亮度要差一些。如果所测试的是单个脉冲,则脉冲一过灯由亮变熄,或是由熄变亮。
电平测试
将开关拨到“2”的位置。测试笔触针插到测试点上。高电平(即逻辑“1”)时灯亮,低电平(即逻辑“0”)时灯不亮。也可以再加一套灯光显示线路,在它的前边接一个反相器,并把这个灯泡涂成绿色。上述的那个灯泡涂成红色,这样就可以实现高电平时亮红灯,低电平时亮绿灯。
测笔制作

可用万用表的表笔,按图2的样子锉一个“凹”型槽,把灯泡镶在里边。外面用一段塑料套管套起来。也可以用透明圆珠笔杆,把灯泡装在里边,再作一个测针装在前头。
从测针引出一根导线,接在图1的C点。从灯泡上引出两根导线接在图1的A点和B点三根引出线用三色彩线编织起来,既柔软又好看。(夏云瑞)