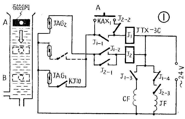
食油自动控量器系用一磁钢浮筒随液面升降,使盛油容器外壁固定在一定位置上的干簧管动作,达到控量目的。其工作原理如图1所示。当斤量开关KJ10选择好后,按下起动按钮A,电流通过继电器J\(_{1}\)和干簧管JAG1(这时JAG\(_{1}\)处于闭合状态)返回电源,电流形成回路,使继电器J1工作,J\(_{1}\)常开接点J1-1自锁,J\(_{1}\)-3闭合,出油阀线包CF吸动出油阀门打开,食油放出。这时磁钢浮筒也随液面而下降,从A点降至B点,这一段流出的食油,就是KJ10所选择的数量,当磁钢降到B点,JAG1由于受磁力作用而开路,电源被切断,J\(_{1}\)失电,各接点恢复静止状态,出油阀门关闭。

在J\(_{1}\)吸动的同时,J1-2闭合,继电器J\(_{2}\)动作,J2-1自锁,由于常闭接点J\(_{1-4}\)在J1动作时释放,所以出油时进油阀不能工作。当食油放到B点时,JAG\(_{1}\)开路,J1失电,这时电流一路经过继电器J\(_{2}\)、J2-1、干簧管JAG\(_{2}\)返回电源,另一路经过J1-4、J\(_{2}\)-3回到电源,因而使进油阀线包JF吸动,进油阀门打开,食油加入。磁钢浮筒也随着油面相应地上升,当油加至A点时,JAG2由于受磁力作用而开路,使J\(_{2}\)失电,进油阀门关闭,加油停止,整个机器又恢复到原来的状态。
用干簧管控制液位,线路简单,容易安装,容易检修,容易调整,稳定性较好,电路不会受光线、温度、液体挥发等外界影响。由于干簧管是磁力换能器,它与液体导电性能的强弱无关,因此使用于不导电的油类或其他含酸、含碱的液体商品自动控量技术上是比较理想的。
机械结构和制作
JAG—食油自动控量器的机械结构见图2。计量瓶用玻璃(或其它不受油类腐蚀和不易变形的不导磁材料)圆筒加工封底做成,图2画出的约可盛1~1.5公斤食油。磁钢用401喇叭磁钢,φ58毫米,厚13毫米。浮筒用1毫米厚的有机玻璃卷成直径60毫米、高75毫米的圆筒,将磁钢放入,上下密封好,以防液料渗入。

进出料电磁阀的结构见图3。阀体采用内径φ16毫米、外径φ20毫米,长100毫米的较能耐热的尼龙管一段。阀心由一粒φ13毫米钢球和一段φ12毫米、长40毫米的钢圆柱组成。阀嘴采用内径φ10毫米,长60~70毫米的不锈钢管(不导磁的镍不锈钢)。与阀体连接的管口平面,应加工成凹形圆弧,并用细研磨砂精心研磨,使阀嘴与阀心的接触面密合度良好以防漏液。出料嘴口最好加工成圆锥形。电磁线圈系用24~26号漆包线绕800~1000圈,线圈高度约为40毫米,绕好后套在阀体外面的上端2/3处,便于通流时将阀心迅速吸起。

斤量控制开关采用琴键开关KJ-10,它共有十档按钮,每一档控制一种斤量,因此在计量瓶的外壁上需固定十一只干簧管,十只控制斤量(即图1中的JAG\(_{1}\)),一只起限位作用(即图1中的JAG\(_{2}\))。
干簧管采用上海无线电八厂生产的JAG\(_{2}\)Z型,KAX1系无锁按钮,继电器用JTX-3C型。(上海南市区粮食局小东门粮管所)