在各种通信设备中,往往都有很多用以连接各个分盘及单元的导线,这些导线一般都扎成线把,然后焊到插接件上,我们称它为龙线。在龙线焊好后,需要按要求进行查对,检查是否有错焊、漏焊、假焊或短路的地方。我们制作了一台用晶体管开关电路组成的电子式自动对线器,用这台对线器查对,速度快而且准确,龙线有故障时能发出告警信号,并能把错线的号码显示出来。
工作原理
图1是自动对线器的方框图。它是由启动单稳、两个环行计数器、负与非门阵、脉冲发生器、射耦双稳、计数显示、告警和电源等部分组成。当开始工作时,按下启动微动开关,启动单稳送出脉冲信号给环行计数器(一)、(二)(以下简称“环一”、“环二”)和计数器,使“环一”和“环二”的“1”号端子有信号输出,如果这时被查对的第一根线是良好正确的,那么“环一”、“环二”的输出信号便能同时到达第1号负与非门YF\(_{1}\),使控制脉冲发生器输出的负与门Y1开启,脉冲发生器的输出信号经负与门Y\(_{1}\)到达射耦双稳,经整形后分别送到“环一”、“环二”和计数器,使“环一”、“环二”的输出由“1”号端子转换至“2”号端子,如果第二根被查对的线也是良好正确的,那么“环一”、“环二”的信号便能同时到达第2号负与非门YF2……依此类推。

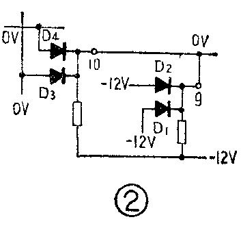
环行计数器的位数是根据导线的根数来确定的,我们用的是63进位环行计数器。环行计数器(二)的63个输出端分别直接接到对应的63个负与非门YF\(_{1}\)~YF63两个输入端中的一个,作为标准的正确信号,依次去开启63个负与非门。而“环一”的输出信号要经过被查对的龙线后才能到达负与非门YF\(_{1}\)~YF63的另外一个输入端。在“环一”和“环二”没有信号输出时,控制脉冲发生器输出的负与门Y\(_{1}\)关闭,使脉冲发生器的信号不能输出。如果被查对的所有的线都良好正确,那么启动后对线器便能自动不停地循环下去,直到把所有的线都查对完毕;如果被查对的龙线中有某一根线不通,例如焊到我们不需要的空头上去了,那么和这根线对应的负与非门就只有“环二”的信号而收不到“环一”的信号,因此三极管负与非门没有信号输出,控制脉冲发生器输出的负与门Y1重新关闭,循环停止,计数也同时停止。这时,根据计数器显示的数和事先编好的龙线表,马上就可找出这根线来。如果有某两根线互相颠倒了位置,因为“环一”、“环二”所送出的信号不是到同一个三极管与非门,所以两个与非门都不会有信号输出,循环也同样进行不下去;如果龙线中发生了不应有的短路,这相当于使接“环一”的三极管负与非门的输入端(图9YF\(_{1}\)-1)由原来受两个二极管控制增加为受四个二极管控制,而这四个二极管总有一个或两个没有输入信号,所以三极管负与非门收不到“环一”的信号,循环也就中止。我们以第9、第10根线为例来说明,如果这两根线短路了,那么“环一”的第9、第10两个输出端子相当于变成了一点,电路实际上成了图2所示的状态,当查到第9根线时,D1、D\(_{2}\)输入为-12伏,但是由于D3、D\(_{4}\)的输入均为0伏,输出也为0伏,使D1、D\(_{2}\)反偏截止,所以使“环一”第9号端子也没有信号输出,循环也就中止,计数显示部分并同时指示出第9根线有故障。


在电路正常工作时,“环一”、“环二”和计数器严格地保持同步。
下面把主要单元分别简单介绍一下。
环行计数器
环行计数器由两级(个位、十位)二—十进位双稳电路、电阻—三极管译码器和二极管负与门电路组成。它的主要任务是进行脉冲分配,即每输入一个脉冲,它的输出就相应转换一个端子。图3是电阻—三极管译码器和二极管负与门。二—十进位双稳电路可参阅本刊1973年第2期第3页中的电路。从图3可以看到:在置零时,只有“0”号端子的两个二极管输入都是-12伏,符合负与门的条件,输出也为-12伏。而其他负与门的两个输入端中,至少有一个输入为0伏,所以输出都是0伏。当由脉冲发生器经射耦双稳送入一个脉冲后,个位译码器的输出由“0”转换至“1”,这时只有“1”号端子的负与门符合条件,输出为-12伏。这样,每送入一个脉冲,环行计数器的输出信号就向前进一位,便能对所查对的导线逐根进行扫描。

“环一”和“环二”的电路完全相同。只有个别输出端子的用途略有不同,“环一”的“0”号端子接告警电路,“环二”的“0”号端子空开不接。“环二”的“64”号端子接延迟置零电路。电路中的二极管均为2AK2,电阻均为5.6千欧。
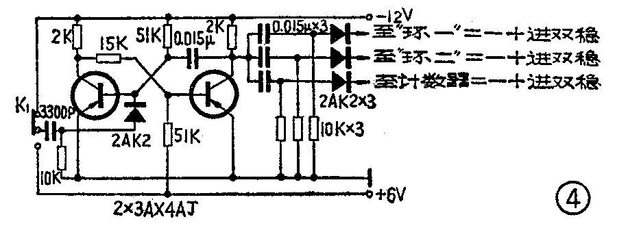
启动级
启动级电路如图4所示,它的作用是送出一个触发信号给“环一”、“环二”和计数器使它们开始工作。它是一个集—基耦合单稳态电路。将微动开关接点从-12伏转换到+6伏,经微分电路触发单稳翻转,利用原截止管集电极从-12伏至0伏的正跃变,经微分后分别送至“环一”、“环二”和计数器第一级原导通管的基极,使该级翻转。启动后,微动开关恢复原状,启动级停止工作。

延迟置零电路
延迟置零电路见图5。一根龙线查对完后,需要自动置零,因为环行计数器的输出只用到第63个,所以第64号端子的输出信号就可用作置零信号了。但是如果直接用这个信号去置零,由于自动对线器的工作速度很快,如果脉冲发生器的输出脉冲频率是10千赫,那么对完63根线的时间只需约1/150秒,以至使操作者分辨不出自动对线器是否循环了一次,因此需要延迟置零,即自动对线器对完一根龙线后,在最后一位数字上停留2秒钟左右,以便操作者观察。置零信号由“环二”送到BG\(_{1}\)基极,BG1由截止变为导通,其集电极的正跃变经微分后使BG\(_{2}\)、BG3组成的单稳翻转。由于BG\(_{3}\)是由导通变为截止,所以对BG4、BG\(_{5}\)没有影响。经过2秒钟左右,单稳恢复,BG3重新导通。这个正信号经电容C\(_{3}\)耦合至BG4,使它截止;BG\(_{5}\)导通,其输出由+6伏下降至-12伏。“环一”、“环二”和计数器被置零。当耦合电容C3放电完毕,BG\(_{4}\)又恢复导通,BG5截止,输出恢复为+6伏,使“环一”,“环二”和计数器恢复正常工作。

告警电路
当龙线出现故障时,对线器应能发出告警信号。我们使用了具有三个输入端的二极管正与门Y\(_{2}\)和一个三极管反相器作为告警单元,电路见图6。正与门的三个输入端分别接至“环一”的“0”号输出端、正或非门的输出端和延时置零单稳导通管(BG3)的集电极。在置零时,“环一”0号端子输出-12伏、正或非门和延时置零电路BG\(_{3}\)的集电极输出都是0伏,所以正与门Y2输出-12伏,反相器导通,继电器J动作,接点断开;启动后,“环一”0号端子和延迟置零电路BG\(_{3}\)集电极输出为0伏、正或非门输出为-12伏,告警电路的情况同上;当所有的线都对完时,“环一”64号端子送出-12伏至延时置零电路,使延时置零单稳翻转,BG3的集电极输出为-12伏,告警电路的正与门Y\(_{2}\)输出仍为-12伏,继电器接点仍断开。总之,在电路正常工作时,告警电路的三个输入端中,总有一个输入为-12伏。只有当龙线出现故障时,Y2三个输入端均为0伏,输出才为0伏,反相器截止,继电器J释放,其静接点接通告警灯和音响单元,发出告警信号。

其他
如果用电铃作为告警的音响部件,它所产生的火花会干扰计数器的正常工作,所以我们用的是以低频振荡器、低频放大器和扬声器组成的告警音响部件。
我们用的显示部件是投影显示器,供电电压是-24伏。如果采用其他数码管,电源部分应相应增加。
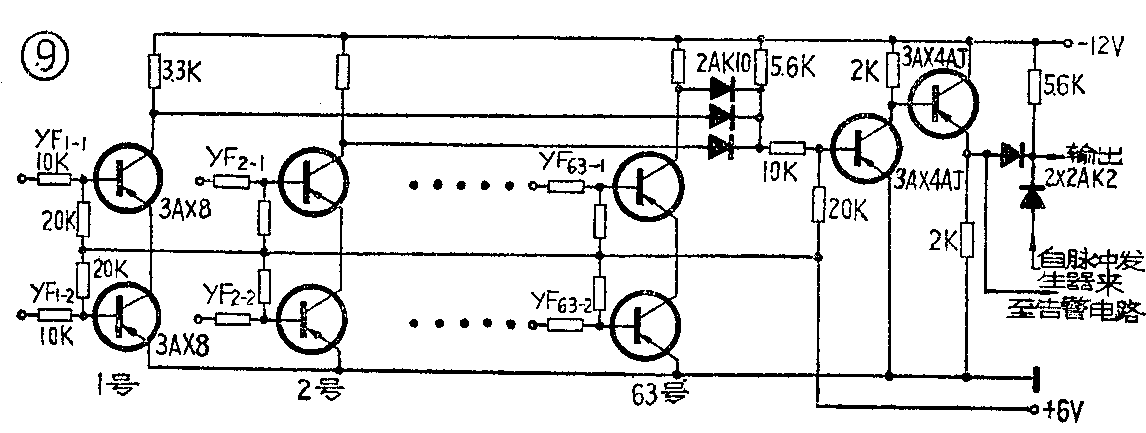
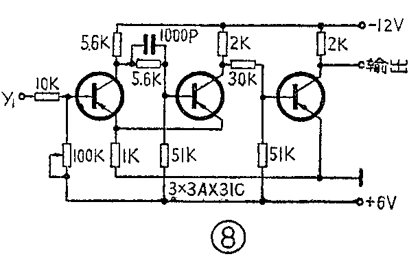
图7是脉冲发生器原理图,电容的数值根据测试速度而定,我们是工作时用快速(0.1μF),检修或调整时用慢速(20μF),用开关进行切换。图8是射耦双稳电路,它的主要作用是幅度鉴别和整形。图9是三极管负与非门阵(YF)、正或门(HF)、倒相和二极管负与门(Y\(_{1}\))电路。


元件在焊接前都应进行测试,以保证整机稳定可靠地工作。译码器用的晶体管β应在50左右,穿透电流要小,这是由于译码电路没有使用反向偏置的缘故,而其他有反向偏置的部分,如双稳电路、负与非门电路等对穿透电流的要求也就可以低一些。环行计数器的各个输出端,输出高电平应在0伏~0.5伏之间,低电平应在-10伏~-12伏之间,如果达不到上述要求,应更换该位数字的译码三极管。三极管负与门阵中的每一组在总装前都要检查是否有与门的作用,各个单元制作好后都应分别进行测试和调整。对所查对的龙线,要弄清来龙去脉,每一根线都要编上号码,自动对线器也要按这个编号接线。
对线器和被查龙线的连接如图10所示。被查对的龙线是已经焊好在插接件上的,对线器的有关端子也按顺序焊好在另一插接件上。使用时只要用一头是插头、一头是插座的过桥线把龙线和对线器连接起来即可。对于个别焊在接线柱上的线,可用夹子夹上。(工人 黄民安)
