为了合理地选择适用的整流、滤波电路,就有必要把几种常用的电路作一比较,然后根据半导体收音机的电源电压要求多高、需要多大电流,以及手头有什么样的现成元件等具体情况,来选择合用的电路。表1列出了几种最常用的整流电路(参考图1)的主要特性。


图2画出了三种常用的滤波电路,它们的特点是:

电容滤波电路——输出电压高,输出电流较小,滤波效果差,但制作简单,成本低。适用于负载电流较小、对纹波要求不严格的简易三、四管收音机中。
RC滤波电路——输出电压较低、输出电流小,滤波效果较好,制作也较简单,成本低。适用于负载电流不太大、纹波要求较小的五到八管机中。
LC滤波电路——输出电压高,输出电流较大,滤波效果好,但制作复杂,成本高。适用于负载电流较大、纹波要求小的小功率收、扩音机中。
整流电路的简易设计方法
整流电路的正规设计是很复杂的,这里不作介绍,下面仅通过几个实际例子来说明一些简单的估算设计方法。
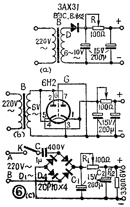
例1:一台七管半导体收音机,电源电压6伏,额定输出时,消耗电流是80毫安。如何设计合用的整流滤波电路?
从表1和上述滤波电路特点,我们可以选用桥式整流电路,RC滤波器,如图3所示。

1.电源变压器计算:电源变压器的设计方法请参看本刊1975年第一期《电源变压器的简易设计》一文。这里仅向大家介绍一些经验公式和数据。
首先根据输出电压的要求来估算变压器次级绕组的交流电压有效值E\(_{2}\)。从表1可知:
E\(_{2}\)=U2/1.2;
从图3可知,U\(_{2}\)=UR1+U\(_{sc}\),其中Usc即是整流电源的输出电压,6伏;U\(_{R1}\)为滤波电阻R1上的直流压降。从滤波的要求来看,我们应当选用尽可能大的电阻值R\(_{1}\),以改善滤波效果,但R1上的直流电压降会因此而增大,从而降低输出电压,两者是矛盾的,要兼顾两种需要。一般R\(_{1}\)上的直流压降可取1~6伏左右。这里我们取UR1=1伏,所以:
U\(_{2}\)=UR1+U\(_{sc}\)=1+6=7伏
E\(_{2}\)=U2/1.2=7/1.2≈6伏
若取U\(_{R1}\)=6伏,由类似的计算可知E2=10伏,所以,电源变压器次级绕组要求有6~10伏交流有效值,本例中取6伏。我们可选用一般初级220伏、次级6.3伏的灯丝变压器、电铃变压器、泄力变压器以及电压数据相近的其他变压器。如果没有现成的变压器,可以自行设计制作。在业余条件下,可根据现有铁心截面积S,按经验公式
N\(_{0}\)=(45~60)/S(厘米\(^{2}\))
估算出每伏的线圈匝数N\(_{0}\),式中分子项的数据由铁心质量决定,对于优质铁心可取45~50,对于一般比较差的铁心,取50~60。
例如,采用16~18毫米\(^{2}\)的普通硅钢片铁心,每伏的线圈匝数应为:
N\(_{0}\)=(45~60)/1.6×l.8=15~20匝
取15匝。初级绕组E\(_{1}\)=220伏,所以应绕匝数为
N\(_{1}\)=N0E\(_{1}\)=15×220=3300匝
次级绕组E\(_{2}\)=6伏
N\(_{2}\)=N0E\(_{2}\)=15×6=90匝
考虑到流过次级绕组的电流较大,导线电阻有一定的压降,所以,次级绕组的实际匝数应比计算值增加5~10%,这里取N\(_{2}\)=95匝。
导线的线径通常是查导线规格表,由流过绕组的电流来决定。对于小功率变压器,导线容许通过的电流密度可按2.5~3安培/平方毫米考虑。具体的计算方法这里就不介绍了,业余条件下,可以按照下述的经验数据来选择导线的线径:
一般半导体收音机用的电源变压器,功率都很小,在几瓦范围内,因此,初级绕组的线径可选φ0.10~φ0.12毫米;次级绕组的线径对四管以下简易收音机可选φ0.16毫米,五~八管收音机选φ0.20~φ0.25毫米,台式机选用φ0.25~φ0.35毫米,小功率收、扩两用机选φ0.35~φ0.50毫米。
本例中,初级绕组用φ0.10毫米漆包线,次级绕组用φ0.21毫米漆包线绕制。层间用电容器纸绝缘,如手头没有电容器纸,也可用普通的打字纸。初、次级间最好有静电屏蔽,方法是用φ0.16~φ0.20毫米漆包线绕一层,引出一个端头,以后与整流电路输出端的公共接地点相接。中间绝缘层用1~2层黄蜡绸,也可用3~4层牛皮纸。
变压器的铁心还可以用电子管6P1、6P6P等的输出变压器铁心,应注意原来输出变压器的铁心是单面插的,现在要改为交叉插。
2.整流元件的选用:
从表1可知,流过二极管的电流为负载电流的一半,即I\(_{D}\)=Isc/2。负载电流I\(_{sc}\)除了包括收音机所需的电流Ic=80毫安外,还有流过稳定电阻R\(_{2}\)上的电流IR2=U\(_{sc}\)/R2=6/300=20毫安,所以I\(_{sc}\)=Ic+I\(_{R2}\)=80+20=100毫安。因此
I\(_{D}\)=Isc/2=100/2=50毫安
二极管承受的最大反向电压为:
U\(_{Df}\)=\(\sqrt{2}\)E2=1.41×6=8.5伏
根据这两个数据来选择整流元件,可采用二极管2CP41(最高反向电压为50伏,整流电流为100毫安)。其他二极管如2CP1~2CP8、2CP10~2CP28、2CP42~2CP50等均可使用,也可用三极管的一个PN结,如3AX21~3AX25、3AX31、3AX41、3AX61~3AX63、3AX81、3DG7、3DG12以及其他各型大中功率管的c、b两极或b、e两极,只要耐压和电流符合要求即可使用。
整流元件也可用硒片,每片硒片的耐压为18伏左右,面积23×23毫米\(^{2}\)的硒片可流过150毫安电流,40×40毫米2的可流过600毫安。有框毛面是负极,无框光面是正极,其外形和连接方法见图4。

3.滤波电路的计算:电阻R\(_{1}\)和电容C1、C\(_{2}\)组成π型RC滤波电路。电容C1、C\(_{2}\)的数值尽可能大一些,一般输出电流50毫安以下时可取200微法,50~100毫安时取200~500微法,100~500毫安时取500微法,0.5~1安培时取1000微法。这里取C1=C\(_{2}\)=500微法,耐压应大于输出电压的二倍,取15伏。电阻R1的数值要统筹考虑。一般取
R\(_{1}\)》1/2ωC2,ω=2πf=2×3.14f
对于市电,f=50赫,电容C\(_{2}\)取500微法,所以
1/2ωC\(_{2}\)=1/(4π×50×500×10-6)≈3.2欧
R\(_{1}\)的阻值应大于3.2欧,考虑到R1上的压降为1伏,所以
R\(_{1}\)=UR1/I\(_{SC}\)=1伏/100毫安=10欧,
取R\(_{1}\)=10欧。
输出端的电阻R\(_{2}\)有稳定电压的作用。 R2的接入,减小了负载变化对整流电源输出电压的影响。R\(_{2}\)越小,稳定作用越好,但太小了会加重整流器的负担,一般选择R2阻值在200~500欧左右。R\(_{2}\)的功率很小,取1/4瓦就可以了。
如果电源变压器是现成的,可以用下述方法来设计整流电路。比如有一只变压器,它的次级绕组的交流电压有效值是8伏。这时只须改变R\(_{1}\)的阻值大小,即可调节输出电压到6伏,即加大R1的阻值,使一部分直流电压降在R\(_{1}\)上。如图5,

U\(_{2}\)=1.2E2=1.2×8=9.6伏,
则 U\(_{R1}\)=U2—U\(_{SC}\)=9.6-6=3.6伏,
所以 R\(_{1}\)=UR1/I\(_{sc}\)=3.6/80×10\(^{-}\)3=45欧。
在实际调整时,可以用一只100欧或数百欧的电位器代替固定电阻R\(_{1}\),在整流器输出端接一个假负载R'fz代替真实的负载(收音机),R'\(_{fz}\)的阻值根据收音机的电压和额定输出时所需的电流来决定,这里U=6伏,I=80毫安,所以
R'\(_{fz}\)=U/I=6/80×10\(^{-3}\)=75欧,
在输出端接上75欧姆的假负载,调整电位器的阻值,使输出电压在6伏左右即可。
如果使用没有静电屏蔽的变压器,会使收音机出现调制交流声,即在收到电台时出现交流声,这时加强滤波也无济于事。遇到这种情况可按图5电路中的方法增加一个0.001~0.047微法电容器C\(_{3}\),这相当于加了静电屏蔽。
最后,请注意图3电路中,滤波电阻R\(_{1}\)接在输出的正端,图5中R1接在负端,这两种接法没有本质的不同,效果是一样的。
例2:一台简易四管收音机,末级是甲类放大,电源电压6伏,额定输出时,电流为30毫安。试设计一个整流滤波电路。
对于这种收音机输出功率不大,负载电流较小,功放级是甲类放大,负载变化也不大,可选用最简单的半波整流、电容滤波或RC滤波电路,如图6(a)。

1.电源变压器:可采用6~10伏输出的各种现成的变压器,如初级220伏、次级6.3伏的灯丝变压器、电铃变压器、泄力变压器等,也可以按第一个例子中的估算方法自行设计、制作。这里是采用2.2厘米\(^{2}\)的硅钢片铁心,每伏匝数为N\(_{0}\)=45/2.2≈20匝,初级绕组用φ0.10漆包线绕4400匝,次级绕组用φ0.16毫米漆包线绕120~200匝。
2.整流二极管选用:按整流二极管所承受的最高电压U\(_{Df}\)和流过的电流ID选择。已知E\(_{2}\)=6~10伏,取10伏计算,从表1可知:
U\(_{Df}\)=2\(\sqrt{2}\)E2=2×1.41×10=28伏
I\(_{D}\)=ISC=30毫安
从手册查出,下列二极管符合上述要求:2CP1~2CP8、2CPll~2CP28、2CP31A~2CP31I、2CP32A~2CP32I、2CP33A~2CP33I、2CP35、2CP41~2CP50、2CP51~2CP60等。也可以用符合上述电压、电流的三极管的PN结,如例1所列举的三极管的b、c极或b、e极。图6(a)是用三极管3AX31B的c、b两极作二极管用。
3.滤波电路:采用RC滤波电路比较灵活些。对于6~10伏的变压器,可以调节电阻R(用一只100欧或数百欧的电位器)使整流电源的输出保证在6伏左右。对于电流小于50毫安的电路,电容可取200微法左右。电容器的耐压应该大于输出电压的两倍值,这里选用耐压15伏的。
电源的调整方法同例1,不再重复。
如果有现成的电子管6H2,也可以用作整流,如图6(b)。输出电流可达40毫安左右。
对于这种甲类功放的收音机,也可用无电源变压器整流电路,如图6(c)。它是利用电容的降压作用,电容的容抗为Z\(_{C}\)=1/2πfc,电容C上的压降UC= I\(_{C}\)·ZC=I\(_{C}\)/2πfc。选择一定容量的电容器,就可以使得220伏的交流电在电容上降掉一部分电压,从而得到我们所需要的低电压。
电容器C要选用优质的CZM型纸介密封电容或油浸电容。电容器的耐压必须大于电网电压的峰值,即220伏×1.41=310伏,一般常用400伏或600伏耐压的。
使用这种整流电源时,一定要注意安全,图6(c)中电源插头的A端必须接到火线上。可用试电笔先试出电源线那根是火线,并在插头插座上标上记号,以免插错,最好能使用三脚插头。这种整流电源最好装在木盒或塑料等绝缘材料做成的盒里,使我们不会触及电源的机件。也不要用耳机收听,以防万一电源漏电。
例3:一台输出功率为3瓦的高音质半导体扩音机,电源电压24伏,电流500毫安。试设计适用的整流电源。
这种扩音机要求整流电源提供较大的电流。而且纹波较小。从表1可知采用全波或桥式整流电路都可以。采用桥式整流电路比较方便。另外,对于这种负载电流较大、纹波小的情况应采用LC滤波,如图7。

1.电源变压器:可采用截面积大于4.9厘米\(^{2}\)的各种硅钢片铁心自制。一般三灯电子管收音机的电源变压器铁心就足够了。三灯变压器的铁心截面积是7.5厘米2左右,按例1中的方法可以估算出每伏匝数为8匝。初级220伏绕组用φ0.20毫米漆包线绕1660匝,次级30伏绕组用φ0.56漆包线绕260匝,指示灯6.3伏绕组用φ0.40漆包线绕55匝。
2.整流二极管:二极管承受的最高电压:
U\(_{Df}\)=\(\sqrt{2}\)E2=2×30=42伏
流过二极管的电流为:
I\(_{D}\)=ISC/2=50O/2=250毫安
下列二极管均可作为此电路的整流管用:2CP1~2CP8、2CP21~2CP28、2CP32A~2CP3I、2CP33A~2CP38I,以及其他符合要求的大、中功率三极管的PN结,如3AX61~3AX63、3AD1~3AD6、3ADll~3AD12、3ADl4~3AD15的c、b两极或e、b两极。
3.滤波电路:滤波电容C\(_{1}\)、C2容量尽可能大一些为好,一般在几十到几百微法之间即可,耐压要求为输出电压的二倍,即2×24=48伏,取50伏。
电感L(扼流圈)的电感量一般在几亨到几十亨范围内。可以用旧电子管6P1输出变压器改制,拆去原来的绕组,用φ0.35漆包线绕500~800匝。(唐远炎)