电视机行扫描部分的作用是产生供给行偏转线圈用的行偏转电流,以控制电子束进行水平扫描。同时显象管第二阳极所需的高压也由行扫描电路供给。在晶体管电视机中通常显象管的加速极,阴极等的直流工作电压也从行扫描电路取出。
电子管的行扫描电路一般由振荡级和输出级组成。而晶体管扫描电路,由于激励行输出级晶体管需要一定的功率,而且晶体管的输入阻抗较低,如果直接由振荡级输出来激励行输出管,会造成振荡级的负担太重而导致振荡频率、幅度等的不稳定。如果是自制电视机,由于所用晶体管一般较差及缺乏调试仪器,更易造成调整困难、行输出管易损坏等情况。因此,在晶体管行扫描电路中须加入一级激励放大级。
与场扫描电路一样,行扫描振荡级采用的电路也有两种:多谐振荡器和间歇振荡器。在电子管行扫描电路中,采用多谐振荡器,可以省去一个绕制要求较高的脉冲变压器。电子管行扫描振荡级,也有人采用使振荡管处于丙类工作状态带电抗管的LC振荡器(丙类工作状态指电子管的工作栅偏压大于它的截止偏压),这种振荡器的主要优点是:调整跨导较低,而同步“捕捉范围”和“保持范围”较大(与自动频率控制电路配合),因此行同步就不易因外来干扰信号、环境温度、电源电压变化而破坏。所谓调整跨导,就是指一定的电压加到振荡器输入端能引起振荡器频率变化的数值,常用赫/伏作单位。上述电路的调整跨导约在60~80赫伏。振荡器的调整跨导愈高,所需同步电压就愈小,同步灵敏度就愈高,但容易受干扰信号影响而破坏同步。因此一般总希望调整跨导低些,同步电压大些,这样同步就不易受干扰。
对于晶体管行扫描电路振荡级,由于行频较高,晶体管又容易受环境温度、电源电压的变化而引起频率漂移,若采用多谐振荡电路会因频率漂移影响振荡器的稳定工作。同时因多谐振荡器的输出功率一般较小,对激励级的要求较高,所以晶体管行振荡器现在普遍采用间歇振荡电路,这不仅能使装置及调整容易些,而且工作也稳定。
要求晶体管行激励级能保证输出足够大的激励功率,因此激励级的功率放大倍数需大些。同时,又因其工作在开关状态,所以及要求开关性能要好。激励级一般采用共发射极开关放大电路。
行输出电子管通常工作于丙类放大状态,这是因为电子管的内阻较大,若使它处于开关状态,则损耗很大,也得不到良好的扫描线性。晶体管由于内阻很小,可看作是良好的开关,因此为提高行输出级的效率,使晶体管行输出级工作于开关状态。由于电子管与晶体管行输出级工作状态不完全同,所以它们输入端所需的激励波形也不一样,阻尼管的作用也有区别,在晶体管电路中阻尼管从某种程度上说来只是辅助行输出管完成扫描正程前半部分的,而在电子管电路中则是必须的。
电子管行扫描输出变压器的作用很重要,它使偏转线圈与输出管能很好地匹配,使阻尼管正常工作,以提高效率,因此必须很好设计计算变压器变比等。而晶体管的行输出变压器主要用作升压,没有匹配问题,一般计算变压比只要考虑电压就可以了,因此比较简单。由于晶体管行输出电路工作于低电源电压、大电流、高频率,输出有特高电压,因此对晶体管的性能要求较高。如果手头晶体管性能较差(例如低频锗管),可采用并联(增大电流容量)、串联(增加耐压)的方法,以及选择f\(_{α}\)较高的晶体管,来满足上述工作状态的要求。如果能用硅大功率管作行输出管,在23厘米电视机中,完全可以采用简单的单管输出电路。
40厘米电视机行扫描电路
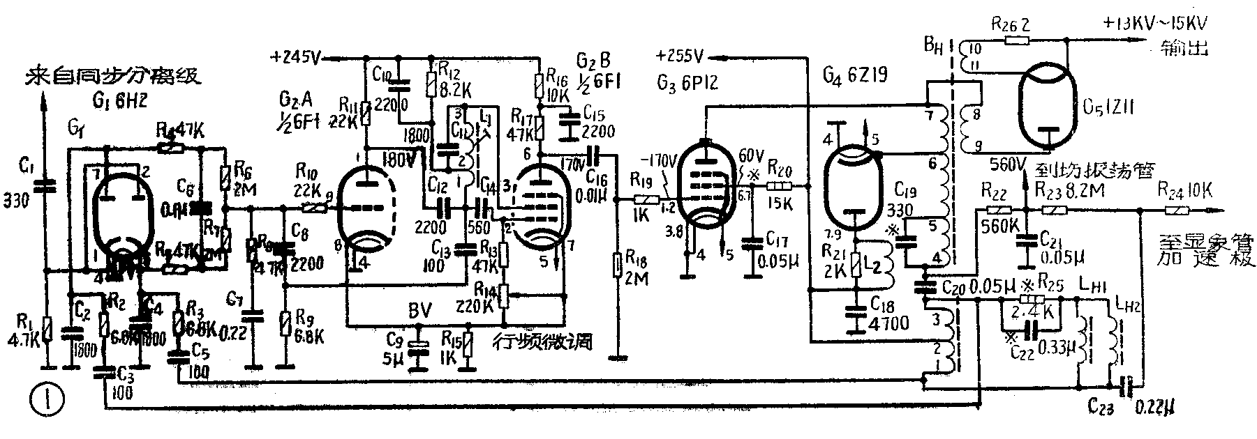
图1是40厘米(16寸)混合式电视机的行扫描电路。图中G\(_{1}\)管组成了自动频率控制电路(A、F、C电路)。行同步脉冲与行扫描脉冲同时加到自动频率控制电路中进行比较,产生大小与两者频率差和相位差成比例的校正电压,经滤波后加到行振荡级输入端,如果极性正确,就能在一定频率范围内控制振荡器频率严格跟随同步脉冲频率,由于自动频率控制电路中有时间常数很大的RC低通滤波器,故一般短暂干扰脉冲不能产生足以改变行振荡频率的校正电压,因此行同步就较直接微分电路稳定多了。



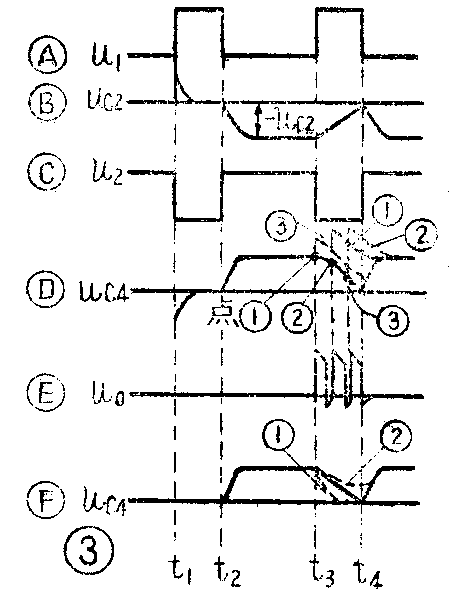
图1中的自动频率控制电路部分的工作原理可用图2、图3来说明。这是一个有附加偏压的二极管鉴相电路。当u\(_{0}\)与u1、u\(_{2}\)不同步时,C点电位将有变化,C点输出的就是校正电压,此电压通过R8、C\(_{7}\)的滤波后,就可去控制行振荡频率。自动频率控制电路的控制范围与R3、C\(_{4}\)的积分时间常数τ有很大关系,τ太小或太大将使C4的放电(反向充电)太快或太慢(分别如图3曲线①、②),造成校正电压变化的范围减小或幅度减小,这都将使电视机的同步保持及捕捉范围减小。因此R\(_{3}\)、C4、R\(_{2}\)、C2的时间常数应选择在不加同步信号时,使C\(_{2}\)、C4的放电结束时间正好处于u\(_{1}\)、u2的后沿,如图3中 、示。实际装置时,由于对称关系,C\(_{4}\),R3与R\(_{2}\)、C2要求同时改变。一般在1400~2000PF之间,改变C\(_{2}\)、C4之值,可得到最好效果。这个电路采用了使G\(_{1}\)、G2具有附加积分偏压的电路,同时比较脉冲电压是积分后输入的,故它的同步捕捉及保持范围较一般自动频率控制电路大。
电路中G\(_{1}\)(6H2)也可用晶体二极管,要求有高反向电阻(用万用表R×10K档测量电阻大于10M)、耐压大于100V、极间电容较小。这种晶体二极管可在2AP6、2AP7、2AK6等类型管子中挑选。
图1中,G\(_{2B}\)、L1、C\(_{11}\)、C14、R\(_{13}\)、R14等组成一电感三点式正弦振荡电路。该振荡器就是前面提到过的工作于丙类脉冲状态的振荡器。G\(_{2B}\)屏流呈脉冲波形。R16、C\(_{15}\)的作用是将脉冲的屏流积分,并与R17一起作用以供给G\(_{3}\)栅极所需的波形。振荡线圈L1与C\(_{11}\)组成LC谐振回路,调谐于行频。C10为高频旁路电容,R\(_{12}\)是帘栅极降压电阻。G14、R\(_{13}\)、R14是振荡管栅漏电阻、电容,由于改变振荡器的自给栅偏压可微调振荡频率,故用R\(_{14}\)来作行频调节。G2A、C\(_{13}\)、Rg等组成电抗管电路。G\(_{2A}\)的屏、阴极阻抗是电容性的,当改变G2A的栅极电压引起屏流变化而导致屏、阴极阻抗变化时,由于阻抗呈容性,所以通过C\(_{12}\)、G2A、G\(_{2B}\)的阴极耦合,使得L1G\(_{1l}\)谐振回路的频率改变,从而改变振荡频率。因此,在G2A的栅极上加上自动频率控制电路输出的校正电压,就能使振荡器振荡频率与输入同步脉冲频率保持一致。R\(_{1}\)0是防振电阻。C8、C\(_{12}\)的作用是提供高频通路。R11是G\(_{2A}\)屏极负载降压电阻,R15、C\(_{9}\)是G2A自给栅偏压元件,使G\(_{2A}\)工作于一定的栅负压下。
G\(_{2B}\)屏极输出的高脉冲近似梯形波(VPP=170~200V),经C\(_{16}\)耦合到G3的栅极,G\(_{3}\)工作于丙类放大状态。丙类工作状态所需要的很大的栅负压,由G3栅流流经R\(_{18}\)产生。又因为加到G3栅极的脉冲幅值很大,所以G\(_{3}\)的栅负压需要更大,一般用万用表测栅极对地电压可达-60V~-80V。由于输入激励脉冲电压呈近似梯形波故在G3导通期间,屏流逐渐线性增长,这样可改善因电子管内阻较大而得不到线性较好的扫描电流的缺点。R\(_{19}\)是防止行输出级产生寄生高频振荡用的电阻。R20是帘栅极降压电阻,改变它的大小,可适当改变行扫描幅度的大小。C\(_{17}\)是帘栅极旁路电容,使帘栅极对行频呈接地状态。G4是阻尼管,用来阻尼当G\(_{3}\)由导通转向截止时因BH电感与分布电容组成的谐振回路而产生的衰减振荡,同时构成负电流扫描(扫描正程前半部分)。
由于40厘米显象管的偏转功率比较大第二阳极高压也很高(13~15KV),故电路中除用6P12作行输出管外,行输出变压器B\(_{H}\)的磁心也要用高导磁率的。据试验一般要用MXO-1000、MXO-2000的U型磁心,不能用35厘米磁心(MXO-400),否则因为导磁率低,将导致行输出级效率下降,不能给出足够的偏转功率,造成高压低、幅度小的毛病。由于行输出级电流较大,故该部分工作时发热厉害,行频的辐射也很厉害。安装排列元、部件时应将行输出变压器及输出管尽量靠机壳外上方,同时远离图象通道及伴音通道元件,并且在靠向图象和伴音通道方向置一块1~2mm厚的金属屏蔽板,代替屏蔽罩,有利于散热。绕制BH的材料应能耐100℃以上的温度。高压包不能用石蜡浸渍,否则工作时将使蜡熔化,有些蜡的绝缘性能也不好。
R\(_{21}\)、L2用来抑制阻尼电路内可能产生的高频寄生振荡,C\(_{18}\)用来旁路强大的行频脉冲电流,防止通过电源干扰其它电路。装置C18时应近G\(_{4}\)接地。C19的接入可增加行回扫时间,适当降低高压而增大行幅度,调整C\(_{19}\)的大小可稍调行幅大小。 C20是升压电容,当阻尼管G\(_{4}\)导通时,G4电流使C\(_{2}\)0充电,产生一直流电压,此电压与255V电源电压叠加,使加到G3的屏极电压提高近一倍,提高了行输出级效率。C\(_{2}\)0接在BH绕组3、4之间,使直流分量不流过偏转线圈,也能提高效率。行偏转线圈L\(_{H1}\)、LH2接成并联,电源从B\(_{H}\)绕组1~3的中心2接入,这样可减小行频干扰。R25、C\(_{22}\)组成S形校正电路,用以校正在大屏幕显象管中特有的S形偏转失真。调整R25、C\(_{22}\)的大小,以求最好校正效果。R22、C\(_{21}\)是提升电压滤波电路,将C20上的提升电压经滤波后输给场振荡管及显象管用。从偏转线圈一端经C\(_{23}\)、R24引出幅度为500V\(_{PP}\)左右的回扫负脉冲加到显象管加速极上,使行回扫时关闭电子束,这样扫描光栅的背景可更为清晰。G5是高压整流管,从行输出变压器高压绕组(8~9)上引出脉冲高压与G\(_{3}\)脉冲高压相加,经G5整流后供显象管第二阳极用。
电路中G\(_{2}\)(6F1)可用6F2代用,如果两种管子都没有,可用6N1代用,此时改成如图4所示多谐振荡电路,自动频率控制电路也改成一般的,这时在行输出变压器上增设一新绕组(用φ0.28毫米漆包线,绕60匝,其中一端接地),图4中P接到这个绕组上。这种电路的同步保持及捕捉范围都比上述电路小。

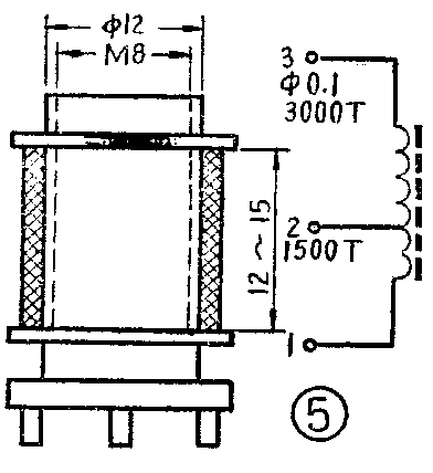
电路中电阻电容的选择与场扫描电路一样。 C\(_{11}\)宜用质量好、温度系数较小的电容,如云母电容等,否则行频易随温度变化,造成同步范围缩小。线圈L1、行输出变压器B\(_{H}\)的绕制数据及方法分别见图5、6、7。L1绕好后应浸渍石蜡或绝缘清漆,用M\(_{6}\)~M8低频磁心调节其电感量。行输出变压器的低压包层间绝缘每层用0.03~0.05毫米的聚脂薄膜,绕组与绕组间应垫三层。高压包最好用蜂房式线圈,如无成品,可用手绕法细心绕制,也可用分段绕法,可根据U型磁心的尺寸用有机玻璃或聚苯乙烯胶接骨架绕制,一般可分8~12段,每段间隔≥1毫米、边余量≥1.5毫米。高压包绕好后,将潮气烘干,然后浸渍绝缘清漆(最好清喷漆,可使干燥较透),最后灌注环氧树脂封好。如果没有环氧树脂,可多浸几次清漆(一般不少于八次),以增加绝缘层厚度。行输出变压器是电视机中很关键的元件,它的制作好坏直接影响电视机的调整及使用质量。高压包8端应是绕组靠近磁心的一端、G\(_{5}\)可直接装到行输出变压器夹板上。



图6所标绕制数据配合图1电路,使输出级总工作电流40厘米为70~80mA,47厘米为90~110mA,因此阻尼管用6Z19已足够,当然6Z18也可用,不过灯丝消耗功率要大些。行输出变压器设计计算很重要,因此绕制时不要随便变动匝数。有些23厘米混合式电视由于B\(_{H}\)数据照搬35厘米电路,结果造成幅度小,损耗大,有干扰等毛病。
L\(_{2}\)是用φ0.1~0.12单丝漆包线在电阻R21上绕100匝而成。行偏转线圈L\(_{H1}\)、LH2一般用专门绕线模绕成马鞍形,如没专用线模,可照图8做一土模绕制,效果也不差。绕制时分五段,绕好后用胶布条包扎牢,然后用40厘米整形模(见图9)根据图10所示对尺寸的要求进行整形,务使线圈与整形模密合,同时尺寸正确。整形好的偏转线圈浸渍清漆,以防变形并防潮。偏转线圈装配见图10,装配时应注意行、场偏转线圈应相互垂直。行偏转两个线圈如绕向相反,则可“头与头”相连,避免有时因漆包线质量或绝缘较差引起组间跳火现象。装配好的偏转线圈可直接套进显象管管颈上,如觉松动可在管颈上适当填些软性物质,如泡沫塑料等。



图11是35厘米、43厘米等70°偏转角所用行偏转线圈绕线模的制作图,绕线方法与场偏转线圈一样,数据可参阅一般电视书籍。

23厘米电视机行扫描电路
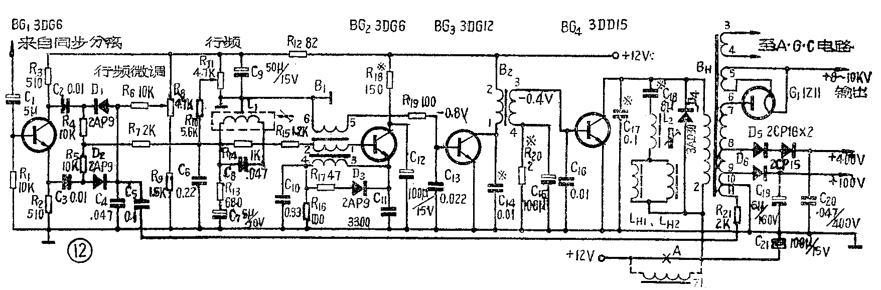
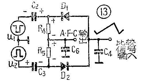
图12是28厘米(9寸)晶体管电视机行扫描电路。图中BG\(_{1}\)管等组成自动频率控制电路,这是一个平衡双脉冲型锯齿波自动鉴相器,它的输出阻抗比较低,能输出较大功率,虽然灵敏度较低些,但从稳定性方面考虑,一般还是采用这种电路。下面简单分析一下它的工作原理。


来自同步分离级的正极性行同步脉冲经BG\(_{1}\)管放大后在其集电极、发射极输出一负、一正两个脉冲电压,这两个脉冲电压我们将它看成信号源,并将自动频率控制电路单独画出,如图13所示。先不考虑来自行输出级的比较电压及D1、D\(_{2}\)的作用。输入的负脉冲u1通过C\(_{8}\)、R4向C\(_{2}\)充电,由于C6》C\(_{2}\),C2的充电时间常数很小,故在一个脉冲持续时间内,C\(_{2}\)充电到u1峰值。当脉冲过后,C\(_{2}\)通过C6、R\(_{4}\)放电,放电时在R4上产生一电压,极性如图13所示。同样正脉冲u\(_{2}\)使C3充电,放电时在R\(_{5}\)上产生电压,但与R4上电压极性正好相反,因此自动频率控制电路输出端C\(_{6}\)上无电压输出。当C4上有锯齿波比较电压加入时,D\(_{1}\)、D2的导通时间将随u\(_{1}\)、u2与比较脉冲的相位差而变,这时D\(_{1}\)、D2的导通电流也将变化,请看图14,当u\(_{1}\)、u2与比较脉冲同步时,即行频与同步信号频率一致时,由于u\(_{1}\)、u2两脉冲都叠加在锯齿波比较脉冲的逆程中间,故D\(_{1}\)、D2的导通电流相同, C\(_{6}\)上的校正电压与不加比较脉冲时一样,也为零,如图14①。当行频高于同步信号频率时,如图14②所示,D1导通电流大于D\(_{2}\) 的,结果R4上的压降大于R\(_{5}\)上的,C6上校正电压为负值,如加到NPN型的振荡管上即可使行频下降。当行频低于同步信号频率时,如图14③所示,D\(_{2}\)的导通电流大于D1的,结果R\(_{5}\)上的压降大于R4上的,C\(_{6}\)上校正电压输出为正值。

图12电路中R\(_{6}\)、R8是分压电阻,调节R\(_{8}\)可改变鉴相器的起始偏置,以改变行振荡频率。R10、R\(_{11}\)也是行频调整元件,R11的调节范围比R\(_{8}\)大,因此装置时常将R8装在电视机面板前,而R\(_{11}\)装于机内,一般将R8旋于中间位置,调整R\(_{11}\)使行同步,R11即可固定不动。R\(_{7}\)、R13、C\(_{7}\)、C6组成双时间常数的低通积分滤波器,使自动频率控制校正电压平稳,不受干扰信号的影响。用双时间常数型主要是为了克服自动频率控制电路受场同步脉冲的干扰而引起输出校正电压变化,这种变化会使光栅上方行扫描线大量偏移。R\(_{12}\)、C9是电源滤波电路,以使偏置稳定。BG\(_{2}\) 等组成共集电极间歇振荡器,间歇振荡的时间常数以发射极上RC为主,可看成是发射极时间常数型的振荡器。由于共集电极电路有较强的负反馈存在,故振荡器工作较稳定。C10、R\(_{16}\)的数值对振荡频率有较大影响。D3、R\(_{17}\),用来吸收当BG2处于间歇状态时B\(_{1}\)绕组产生的反电势,以保护BG2不被击穿。C\(_{11}\)用来吸收行频干扰信号,防止行频信号辐射干扰其它电路。为了使BG2 的集、发极直流工作电压稳定,同时进一步防止行频干扰,电路中设备R\(_{18}\)、C12组成的滤波电路。L\(_{1}\),L8、R\(_{14}\)组成一Q值较小的、谐振频率略高于行频的谐振回路,使在间歇振荡器的基极输入电压波中叠加进一小幅值的正弦电压,这样BG2基极电位上升到接近导通时的速度就加快(上升曲线变陡),从而提高了BG\(_{2}\)每次导通的正确性,振荡频率即不易受干扰影响。
在电视机行扫描电路中,间歇振荡器输出的脉冲宽度应比行回扫时间大25%~30%,即在行周期64μS、回扫时间11.5μS左右的情况下,要求脉冲宽度大于15~16μS(占空比在4左右)。一般间歇振荡器并不是都能达到这个要求的,这就要求正确设计、调整电路,也可在行激励级采取适当措施补救。如果脉冲宽度过窄,就会使行输出级截止时间不够(以上均指在反极性激励电路中), 轻者导致光栅卷边、损耗增加,重者则将造成显象管无光, 行输出管严重发热、烧毁。因此必须注意这个问题。间歇振荡器的脉冲宽度主要与图12中B\(_{1}\)匝数比、负载大小、 C10、 R\(_{15}\)、R16有关。B\(_{1}\)匝数比愈大。负载阻抗愈大,C10愈大、R\(_{15}\)愈大,R16愈小,则脉冲宽度愈宽。但上述几个参数的改变都是互相制约的, 超过一定范围非但不能增加脉宽反而导致脉宽变窄,或使输出变小。根据计算及实验,图12所示数值在B\(_{1}\)铁心采用一般小型半导体收音机用的输入或输出铁心时,输出脉冲宽度都能满足要求。如果调试中发现脉宽还不够,应首先检查BG2是否良好,或适当增加R\(_{15}\)、R19、C\(_{14}\)的数值。
BG\(_{3}\)等组成行激励级。C13、C\(_{14}\)不但可减低BG3基极及集电极上的反峰电压,还可增加激励脉冲的宽度。激励级接成反极性激励型,即当BG\(_{3}\)导通时,BG4截止,而BG\(_{3}\)截止时,BG4导通。由于反极性激励方式使变压器B\(_{2}\)绕组中始终有电流流通,因此由电感产生的反峰压很小,而且输出级对前级的影响较小,故电路结构可以较简单,工作较稳定。由于激励输出管导通的功率取自激励管导通时储存在B2中的能量,而激励管的导通时间(即脉冲宽度)较短,因此要从B\(_{2}\)中取出足够的激励功率激励行输出级,就要求激励管的导通电流大,激励管消耗的功率就较大。B2绕组的极性不可接反,否则变成正极性激励,造成激励不足的现象。
行输出级由BG\(_{4}\)等组成,工作于开关状态。R20、C\(_{15}\)是输出管的偏置元件,输出管导通时有激励电流流入基极回路,在R20、C\(_{15}\)上产生一反偏压。由于R20、 C\(_{15}\)的时间常数较大故偏置较稳定。R20的大小应调到使输出管稍过饱和点为好。如R\(_{2}\)0过大,反偏就大,易造成激励不足,而使输出管导通时达不到饱和,内阻增加,损耗就大,不但易损坏输出管,而且扫描线性也变差。如R20过小,反偏就小,激励电流过大,激励级消耗功率增加,同时输出管截止损耗也会增加。所以R\(_{2}\)0在实际装置时,要作适当调整。C16的作用是压低反峰压。C\(_{17}\)用来增加行输出变压器BH绕组分布电容,使回扫时间适当增加以减低加在BG\(_{4}\)管集、发极间的高反峰电压,这样能使对BG4管的耐压要求降低,但C\(_{17}\)不能用得太大,否则回扫时间太长,使电视图象的一部分也进入回扫期,产生图象折皱现象。同时8~10KV高压也将变低,造成亮度减小,聚焦变差等现象。一般行回扫时间应控制在不大于11.5μS。线圈L2同时兼有行线性及幅度调节作用,但主要还是幅度调节作用。L\(_{2}\)的结构见图15,调节永久磁钢与线圈的相对位置,使扫描电流增长到某一数量时线圈的磁心达到磁饱和,线圈电感量急剧降低,促使扫描电流增加,这样即可控制扫描线性。同时因为调节永久磁钢与线圈相对位置将使L2 的电感量变化,偏转线圈中的电流也变化,故可调节行幅度。C\(_{18}\)是S形失真校正电容。D4是阻尼管。D\(_{5}\)、C20组成整流滤波电路,输出400V直流电压供显象管各电极用。D\(_{6}\)、C19也是整流滤波电路,输出100V直流电压供视放末级晶体管用。G\(_{1}\)是高压整流管,如有耐压大于15000V的硅柱,则可直接代用,以简化装置。C21是旁路电容,用来旁路行频脉冲,不使通过电源干扰其它电路,该电容应在行输出级就近接地。有时由于电路装置不良或其它原因,会产生单用C\(_{21}\)不能解决行频干扰现象(如光栅出现垂直暗带等),这时可用LC滤波器,如将图12中A点断开接入阻流圈ZL,同时将C21的容量可增加到500~1000μf,这样效果更好。


行偏转线圈L\(_{H1}\)、LH2用5股0.25~0.27mm漆包线各绕36~40圈,绕制方法与上述40厘米电视机的相同。L\(_{1}\)、L2\(_{1}\)2、ZL的绕制数据及方法见附表。行输出变压器B\(_{H}\)的绕制数据见图17,装制示意见图18。高压包绕法可参阅上述40厘米电视机的有关部分。



电路中BG\(_{1}\)、BG2、BG\(_{3}\)宜用β=50~100的管子。BG1、BG\(_{2}\)的BVceo≥20V。BG\(_{3}\)的BVceo≥80V,P\(_{cm}\)≥700mW,Icm≥150mA,一般可选用3DG12、3DK4、3DG27等。注意选择饱和压降小的管子,不宜用复合管型式,否则不但饱和压降大,而且开关时间长、激励级将提供不出大的功率。BG\(_{4}\)的BVceo≥120V,β≥15, BV\(_{cbo}\)≥4V,Pcm≥10W,I\(_{cm}\)≥5A,fT≥5~10MC。BG\(_{4}\)的饱和压降大小对效率及线性的影响都很大,一般应尽量选择小的,最好Vces≤1V(I\(_{c}\)=5A时测量)。D4的反向耐压应大于120V,整流电流大于2, 内阻要小。可用2CZ型二极管或用8~10只正向电阻小的2DL型二极管并联使用。最好是用BV\(_{cbo}\)≥120V的3AD30的c、b极代替,因为内阻小,故可获得较好的行扫描线性。D5耐压要大于600V,D\(_{6}\)大于200V。
BG\(_{3}\)、BG4正常时,发热并不厉害(晶体管用图12中的型号),所以只要加小块铝质散热板散热即可,BG\(_{3}\)甚至可不加。由于一般晶体管电视机的电源电压都较低,而行输出级的脉冲电流很大,为了减小损耗,行输出级的引线要用较粗的导线,同时接线要短,否则不但损耗大,对扫描线性也有影响。8~10KV高压引出线和1Z11的灯丝引线如无高压导线,可用普通塑料电线多加三、四层塑料套管代用。行输出变压器安装位置如选择得好,可以不用屏蔽罩,或象40厘米电路中一样只用一块屏蔽板。(王德湲)