利用石英晶体做成的振荡器,它的频率稳定性很高,因此人们早已利用石英晶体做成高精度的计时工具——石英钟。随着集成电路技术的发展,电路集成度的提高,使得有可能将石英钟的体积和功耗大大的减小。本文介绍一种采用MOS集成电路的数字式石英钟(简称数字钟),它完全摆脱了一般时钟的机械结构,直接用数码管显示时间,走时精确度达到几十天误差不大于1秒。而且还可以将数字放大,用霓虹灯管来显示,这样,在广场、机场、码头、车站、礼堂等场合都可以装用。
数字钟的基本原理和电路元件
整个数字钟只使用了二十四块小规模MOS集成电路,其中六块为译码器5Y8,十二块为计数器5S2,六块为或非门5M442。

数字钟电路原理如图1所示。石英晶体振荡器产生1024千赫的正弦波,经过整形成为1024千赫的方波后,输送到分频电路。分频电路由六块5S2组成,第一、第二块5S2接成十六分频电路,1024千赫经两次十六分频,成为4千赫的方脉冲,第三块5S2接成四分频电路,第四、第五、第六块5S2接成十分频电路,这样就得了每秒1次的方波,以此作为秒信号。
秒信号经过校时门电路后,送到计时、译码、显示电路。
“秒”的显示是由二块计数器和二块译码器组成的六十进制计数电路;“分”的显示也是由二块计数器和二块译码器组成的六十进制计数电路;“时”的显示是由二块计数器和二块译码器组成的二十四进制计数电路。
下面介绍一下本文所用门电路的符号和逻辑关系,然后分别介绍一下各种分频、计数的单元电路:
1.门电路的符号和逻辑关系
数字钟用的是P沟道MOS电路,全部是按照负逻辑来设计的,对如图2所示的一个脉冲而言,其高电位为“0”电平,低电位为“1”电平。

门电路的符号见图3,其逻辑关系见图4。

2.十六分频和十分频电路
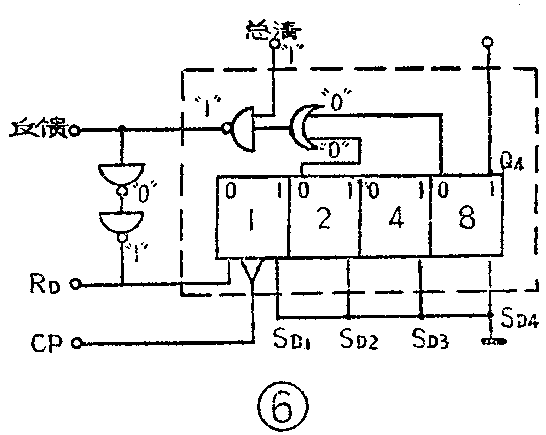
分频器可由多级双稳态连起来组成,一级双稳有二分频作用,即每输入两个脉冲输出一个脉冲,四级双稳连起来可实现2\(^{4}\)即十六分频。一块5S2计数器就包括四级二进制计数电路(即四级双稳)。图5A是5S2的方框简图、图中C\(_{1}\)、C2、C\(_{3}\)、C4就是四级二进制计数器,它们都做在同一块5S2集成电路中。把单块5S2的S\(_{D1}\)、SD2、S\(_{D3}\)、SD4、R\(_{D}\)端全部接地,就可以组成十六分频电路,见图5B,图中CP为脉冲信号输入端,V\(_{D}\)D接电源电压,Q1、Q-\(_{1}\)、Q2、Q-\(_{2}\)、Q3、Q-\(_{3}\)、Q4、Q-\(_{4}\)分别为C1、C\(_{2}\)、C3、C\(_{4}\)的输出端。


同样一块5S2计数器如将反馈端和R\(_{D}\)相连接,就可组成十分频电路,连接方法见图6。它的原理是:当CP端输入第10个脉冲时。四级二进制计数电路Q端的状态应为1010,这时Q-4、Q-\(_{2}\)端都是“0”,从图4可知,只有当二个输入端都为“0”时,或门的输出才为“0”。将总清端接“1”电平或与电源端VDD相接,因此只有在Q-\(_{4}\)、Q-2端都是“0”电平时反馈端的输出才为“1”,R\(_{D}\)端输出一个负脉冲(“1”电平),使计数器复零。在反馈端和RD之间串联了二级例相器(非门),目的最为保证电路工作稳定可靠。当CP端输入第1~第9个脉冲时,Q-\(_{4}\)、Q-2端总不可能同时为“0”电平,所以用这种连接方法可以组成十分频电路。

3.六进制和二十四进制计数电路
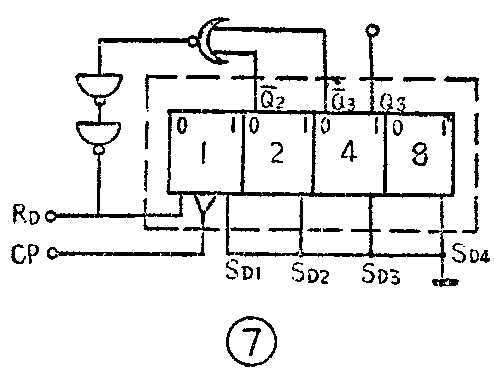
六进制计数电路由一块5S2计数器和5M442或非门电路构成,当计数器计到6时,四级二进制计数电路Q端的状态为0110,Q-的状态为1001,使或非门的输出为“1”态,经过二级倒相后将计数器复零(图7)。

二十四进制计数电路由二块5S2计数器和5M442或非门电路构成(图8),当计到24时,二个计数器同时复零。

4.译码、显示电路

图9为5Y8译码器管脚位置和功能。将5Y8译码器的输入端a、b、c、d直接和计数器5S2的输出端Q\(_{4}\)、Q3、Q\(_{2}\)、Q1相连接,再配用YS13-3型荧光数码管,就可用以直接显示出计数器的0~9十个数字来了。见图10。

5.校时门电路

当你开始使用数字钟时,数字钟的显示如和实际时间不相符,需要加以校准,在数字钟中专门设置有校时门电路、图11,它和其他部分的连接关系见图1。开关K\(_{1}\)是用以加快校准“时”的,K2是加快校准“分”的,K\(_{3}\)是加快校准“秒”的。实际上这三个开关的作用是将加快的信号接到计时电路,使得很快的就能将数字钟校准。校“秒”的部分是用二个或非门接成一个R-S触发器,在K3不接上-20伏电源时。对右边一个或非门来说被封掉了,其输出端始终是“0”电平,只有当K\(_{3}\)接上-20伏时,这个门才能让较快的校“秒”信号通过。如果不需要加快校准,那就直接用“秒信号”来校准就可以了。四个输入端的或非门只要有一个输入端有信号就有输出信号了。
其他
数字钟的MOS集成电路全部使用一组稳压20伏电源,其(+)端作公共地端,其电流不大于50毫安,整个数字钟的全部电源消耗(包括荧光数码管灯丝1.5伏电源,晶体振荡器12伏电源)不大于2瓦。由于数字钟是连续几个月甚至几年不停顿地工作的,如遇有很强的高频干扰出现时,有可能影响走时的精度,我们在20伏电源电路中加了二节LC滤波器。
数字钟不仅功耗低,体积小,而且可以很方便的作为定时控制使用,如自动报时、定时自动打铃等,同时也可以作为子母钟使用。
数字钟用荧光数码管显示,在许多大型的场合是不适用的,我们可以将其数字进行放大,每一位数字分别用八段霓虹灯管组成和荧光数码管相似的字形,用小功率可控硅等元件将直流逆变成2000~3000伏高频电压来点燃霓虹灯管,可控硅的导通由译码器来控制,因此可以使相应的霓虹灯管点燃而显示出与荧光数码管相同的数字。(上海无线电十四厂)