波澜壮阔的无产阶级文化大革命,推动着我国社会主义建设事业的蓬勃发展,群众性的科研活动更加广泛地开展起米。1970年,江苏省高淳县的薛城公社掀起了兴修水利的高潮。为了办好农村广播,使广大贫下中农及时听到毛主席和党中央的声音,由贫下中农、革命干部和革命技术人员三结合,试制成功了一种轻便的效果良好的有线广播扩音设备。在这种设备中安全可靠地甩掉了过去照例总要有的电源变压器,为在电子设备中省去电源变压器进行了大胆的尝试。经过三年多的实地使用,这种广播设备性能稳定,声音清晰宏亮。广大贫下中农亲切地称它为“高淳放大头”(电路见图1)。与同类型扩音机相比,“高淳放大头”具有轻、小、简、廉的特点。由于省去了电源变压器,为国家节约了大量的硅钢片和金属材料,从而使整机的重量、体积和成本大大降低,为普及和发展农村广播事业起了积极的推动作用。在中央和地方有关部门的关怀下,在各兄弟单位的支援下,目前我厂已批量生产这种广播设备,供农村大队和工矿、机关、学校等单位使用。

“高淳放大头”这一新生事物,是无产阶级文化大革命的丰硕成果,是广大工农群众、革命干部和技术人员遵照毛主席关于“自力更生,艰苦奋斗,破除迷信,解放思想”的伟大教导,反复进行科学实验的结果。
一、工作原理和特点
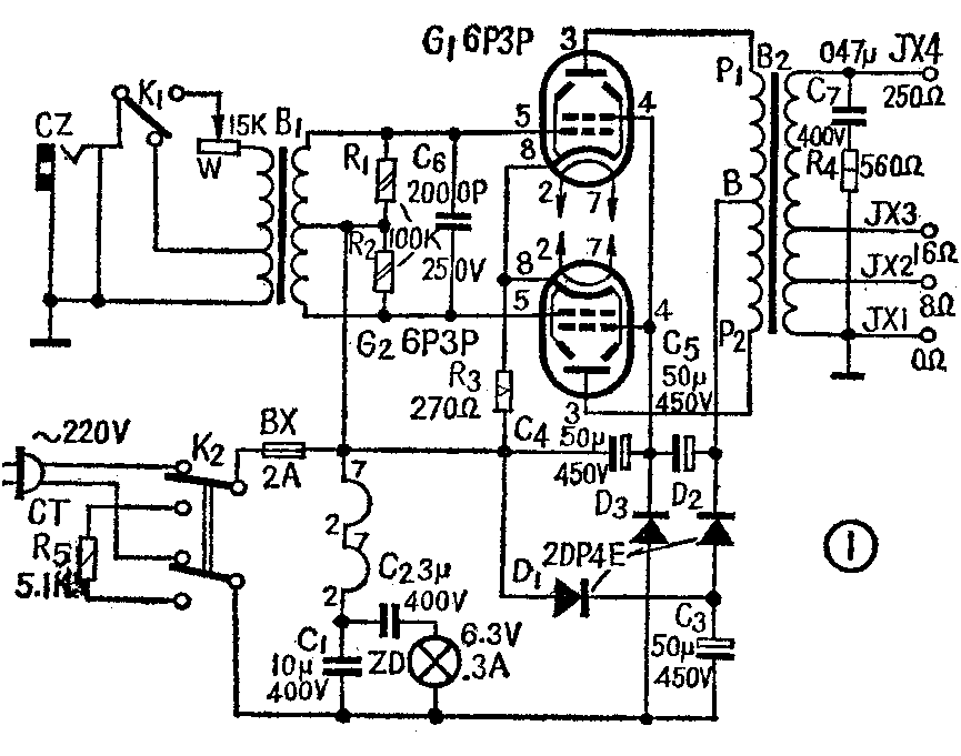
1.悬浮功率放大器:一般电子管扩音机都要使用电源变压器,将220伏市电电压转变成电子管工作时所需的各种电压;同时通过电源变压器将电网的火线与机器隔离,以确保使用安全。因此要去掉电源变压器,必须做到:使用安全;具有一定的功率;满足质量指标的要求。在一般电子设备中,电源变压器又大又重又贵,而且本身就要消耗一部分电能。要为贫下中农设计出一种轻、小、简、廉的扩音机,去掉电源变压器就是一个途径,但要去掉它却又有极大的困难,能不能在保证上述要求的前题下去掉它呢?经过反复实践证明,采用“悬浮功率放大器”这一设计原理,可以达到上述目的。

大家知道,传统的设计观点总认为,任何电子设备只能有一个公共的电位参考点——公共地线,而高淳放大头却采用了三个互相绝缘的电位参考点。图2中单元〈1〉〈2〉〈3〉各有一个电位参考点。假设单元〈2〉为消耗功率最大的功率放大单元,电源直接从这里输入。由于单元〈2〉和〈1〉、〈3〉之间有变压器B\(_{1}\)2的隔离作用,单元〈1〉和〈3〉是和电源隔开的,它们是安全的不带电单元,只要把外壳和操作部分与安全单元相连接,就不会发生触电事故,而信号却可通过B\(_{1}\)2的磁场耦合来传送,因此机器仍能可靠地工作。这就是悬浮功率放大器的原理。悬浮的意思就是设法把机器中电压较高有触电危险的带电部分单独隔离起来。
2.整机服从于电源:过去的机器总是根据整机的要求来配电源电压,因而需要用电源变压器来变换适当的电压,现在却要求整机服从于电源。由220伏交流电压直接或倍压整流得出的直流电压一般为300伏、600伏、900伏……,如选用屏压为600伏,帘栅压为300伏的管子,就不必经过变压器变压,从而简化电路,节省元件,减少损耗和降低成本。为了适应这种需要,高淳放大头的电源电路还采用了箝位整流电路(见图3)。这种电路从线路上看如去掉D\(_{3}\)(图3右图),就是普通的倍压电路。这里C5、C\(_{4}\)采用两只电解电容器串联,再由D3和C\(_{4}\)组成一个半波整流器,给C4充上300伏电压,从而将B点的电位稳定地箝制在300伏上,用以提供帘栅压。实际上这个电路就是半波倍压电路和半波整流电路的叠加。

3.灯丝供电问题:灯丝供电采用了容抗镇流原理,见图4。

在U\(_{c}\)>Uf的条件下,可作如下简单计算:
∵I\(_{c}\)=Uc/X\(_{c}\) Xc=1/2πfC(f=50赫)
∴C=(1/314U\(_{c}\))·Ic(法拉),
根据我国电源情况可选用U\(_{c}\)=210伏。
∵I\(_{c}\)=I
∴C=(10\(^{6}\)/314×210)×I\(_{f}\)≈15If(微法)
其中I\(_{f}\)是灯丝电流,单位为安培。
由上述可知,电容的选取基本上取决于灯丝电流,而与灯丝电压关系不大(U\(_{f}\)在0~100伏以内可以不考虑)。由于电容器瞬态工作过程,将有较大的充放电冲击电流通过灯丝,这会不会引起灯丝的烧毁呢?大家都知道,一根细的导线却可以通过瞬态电流强度很大的脉冲电流。实践告诉我们,灯丝的烧毁要经过一个发热点亮—白炽—熔断的过程,当灯丝的加热时间常数远大于电容充放电时间常数时,瞬态的冲击电流甚至不能使灯丝加热到正常工作温度。旁热式电子管的灯丝阴极系统热沉较大,因而其加热时间常数也就更大。所以,在合理的运用状态下,电子管是可以正常工作的,寿命也可以保证。我们使用的曙光电子管厂生产的6P3P管从1970年使用至今仍然正常工作。
二、电路简介及元件数据
“高淳放大头”采用两只6P3P电子管组成甲乙1类推挽电路(见图1),因而放大器的灵敏度和效率较高,所用元件少,线路简单,使用、维修、装置都很方便,特别适宜农村大队作有线广播增音使用。如将放大头配上一部半导体收音机,稍加改装作为前级,可在中小型会场、工矿、学校作小片广播扩音及转播电台广播等用。
功放管G\(_{1}\)、G2也可以使用FU—7、6P32P等各型功率管(参看本刊1974年12期18页),只要将管座改动一下即可。按电子管手册规定6P3P屏压为450伏,帘栅压为300伏,此种电路为高内阻电源,实际工作屏压为550伏左右,看来是高了一些,然而只要适当控制屏耗,即适当控制推动信号强度和选用合适的负栅偏压便不会出现屏红和跳火现象。
考虑到农村电网电压波动较大,又因容性负载的瞬态充电电流较大,为提高可靠性,D\(_{1}\)、D2、D\(_{3}\)选用2DP4E硅高压整流二极管,其最大整流电流为500毫安,反峰压为1000伏。电解电容器C3、C\(_{4}\)、C5起储能滤波作用,规格选用50微法,耐压450伏。灯丝电容器选用耐压400伏的金属化纸介电容器,C\(_{1}\)为10微法、C2为2~3微法,C\(_{1}\)与C2并联使用。G\(_{1}\)、G2两管灯丝串联,要求控制灯丝电压在6~6.3伏之间(不可偏高)。指示灯选用0.3A/6.3V或0.15A/6.3V的插口灯泡。由于指示灯XD带电,我们选用外形稍大而绝缘强度较好的指示灯盒。C\(_{6}\)并联在栅到栅之间,起改善频率特性的作用。C7、R\(_{4}\)为阻容吸收回路,防止输出变压器因开路而击穿。R5为泄放电阻。R\(_{3}\)为阴极电阻,要采用耐潮被釉线绕电阻。为降低成本和简化电路,便于农村广播员维修,我们采用自给偏压方式,栅偏压为-23伏左右。由于带有强电流负反馈,虽然失真度在10%左右,但放大头主观听觉良好。

B\(_{1}\)2为输入、输出变压器,既有传输信号的作用,又将带电部分隔离开来,所以要求初、次级之间的绝缘良好。输入变压器采用塑料骨架、E\(_{6}\)铁心,铁心截面积6×12毫米\(^{2}\),具体数据如图5。初、次级之间采用聚酯薄膜绝缘。输出变压器采用10瓦或15瓦市售输出变压器,屏到屏负载阻抗约为9千欧左右。
本机装有高低阻转换开关,高阻为有线广播增音用,即放大广播线传来的广播信号;低阻与半导体收音机配套。W为音量控制电位器,只对高阻进行衰减。为便于农村用作会议扩音和收音,目前我厂选用南通无线电厂生产的友谊牌701型半导体收音机,配上一只话筒座、一只阻抗变换变压器、一只转换开关,作为配套前级。
三、技术指标
额定输出功率:不小于40瓦。
失真度:1000赫时10%左右。
频率响应:150赫~8千赫内±2分贝。
杂音电平:小于-60分贝。
输入电压:高阻(输入阻抗1.5千欧)时小于15伏,输入电压大于30伏时可由机内衰减;低阻(输入阻抗50欧)时小于2伏。
输出阻抗:8欧;16欧;250欧。
连续工作时间:10小时。
电源消耗:小于100瓦(220伏,50赫)。
重量:约3.5公斤。
外形尺寸:240×140×150毫米\(^{3}\)。
四、内部结构及制作工艺
内部结构详见本期封底。全部支架底板和外壳采用1毫米铁板制成。在设计中考虑到电子管的散热条件,体积大小适当。灯丝电容器和电解电容器远离热源。输入、输出变压器远离电源部分,以减小感应交流声。各带电元件都加强了绝缘,电解电容器外壳加上了聚氯乙烯套子,外面再加绕两层0.3毫米厚的聚脂薄膜复合绝缘纸。输出、输入变压器的铁心与绕组、绕组与绕组之间的绝缘强度都要求达到1.5千伏、50赫1分钟不击穿。

五、维修及使用注意事项
开机前应先接好负载,将电源插头接插牢靠。开机后观察指示灯是否发亮,待电子管预热后便可输入信号。如遇机器发生故障,应先关闭电源开关,拔下电源插头,然后检查输入信号和输出负载是否正常,再检查电源插头插接是否良好,电源电压是否正常。对于机器本身的检修,在发生故障后可拔去电源插头,先用导线短接一下几只电容器的正负极,放去电荷,然后用万用表逐一检测各元件质量,更换损坏的元件便可修复。严禁开机带电修理。
电子管G\(_{1}\)、G2各极正常参考数值为:灯丝6.3伏;屏压550伏;帘栅压300伏;栅负压-23伏。
指示灯是串接在C\(_{2}\)的回路之中,如果指示灯烧毁,则将影响6P3P的灯丝电流,致使灯丝电压不足,输出功率显著下降,所以应及时更换0.15安~0.3安的指示灯泡。如一时找不到,在应急情况下可将指示灯座两端短接。
前级半导体收音机以普通便携式有两级低放的七管机为宜,这样低放增益较高,用话筒广播时灵敏度也可以提高。使用话筒广播时,应注意喇叭不要放得与话筒靠近,以免引起声音回输而出现啸叫。
“高淳放大头”是一种新型的广播设备,在电路和结构等方面还需要不断改进,我们希望广大工农兵群众多提改进意见,使这一新生事物不断改进,日趋完善。(江苏高淳电子仪器厂)