我校广大师生在开门办学当中,通过深入到附近生产队向贫下中农学习、进行调查研究,发现在农业上经常使用的黑光诱虫灯虽然作用很大,受到广大贫下中农的欢迎,但在使用上有不方便之处,比如:为了节约用电和延长黑光灯的使用寿命,白天应将灯关闭,夜间应将灯启辉;而在夜间使用时,由于风天、雨天害虫很少出来活动,再使灯关闭,雨过风停后害虫又出来活动,就需要将黑光灯启辉。黑光灯这样频繁地启闭是浪费许多人力的。了解到这种情况后,我们黑光灯小组急贫下中农所急,决心试制一种自动启闭的黑光诱虫灯。没有经验怎么办?我们一方面虚心向贫下中农学习,一方面参考有关资料,大家一起动脑筋,大胆试验,终于用普通的材料制成一种具有光控、风控、雨控装置的黑光诱虫灯。这种灯天亮时自动关闭,天黑时自动启辉;夜间下雨或刮风(三级以上)害虫不出来活动时自动关闭,雨过风停又自动启辉诱杀害虫。实践证明,这种装置动作可靠,可以节约很多劳动力,下面就讲讲这种装置的简单原理和制作、调整方法。
原理
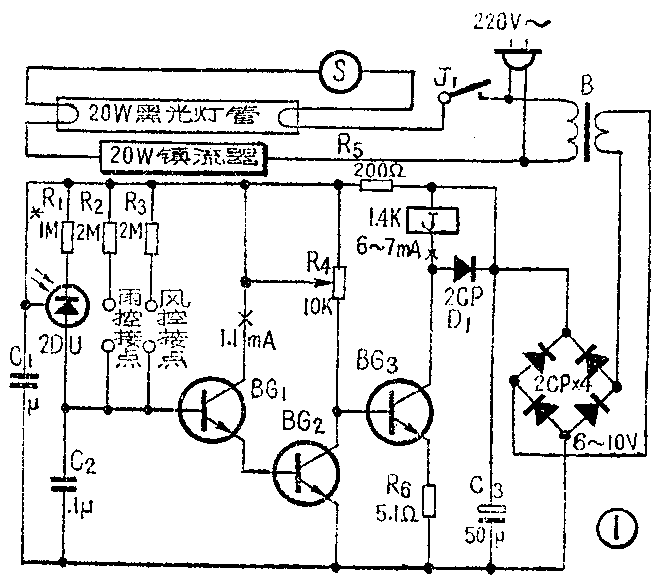
黑光灯的光控、风控、雨控电路如图1所示。它的基本道理是通过光电二极管、风控接点、雨控接点的断开和接通来控制继电器J的吸合或释放,也就控制了黑光灯管的启辉或关闭。

①光控。光控的目的是为了在白天使黑光灯关闭,夜间灯管自动启辉。
在夜间无风无雨的情况下,因为光电二极管无光照射,内阻很大,这时风控和雨控接点未接通,于是晶体管BG\(_{1}\) 、BG2 处于截止状态,BG2的集电极和发射极间相当于开路,这时通过R\(_{4}\)给管子BG3的基极注入一个合适的偏流,使BG\(_{3}\)导通并达到饱和,于是BG3的负载——继电器J吸合,触点J\(_{1}\)接通,黑光灯启辉;当天亮时,光电二极管受光的照射,内阻显著下降,于是电源通过R1和光电二极管给晶体管BG\(_{1}\)注入一个偏流,BG1导通,BG\(_{2}\)也随之导通并很快进入饱和状态,此时Uce2≈0,BG\(_{3}\)的基极相当于接电源的负端,于是使BG3退出饱和状态并很快截止,继电器J释放,J\(_{1}\)断开,黑光灯则关闭。
②风控。我们制作的风控装置如图2所示,它由一个风动叶片和一个金属铜环及固定络组成。风动叶片上端有一个小的铁的圆柱体,这是风控装置的一个接点,另一个接点是一个金属铜环。当有三级以上的风时,叶片被风吹动倾斜,使叶片上端的圆柱体和固定在灯罩上的铜环接触,风控接点闭合,使黑光灯关闭;风停时,风动叶片不再倾斜,圆柱体和铜环也就不再接触,接点断开,黑光灯亮。

③雨控。雨控的道理也很简单,我们利用雨水是导电的这个普通道理,把两个作为接点的金属片装在灯罩下面,注意两金属片不能相碰,当下雨时,灯罩上的水只要滴到两个金属片间,两金属片就会立刻接通,使黑光灯关闭;雨停后,两金属片之间的水珠经过一段时间蒸发掉,雨控接点断开,黑光灯则又启辉。因为两金属片之间距离只有2毫米左右,所以只要滴上一滴水就可接通,控制起来是很灵敏可靠的。
由于天长日久,风控装置的铜环和圆柱体以及雨控装置的金属片容易受潮生锈,所以这些元件最好进行电镀处理。
制作和调试
①元件选择:对晶体管BG\(_{1}\)和BG2无特殊要求,我们是选择的业余品硅管3DG6和3DG404A;BG\(_{3}\)应根据所采用继电器的吸合电流大小来选择,我们采用的是一个旧的小型灵敏继电器。它的直流电阻为600欧,吸合电流为6毫安,因此BG3采用硅管3DG404A;本文采用的光电管为2DU型,读者也可用去掉漆皮的三极管来代替;四个整流二极管和继电器绕组两端并联的二极管可采用2CP型的;电源变压器B采用市售电铃变压器。
②组装和调试:按照电路图把所有元件焊在一块胶木板上,先不要把继电器的触点J\(_{1}\)与220伏市电接通。反复检查电路无误后,将电位器R4调到最大值,然后接通电源,旋转电位器,使继电器吸合。这时把风控或雨控接点接通,应看到继电器的触点断开。如果继电器不释放,则找一块万用表,将其25毫安档串接在继电器绕组电路里,观察当风控或雨控接点接通时,电流有无变化。若电表指针没有变化,则说明电路接错或有虚焊、元件损坏等可能:若电流有变化,但继电器不释放,则说明BG\(_{3}\) 没有截止,即BG2还没有达到饱和,这时应调整风控或雨控接点支路中的电阻R\(_{2}\)或R3,以增加晶体管BG1的偏流值,使BG\(_{2}\)充分饱和,继电器释放为止。对于光控电路,如遇这种现象,也同样可以用调节R1来解决。本电路BG\(_{1}\)的直流工作点电流为1.1~1.2毫安;BG3的直流工作点电流为6~7毫安。
光控、风控、雨控调好后,把继电器的触点与220伏市电接通,观察黑光灯的启辉与关闭,看是否正常。若工作正常,就可把这块胶木板安装在灯罩下面,并且把雨控、风控装置也装在灯罩旁边,光电管装在灯罩上面。为了保护光电二极管可用一个玻璃小瓶把它罩起来,如图3所示,最后把胶木板上的风控、雨控,光电二极管的接线都固定好。

应指出,由于风力的大小不断变化,会造成风控接点时断时通,黑光灯管忽暗忽亮,还须进一步改进。 (北京市岳各庄中学黑光灯小组)