煤炭中混杂有铁件等金属物,是电厂燃运系统的一个隐患,经常打坏碎煤机,也使风扇磨发生事故,妨碍安全运行。我们在厂领导的支持和老工人帮助下,试制了晶体管金属探测分离器。它能在输煤皮带运行过程中,自动检测和分离混在煤里的金属;和老式的大型电磁分离器相比,具有体积小、重量轻、造价低、灵敏度高、耗电省等优点。
金属探测分离器包括探测部分和分离部分,工作原理可由图1简单说明:探测线圈套在输煤皮带上,混有金属的煤经过线圈时,探测部分便发出信号,使一个犁式分离器动作,把混有金属的一小段煤刮掉。

探测部分 由振荡器、检波器、射极跟随器、放大器及双稳态触发器等组成,电路如图2所示。BG\(_{1}\)构成电容三点式振荡电路,振荡频率为1千赫。振荡线圈用做探测线圈。当有金属通过线圈时,立刻被磁化,造成涡流损失,使振荡幅度变化。振荡器输出由D1、D\(_{2}\)倍压检波后,变为一个近似音频的调制信号。这个信号经BG2、BG\(_{3}\)两级射极跟随器送到BG4、BG\(_{5}\)两级放大器放大。为了取出这一放大了的变化量,采用LC滤波电路(L\(_{2}\)、C10),滤除残存的交流成分,这样就得到一近似于方波的直流变化量。然后又经BG\(_{6}\)、BG7两级射极跟随器,送到由C\(_{11}\)、R14组成的微分电路,将方波变成尖脉冲,用来触发下级双稳态触发器。双稳态触发器由BG\(_{8}\)、BG9组成,无金属物通过探测线圈时,BG\(_{8}\)截止,BG9饱和;一旦有金属物通过探测线圈,微分电路输出端产生的负尖脉冲便使双稳态触发器翻转,接在 BG\(_{8}\)集电极回路中的小电流继电器LJ就动作了,进而推动分离部分的控制系统工作。探测部分工作过程就是这样。

对图2电路还有以下几点要说明:
1.为了提高探测灵敏度,振荡管BG\(_{1}\)的工作点选得靠近截止区。为了克服环境温度对振荡器的影响,用非线性元件R2做温度补偿。
2.振荡线圈用4×0.57mm高强度漆包线在绝缘性能良好的胶木骨架上绕200匝,线圈宽度7cm,面积800cm\(^{2}\)。
3.采用两级射极跟随器作为振荡器与放大器之间、放大器与双稳态触发器之间的隔离级,既起到较好的隔离作用,又获得了良好的阻抗匹配。
4.放大器用阻容耦合电路。考虑到频率的关系,交连电容容量较大。为取得较高增益,选用β值较高的管子。
5.为了保证双稳态触发器在常态下处于B\(_{G}\)8截止、BG9饱和的状态,BG\(_{8}\)基极对地间接入一个置零开关K1(K\(_{1}\)实际是装在犁式分离器上的行程开关)。
6.电源部分采用BG\(_{1}\)0、BGll组成的稳压电源,使输出电压基本上保持恒定(21.5V)。电源变压器B用BK-100型。滤波电感L\(_{3}\)可自绕,也可用电子管收音机的输出变压器代替。对探测部分的供电电源要求比较高,因为探测信号是靠金属物通过振荡线圈使振荡电压产生极微弱的变化得到的;若电源电压稍有波动,同样会使振荡电压发生变化,导致犁式分离器误动作。采用图2中示出的稳压电源可防止上述误动作,如果电网电压波动较大,可在电源输入端再加用交流稳压器。
分离部分“为什么人的问题,是一个根本的问题,原则的问题。”技术革新必须和生产实践结合,为生产服务,讲究实效。有了前面的探测部分,只能起发现金属物的作用,而不能取出它;要取出来,必须停车,这就会影响生产。为了解决这个问题,我们在电工师傅帮助下,模仿把输煤皮带上的煤装进煤仓的装置,制成了梨式分离器。它是用金属板做成耕地用的犁的式样,横放到输煤皮带上,用一块行程电磁铁控制犁的上下,电磁铁电源则由探测部分来的信号控制(参阅图1)。当发现金属时,电磁铁接通电源,犁式分离器就把金属物刮到皮带两旁的煤斗里了。
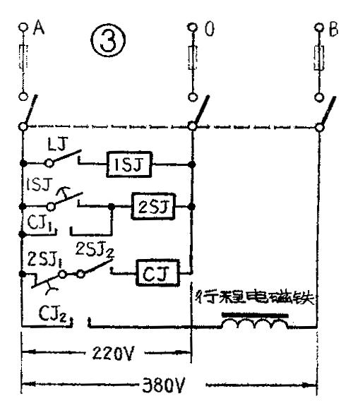
分离部分的控制系统由两个时间继电器(1SJ、2SJ)、交流接触器(CJ)和行程开关(K\(_{1}\))组成,见图3。时间继电器的作用是控制犁下落及停留在皮带上的时间。交流接触器启动负载——行程电磁铁。行程开关K1(图3中未画出)装在犁上,借犁的力量完成自动置零任务,就是前边提到的置零开关。当探测部分发出信号时,小电流继电器LJ常开接点闭合,启动时间继电器1SJ。 1SJ的接点经一定延时后闭合(延时长短由犁式分离器与线圈的距离、传送速度等决定),启动了2SJ。2SJ有一对瞬时转换接点(2SJ\(_{2}\))和一对延时断开的常闭接点(2SJ1)。2SJ动作后, 2SJ\(_{2}\)立即闭合,启动接触器CJ。CJ的接点CJ2闭合,启动负载行程电磁铁,带动犁动作。犁一落下,行程开关K\(_{1}\)就闭合置零。这时LJ断电,1SJ也断电,但2SJ因CJ的另一对接点CJ1联锁仍在工作,因此接触器CJ也不会断电,犁停留在皮带上。一直到2SJ\(_{1}\)经一定延时后断开,使CJ和行程电磁铁均断电,犁才抬起。整个控制系统就又回到了初始状态。

继电器、交流接触器、行程电磁铁、行程开关等电气元件型号如下:1SJ——DS122 220V~,2SJ——JS7—2A,CJ——CJO——20A,行程电磁铁——MQ1—5141,K\(_{1}\)——LX1—11H,LJ——RG 4509025 MX49。
应用效果 探测分离器对不同金属有不同的效果。一般说来,对铁磁性金属物灵敏度最高。对这类金属物,凡是直径在5mm以上,沿线圈法线方向上的“卡度”——指它的长度和它与线圈法线所成角度的余弦之积——在100mm以上的,均能被探测分离出来。若为球形或短粗状的,体积只要大于8cm\(^{3}\),也能被探测分离。(陕西延安电厂工人 胡仪之 林杰)