讨厌的沙沙声
当我们打开晶体管收音机收听广播时,常常会听到机内发出一种令人讨厌的沙沙声,影响收听效果。这种沙沙声可以分成两种情况:一种是收听远地电台时,夹杂着严重的沙沙声;信号越弱沙沙声越严重,无信号时沙沙声也随之消失。这种情况与电子管收音机的调变交流声相似,为了叙述方便,我们不妨叫它做调变沙沙声。另一种是打开收音机后,满度盘上都有较严重的沙沙声,与有无电台信号无关,我们称它为非调变沙沙声。晶体管收音机的上述两种沙沙声是如何产生的,怎样才能减弱它,是自制与检修收音机时需要解决的实际问题。
沙沙声的来源
把晶体管收音机放在工厂的屏蔽室内,在没有任何外来信号输入的情况下接通电源,我们会发现收音机仍有沙沙声发出。这就告诉我们,沙沙声不是外来的杂音干扰,而是收音机本身的噪声所引起的。
收音机本身的噪声包括电路中的热噪声和晶体管噪声两种。收音机中有许多电阻,由于电阻内自由电子不规则的热运动,在它的两端就呈现一个随时间改变的不规则的噪声电压,这就是电路中的热噪声。热噪声频谱很宽,也就是说是由多种频率——从低频直到超高频的交流电成分组成的,因此能通过收音机的各个通道,最后使喇叭发出沙沙声。考虑到这种热噪声对收音机的影响比晶体管噪声的影响要小些,而且难以降低,所以下面着重分析晶体管噪声引起的沙沙声。
晶体管噪声比较复杂。它的频谱同样也很宽,就产生原因讲,主要是载流子(电子和空穴)不规则的热运动及有电流流动时载流子的起伏造成的,而且随工作电流加大噪声也加大;就能量分布情况讲,主要集中于低频段。在晶体管收音机中,低放部分晶体管的噪声,可以直接通过低频放大电路使喇叭发出沙沙声。这种沙沙声与外来信号无关,属于非调变沙沙声。因为收音机低放部分增益较低,所以只有当低放管噪声过大时,才会引起严重的沙沙声。收音机变频与中放部分晶体管的噪声,其低频成分不可能直接通过中频放大器;接近中频的成分则可通过中放,经检波、低放后使喇叭发出沙沙声。它同样与外来信号无关,也是非调变沙沙声。变频管和第一中放管位于收音机前级,以后各级总增益相当高,噪声可大幅度放大,因此,整机的非调变沙沙声主要是由变频管和第一中放管噪声产生,同时也要顾及第一低放管噪声的影响。
下面再来看看调变沙沙声是如何产生的。变频管产生的噪声中,有的频率和外来信号相差一个中频左右,与外来信号差频,得出频率为465千赫附近的噪声成分。例如当收音机收听1000千赫的电台时,频率为535千赫附近和1465千赫附近的噪声成分,分别与1000千赫的信号差频,都能得出频率为456千赫附近的噪声成分。由于这两部分噪声成分的加入,使整机噪声骤增。上述现象,就好象噪声调制到信号上去了。它引起的沙沙声与外来信号强弱有关:当收音机收听强电台信号时,由于自动增益控制电路的作用,整机增益下降,噪声得到的放大量小,沙沙声就小些;当没有外来信号时,前边谈到的差频过程也就不存在了,沙沙声随之消失。这就是调变沙沙声产生的途径及随外来信号强弱变化的原因。中放管噪声也有类似调制作用,但要弱得多。
综上所述,晶体管收音机发出沙沙声,是噪声在作怪,那么,又怎样来减弱沙沙声呢?
减弱沙沙声的方法
下面以一般超外差式晶体管收音机为例,介绍几种减弱沙沙声的方法。
减弱调变沙沙声的方法:针对变频管噪声是调变沙沙声的主要来源以及信号强时沙沙声小的特点,可以从下面几个方面采取措施:
1.更换变频与中放级噪声过大的管子。变频管与中放管穿透电流I\(_{ceo}\)急剧变大后,管子噪声将明显增大。在检查变频与中放各级工作点时,如发现某一管子集电极电流超出正常范围很多,就应测量该管穿透电流Iceo,I\(_{ceo}\)若大于200微安,应予更换。无条件测量Iceo时,可用万用表的R×1K档量集电极与发射极间反向电阻,其阻值小于50千欧,需更换管子。如没有质量较好地晶体管的话,可将质量差的管子从第一级中放换到第二级中放上。注意,多波段收音机采用较高截止频率的变频管,不宜与中放管对换使用。
2.选择合适的变频管集电极电流。图1为中波段变频电路。变频管集电极电流I\(_{c}\)与噪声系数Nf(衡量噪声大小的一个数值,该数值大,表示噪声大)、变频增益K\(_{P}\)的关系如图2所示。从图2可见,变频管Ic过大,N\(_{f}\)将增加,而KP减小。因此在选择I\(_{c}\)时要兼顾KP与N\(_{f}\),使KP较大和N\(_{f}\)较小。变频级的集电极电流值一般选0.4~0.7毫安。


3.提高输入回路的Q值,改善输入回路与变频级的匹配情况,能明显降低沙沙声。这是从提高信号强度考虑的措施。对信号显著减弱而沙沙声增大的收音机,应首先检查磁性天线线圈L\(_{1}\)有无断股,因多股线部分断股会使L1的Q值大大下降。其次检查L\(_{1}\)在磁棒上的位置有无变动,如离开原来蜡封的位置,造成低端统调不良,也会使输入信号下降。另外,有条件时可测试一下BG1的输入阻抗,如果阻抗较高,可将L\(_{2}\)增加二到三圈;如果阻抗较低,可将L2减少一到二圈。也可以绕一个有抽头的线圈直接试验。
4.合理调整本机振荡的强弱,提高变频增益,对降低沙沙声同样有一定效果。因为本机振荡太弱或太强都使变频增益下降,使调变沙沙声增大。调整方法:(1)调整本振线圈的反馈圈数;(2)调整电容C\(_{7}\)(见图1),中波段C7可以在5100微微法到0.01微法之间选取;(3)在变频管集电极与本振反馈线圈之间串一个390Ω~1KΩ的电阻,串联电阻阻值愈大,本振电压下降愈多。
减弱非调变沙沙声的方法:
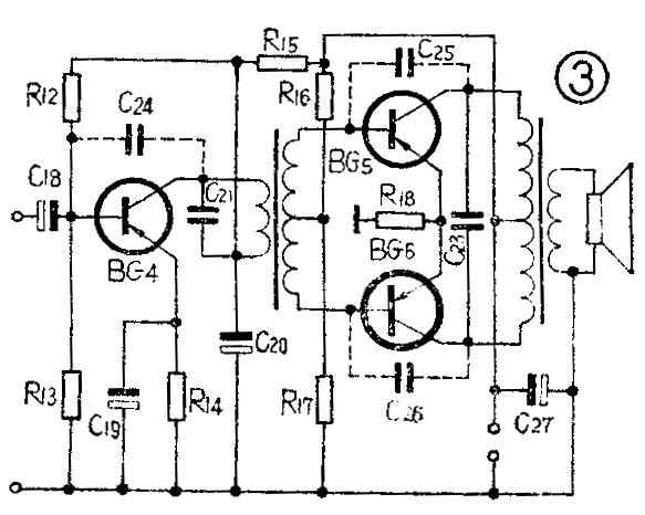
1.利用电容短路法找出产生沙沙声的管子。具体步骤是:将音量电位器置于最小值,此时喇叭发出的沙沙声即是低频电路中的噪声所引起的。用一个10微法以上的电解电容,分别短路BG\(_{4}\)、BG5、BG\(_{6}\)的基极与发射极。当短路到某一管子,沙沙声突然明显减弱或消失时,沙沙声就主要是由这个管子产生的。检查该管的穿透电流,如过大,应予更换。
2.利用电压负反馈减弱沙沙声。沙沙声在音频段的高频端能量较强,采用电压负反馈能减弱它的强度。收音机非调变沙沙声不很严重时,可以用1000微微法到5000微微法的电容分别跨接在BG\(_{4}\)、BG5、BG\(_{6}\)的基极与集电极进行试验。图3中C24、C\(_{25}\)、C26就是用来压低沙沙声的负反馈电容。实际采用时只须加在效果明显的那一级上。推挽级C\(_{25}\)、C26容量应相等。(徐燕桥)
